Стабильность пути железнодорожных линий в большой мере зависит от качества уплотнения грунтов, осуществляемого в процессе сооружения земляного полотна. При недостаточном уплотнении возможны неравно-мерные осадки и деформации основной площадки. В настоящее время предусмотрено строгое нормирование плотности грунтов в теле вновь со-оружаемой насыпи.
Излагаемый в данном разделе материал основывается на знании кур-са механики грунтов, поэтому здесь не приводятся развернутые определе-ния физико-механических свойств грунтов и способы их определения.
49
В дальнейшем используются следующие условные обозначения:
W – влажность грунта, %;
Wт – влажность на границе текучести, %;
Wp – влажность на границе раскатывания, %; Wo – оптимальная влажность, %;
– объемный вес влажного грунта, г/см3;
– объемный вес скелета грунта (плотность), г/см3;
н – нормативная плотность, г/см3;
max – максимальная стандартная плотность, г/см3; – удельный вес грунта, г/см3; в – удельный вес воды, г/см3; К – коэффициент уплотнения;
К1 – коэффициент относительного уплотнения.
Эффективность уплотнения зависит от рода грунта, его влажности, толщины уплотняемого слоя, грунтоуплотняющей машины, технологии возведения насыпи, а также от температурных условий во время производ-ства работ.
Степень уплотнения грунта характеризуется коэффициентом уплот-нения К, равным отношению фактической плотности δ к максимальной стандартной плотности δmax; последняя определяется в лаборатории при соответствующих условиях стандартного уплотнения:
= δ / δmax.
Контроль качества уплотнения грунта в процессе возведения насы-пи заключается в систематическом сравнении фактической плотности грунта с нормативной плотностью; при этом должно соблюдаться усло-вие:
δн .
Нормативная плотность определяется из условия:
δн = К δmax .
Максимальная стандартная плотность грунта (δmax) определяется в результате проведения испытания грунтов в лабораторных условиях либо методом определения ориентировочного значения максимальной стан-дартной плотности и оптимальной влажности грунтов. Термин стандарт-ная плотность подразумевает затрату определенного количества работы на уплотнение образца в определенных условиях.
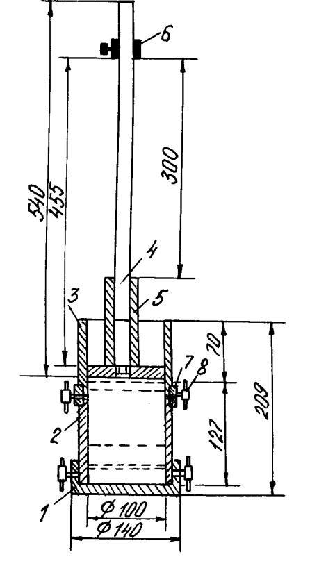
лаборатории стандартное уплотнение грунта производится с по-мощью прибора стандартного уплотнения (рис. 4.1), который состоит из следующих деталей: подстаканника 1; разъемного стакана 2 вместимостью
50
1000 см3, диаметром 100 мм и высотой 127 мм; верхнего стакана (насадки) 3; стойки с уплотнителем 4 (вес стойки с уплотнителем 1,4 кг); груза 5 ве-сом 2,5 кг; ограничительного кольца 6 с винтом и зажимного кольца 7 с зажимными винтами 8.
|
Заполнение прибора рыхлым грунтом |
|
|
|
|
|
|
|
|
||
|
производится в три приема равными пор- |
|
|
|
|
|
циями и таким |
образом, чтобы толщина |
|
|
|
|
уплотненного слоя составляла 1,3 высоты |
|
|
|
|
|
стакана. Повышение уплотненного грунта |
|
|
|
|
|
над кромкой разъемного стакана после уп- |
|
|
|
|
|
лотнения трех слоев не должно быть бо- |
|
|
|
|
|
лее 1 см. |
|
|
|
|
|
Уплотнение |
грунта в приборе произ- |
|
|
|
|
водится ударами груза весом 2,5 кг, свободно |
|
|
|
|
|
падающего по штоку с высоты 30 см. При |
|
|
|
|
|
этом каждый слой уплотняется числом уда- |
|
|
|
|
|
ров, равным 1/3 от общего числа ударов, на- |
|
|
|
|
|
значенного для уплотнения. |
|
|
|
|
|
Общее число ударов для песка и супе- |
|
|
|
|
|
сей – 75, для пылеватых супесей, суглинков |
|
|
|
|
|
и глин –120. |
|
|
|
|
|
После этого определяются влажность и |
|
|
|
|
|
объемный вес грунта в стакане. Далее опера- |
|
|
|
|
|
Рис. 4.1. Прибор стандартного |
|
|
||
|
ции по уплотнению повторяются, причем |
уплотнения |
|
|
|
|
каждый раз увеличивается влажность грунта. |
|
|
|
|
|
|
|
|
||
|
Влажность |
грунта определяется по двум пробам, отбираемым в |
|
|
|
бюксы из внутренней части уплотненного образца.
Испытание повторяется до тех пор, пока объемный вес влажного грунта не станет уменьшаться. После окончания опыта и определения влажности вычисляется объемный вес скелета грунта (плотность δ), г/см3:
δ = γ / (1+ 0,01∙ W),
где γ – объемный вес влажного грунта;
W – влажность, %.
На основании данных, полученных в результате испытаний, вычер-чивается кривая зависимости плотности грунта от влажности (рис. 4.2). По этой кривой определяется максимальная стандартная плотность. Соответ-ствующая этой плотности влажность является оптимальной влажностью грунта.
дополнение к основному методу при текущем контроле качества уплотнения грунта можно ориентировочно определять максимальную стандартную плотность и оптимальную влажность расчетным методом, не прибегая для всех образцов к стандартному уплотнению их в приборе.
51
Рис. 4.2. Кривая стандартного уплотнения
этом случае максимальную плотность δmax определяют по форму-ле, г/ см3:
δmax = ( – (1 – 0,01∙V)) / (1 + ∙ 0,01∙ Wo / в),
где – удельный вес минеральной части, г/ см3, который при такого рода расчетах может быть принят равным для супесей 2,68, для суглин-ков 2,7, для глин 2,74;
в – удельный вес воды;
– объем содержащегося в грунте воздуха при оптимальной влажно-сти, % (обычно принимают 3–5 %);
Wo – оптимальная влажность, %.
Ориентировочно значение оптимальной влажности Wo, %, может быть определено следующим образом:
по известному значению влажности на границе раскатывания Wр: Wo = Wр – a,
где a – поправка для глинистых грунтов, равная 1–2%;
по известному значению влажности на границе текучести Wт:
Wо = ∙ Wт ,
где – переходный коэффициент; ориентировочно для суглинистых чер-ноземов = 0,65.
Уплотнение грунта до установленных норм приводит к тому, что плотность грунта в насыпи иногда оказывается выше плотности грунта в резервах или карьерах. В связи с этим в забое потребуется разработать объем грунта больший, чем в насыпи после уплотнения. Таким образом,
52
при установлении фактического рабочего объема земляных работ следует учитывать коэффициент относительного уплотнения грунта К1 , опреде-ляемый как отношение грунта, взятого из резерва (карьера, выемки), Vрез к объему этого же грунта, который он занял после уплотнения в теле насы-
пи, Vнас:
К1 = Vрез / Vнас
или
К1 = δнас / δрез,
где δнас – средняя плотность грунта в насыпи;
δрез – средняя плотность грунта в карьере или разрезе.
Среднюю плотность грунта определяют на основании отбора проб грунта в насыпи и в резервах в процессе сооружения земляного полотна.
Для участка насыпи средняя плотность может быть определена по формуле:
|
i n |
|
|
δнас = i n , |
|
|
i 1 |
|
где δi – фактически замеренные плотности грунта в насыпи, гсм3;
– общее число замеров плотности.
Для определения средней плотности грунта в резерве (карьере) пред-варительно вычисляется средняя плотность грунтов в одном шурфе:
|
j n |
|
j n |
|
iш = j hj |
hj , |
|
|
j 1 |
|
j 1 |
где iш – средняя плотность i-го шурфа, г/см3;
j – плотность отдельных слоев грунта i-го шурфа, г/см3;
hj – толщины соответствующих слоев, см;
j = 1, 2,…, n – количество слоев грунта i-го шурфа.
Средняя плотность грунта в резерве (карьера) по данным нескольких шурфов:
|
|
i n |
|
|
рез = |
iш n , |
|
|
|
i 1 |
|
где n – число шурфов (обнажений), которые должны размещаться равно-мерно по всей площади разрабатываемого резерва (карьера).
Подставляя полученные средние значения δнас и рез в выражение для К1, получим коэффициент относительного уплотнения грунта и факти-ческий объем земляных работ:
Vрез = К1Vнас.
53
Для ориентировочного определения рабочей кубатуры при заданном коэффициенте уплотнения коэффициент относительного уплотнения К1 может быть принят по табл. 4.1.
|
|
|
|
Т а б л и ц а 4.1 |
|
|
|
|
|
|
|
|
Заданный |
Коэффициент относительного уплотнения |
|
||
|
коэффициент |
|
|
|
|
|
песков, супеси, |
|
лѐссовидных |
|
|
|
уплотнения |
|
|
||
|
суглинков, глин |
грунтов, лѐссов, |
|
||
|
насыпи |
пылеватых суглинков |
|
||
|
|
черноземов |
|
||
|
|
|
|
|
|
|
1,00 |
1,10 |
1,05 |
1,20 |
|
|
0,95 |
1,05 |
1,00 |
1,15 |
|
|
0,90 |
1,00 |
0,95 |
1,10 |
|
Технология возведения железнодорожных насыпей должна обеспе-чивать прочность и устойчивость насыпей, а также необходимые их разме-ры, должна исключать неравномерные осадки и деформации основной площадки земляного полотна.
Как правило, насыпи отсыпаются послойно в такой последователь-ности: разбивка насыпи на уровне отсыпаемого слоя (через 10–20 м ко-лышками отмечаются точки оси и бровок), выгрузка грунта, его разравни-вание, уплотнение.
Как видно из предыдущего, наибольшая плотность достигается при уплотнении грунтов оптимальной влажности, поэтому грунты незначи-тельной влажности перед уплотнением необходимо увлажнять.
Рекомендуемая влажность для грунтов в процентах составляет: глин – 23…28; тяжелых суглинков – 22…23; легких суглинков и супесей – 15…17; чернозема – 25…35; лѐссов – 19…21.
Искусственное уплотнение грунта повышает модуль деформации и сопротивление грунта сдвигу, благодаря чему повышается устойчивость откосов и насыпей. Уплотненный грунт становится более водонепрони-цаемым и водоустойчивым.
Послойное уплотнение грунта в насыпных сооружениях и обратных засыпках котлованов и траншей осуществляется укаткой – с помощью са-моходных, полуприцепных и прицепных катков, транспортных средств (автомобилей и прицепов-землевозов), а также землеройно-транспортных машин (бульдозеров и скреперов); трамбованием – специальными трам-бующими машинами, навесными трамбующими плитами, а также пневма-тическими и электрическими трамбовками (для стесненных условий); виб-
54
рованием – подвесными, прицепными и самоходными вибраторами; ком-бинированным способом – виброкатками-агрегатами.
Основные параметры, характеризующие процесс уплотнения, зави-сят от свойств грунтов, способов уплотнения и типов применяемых грун-тоуплотняющих машин и оборудования.
Трамбующие машины и оборудование служат для уплотнения связ-ных и глинистых грунтов, отсыпаемых слоями толщиной 1…1,5 м. Не-связные песчаные грунты, как правило, не трамбуют, так как вблизи от места удара грунт разуплотняется.
строительстве используют трамбующие плиты на экскаваторах и трамбующие машины непрерывного действия.
Трамбующие плиты, навешиваемые на канат экскаватора-драглайна, применяют для уплотнения грунтов в местах с узким фронтом работ, не-доступных для уплотняющих машин других типов.
Свободно падающую плиту массой 0,8…1,5 т из чугуна или железо-бетона круглой или квадратной формы в плане прикрепляют на трех-четырех цепях или канатных стропах к концу подъемного каната драглай-на. Вспомогательный канат с легким оттяжным грузом служит для исклю-чения вращения плиты и закручивания основного подъемного каната. При ручном управлении подъемами-сбросами плиты и поворотами стрелы в плане частота ударов не превышает 3…5 мин –1, что обуславливает невы-сокую производительность трамбующих плит на экскаваторах и ограни-ченное их применение.
Трамбующие машины непрерывного действия выпускаются в двух модификациях: ДУ-12Б и ДУ-12В – для агрегатирования с гусеничными тракторами Т-100М и Т-130.
Рабочим органом машины служат две плиты, подвешенные рядом на подъемных канатах сзади трактора. Плиты поочередно поднимаются кана-тами и свободно падают на поверхность грунта, осуществляя его трамбо-вание на полосе, равной по ширине захвату обеих плит.
Во время работы трактор движется с замедленной ходоуменьшите-лем скоростью, которая выбирается соответственно необходимому числу ударов плит по одному месту. При транспортных передвижениях машины плиты поднимаются в верхнее положение, где удерживаются крюками. При работе крюки переводят в нерабочее положение с помощью механиз-ма, управляемого из кабины водителя.
Глубина уплотняющего воздействия, определяющая толщину отсы-паемого слоя, зависит от массы катка, типа его рабочего органа и числа проходов по одному следу.