Карты операционного контроля качества работ включают указания о допусках при сооружении земляного полотна, содержании и структуре операционного контроля, а также возможные дополнительные требования, предусматриваемые строительными нормами [3], [5].
|
|
Возможные отклонения от проектных размеров приведены |
в |
|
|||
|
табл. 7.1. |
|
|
|
|
|
|
|
|
|
Т а б л и ц а |
7.1 |
|
||
|
|
|
|
|
|
|
|
|
№ |
Контролируемые параметры |
Предельные отклонения |
|
|||
|
п/п |
|
|||||
|
|
|
|
|
|
|
|
|
1 |
Ширина земляного полотна |
1 = +15 см |
|
|
||
|
2 |
Отметки по оси и бровкам земляного полотна |
2 = +5 см |
|
|
||
|
|
|
|
|
|
|
|
|
3 |
Толщина отсыпаемого слоя h |
3 = 0,15h |
|
|
||
|
4 |
Плотность грунта в насыпи по абсолютной величине |
0,04 г/см3 |
|
|
||
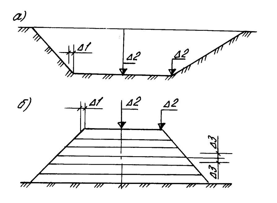
Схемы поперечного сечения выемки и насыпи с указанием предель-ных отклонений представлены на рис. 7.1.
Рис. 7.1. Схемы поперечного сечения выемки (а) и насыпи (б)
Примечания к карте по данному виду работ
Увеличение крутизны откосов выемки и насыпи не допускаются.
Объем недобора грунта на откосах выемки не должен превышать
8–10%.
63
Недобор грунта до проектной отметки в основании выемки дол-жен быть равным 0,2 м с учетом высоты сливной призмы и допуска на от-клонение.
Уплотнение до нормируемой плотности грунтов насыпи и в необ-ходимых случаях – под основной площадкой выемки – должно произво-диться согласно требованиям строительных норм [5, прил. 2].
При возведении насыпи следует предусматривать запас на осадку
процентах от проектной высоты насыпи для грунтов:
глинистых переувлажненных – 2–3;
скальных и крупнообломочных при послойном возведении с приме-
нением уплотняющих машин – 3;
песчаных и глинистых при коэффициенте уплотнения К = 0,95 – 0,5;
при К = 0,90 – 1–2,5.
При возведении насыпи из неоднородных грунтов должны соблю-даться следующие условия:
поверхность слоев из менее дренирующих грунтов, располагаемых под слоями из более дренирующих, должна иметь уклон в пределах 0,04–0,1 от оси насыпи к откосам; поверхность слоев из более дренирующих грунтов, располагаемых
под слоями менее дренирующих грунтов, устраивается горизонталь-ной.
|
|
|
Основные операции, подлежащие контролю |
|
|||
|
|
|
Разработка |
|
|
|
|
|
№ |
Структура |
выемки |
Отсыпка грунта |
Уплотнение насы- |
|
|
|
п/п |
контроля |
с погрузкой |
в насыпь и его раз- |
|
||
|
пи |
|
|||||
|
|
|
грунта |
равнивание |
|
||
|
|
|
|
|
|||
|
|
|
на автосамосвалы |
|
|
|
|
|
1 |
2 |
3 |
4 |
5 |
|
|
|
1 |
Состав контроля |
Крутизна откосов, |
Толщина слоя, пра- |
Плотность грунта, |
|
|
|
|
|
величина |
вильность разме- |
число проходов |
|
|
|
|
|
недобора |
щения разнородных |
уплотняющих |
|
|
|
|
|
в основании |
грунтов в теле |
средств, степень |
|
|
|
|
|
выемки и на |
насыпи, равномер- |
уплотнения |
|
|
|
|
|
откосах |
ность отсыпки сло- |
верхней части |
|
|
|
|
|
|
ев по всей ширине |
насыпи |
|
|
|
|
|
|
насыпи, запас |
|
|
|
|
|
|
|
на осадку насыпи, |
|
|
|
|
|
|
|
крутизна откосов |
|
|
|
|
2 |
Метод и средства |
Измерительный, |
Измерительный, |
Оборудование |
|
|
|
|
контроля |
инвентарные |
визуальный, инвен- |
грунтовой |
|
|
|
|
|
откосники, |
тарные откосники, |
лаборатории |
|
|
|
|
|
нивелир, |
уклономер, метр |
мехколонны |
|
|
|
|
|
метр стальной |
стальной |
|
|
|
64
|
|
|
|
|
|
|
|
Продолжение |
|
|||
|
|
|
|
|
|
|
|
|
|
|||
|
1 |
2 |
3 |
|
4 |
|
5 |
|
||||
|
3 |
Режим и объем |
Продольное |
|
|
|
|
Количество |
|
|||
|
|
контроля |
нивелирование, |
|
|
|
|
отбираемых проб – |
|
|||
|
|
|
промеры через |
|
То же |
|
одна на каждые |
|
||||
|
|
|
50 м, откосники |
|
|
300 м3 грунта |
|
|||||
|
|
|
устанавливаются |
|
|
|
|
|
|
|||
|
|
|
через 25–50 м |
|
|
|
|
|
|
|||
|
4 |
Лицо, |
|
|
|
|
|
Мастер, лаборант |
|
|||
|
|
контролирующее |
Мастер |
|
Мастер |
|
мехколонны |
|
||||
|
|
операцию |
|
|
|
|
|
|
|
|||
|
5 |
Лицо, ответст- |
|
|
|
|
|
|
|
|||
|
|
венное за органи- |
Главный инженер мехколонны |
|
||||||||
|
|
зацию и осущест- |
|
|||||||||
|
|
|
|
|
|
|
|
|
||||
|
|
вление контроля |
|
|
|
|
|
|
|
|||
|
6 |
Привлекаемые |
|
|
|
|
Грунтовая лаборатория |
|
||||
|
|
для контроля |
Геодезическая группа |
|
|
мехколонны |
|
|||||
|
|
службы |
|
|
|
|
|
|
|
|||
|
7 |
Где регистриру- |
|
|
|
Журнал контроля качества |
|
|||||
|
|
ются результаты |
Общий журнал работ |
|
|
уплотнения насыпи |
|
|||||
|
|
контроля |
|
|
|
|
|
|
|
|||