Как видно из рис. 2.3, план выемки с размещенными на ней проход-ками фактически представляет из себя третью проекцию, построенную (восстановленную) по известным двум. При этом все проходки пронуме-рованы с учетом последовательности их разработки, а недобор грунта оп-ределяется заштрихованными треугольниками на поперечном сечении вы-емки.
Технология производства экскаваторных работ. Технологический процесс состоит из разработки грунта в забое экскаватором прямая лопата, погрузки его на автосамосвалы или другие транспортные средства, пере-мещения и разгрузки грунта в насыпь, кавальер или отвал, послойного раз-равнивания грунта бульдозером и уплотнения специальными уплотняю-щими средствами (катками, уплотняющими машинами и др.).
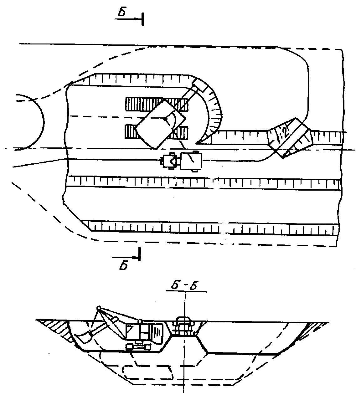
Разработка выемки ведется отдельными проходками в соответствии с ранее составленной схемой их размещения (см. рис. 2.3) и в пределах кон-кретного рабочего участка продольного профиля.
Типовая технологическая схема производства работ для рассматри-ваемого примера приведена на рис. 2.4.
При выполнении курсового проекта необходимая грузоподъемность автосамосвалов, технические характеристики и ориентировочное число самосвалов в составе экскаваторного комплекта можно принимать из пер-вой части методических указаний [2, прил. 1]. Точное количество транс-портных средств определяют расчетом для каждого конкретного случая с учетом фактических условий работы и дальности возки:
= Tц / tп = (tп + tгр.х + tp + tм.р + tпор.х + tм.п) / tп,
где N – искомое число транспортных средств; tп – продолжительность погрузки, мин;
tгр.х, tпор.х – соответственно продолжительность груженого и порож-него хода автосамосвала;
11
tp – продолжительность разгрузки, мин;
tм.р, tм.п – время на маневры автосамосвала соответственно при раз-грузке и погрузке, мин.
Рис. 2.4. Схема разработки выемки экскаватором прямая лопата
Задаваясь средней скоростью движения автосамосвала Vср [2] и дальностью возки l, можно записать:
= (2 l/Vср + tп + tp + tм.р + tм.п) / tп .
курсовом проекте продолжительность отдельных операций, точное
значение которых устанавливается хронометражем, принимается ориенти-ровочно следующей:
tп = 1,5 мин, tp = 1 мин, tм.р = tм.п = 1,5 мин.
12
Из приведенной формулы следует, что очередной автосамосвал дол-жен прибыть к месту загрузки его грунтом не позднее времени окончания загрузки предыдущего автосамосвала.
При возникновении систематических простоев экскаватора в ожида-нии прибытия автосамосвалов к месту погрузки следует проверить элемен-ты затрат времени, необходимых для выполнения рейса, и увеличить чис-ло автосамосвалов. При простоях транспорта в ожидании погрузки следу-ет принять меры к ускорению работы экскаватора или уменьшить число транспортных средств.
курсовом проекте в качестве индивидуального задания может быть поставлена задача расчета оптимального количества транспортных средств с применением современных математических методов, например теории массового обслуживания.
Техника безопасности. При производстве работ одноковшовым экс-каватором с погрузкой грунта на автосамосвалы и транспортированием его
насыпь необходимо соблюдать следующие основные правила техники безопасности.
Экскаватор во время работы должен устанавливаться на спланиро-ванной площадке. Запрещается подкладывать под гусеницы бревна, камни и другие предметы.
Запрещается находиться под ковшом или стрелой экскаватора, вы-полнять работы со стороны забоя. Посторонним лицам запрещается нахо-диться в радиусе действия экскаватора. Во время перерывов в работе ковш следует опускать на землю.
За участками забоя, где возможны оползни и обрушения грунта, должно устанавливаться постоянное наблюдение. Участки должны ограж-даться, а работа на них разрешается только после их осмотра мастером или прорабом и получения письменного разрешения на производство работ.
При работе экскаватора в темное время суток место выгрузки грунта и забой должны иметь хорошее освещение.
Грунт на автосамосвалы следует грузить только со стороны заднего или бокового борта самосвала. Запрещается проносить ковш с грунтом и без грунта над кабиной. Водитель автосамосвала во время погрузки дол-жен выходить из кабины.
Находящийся под погрузкой автосамосвал должен быть заторможен. Во время погрузки людям запрещается находиться между экскаватором и транспортным средством.
13
2.1.3. Указания по организации труда
Разработка выемки экскаватором прямая лопата с погрузкой грунта на автосамосвалы, транспортированием его в насыпь осуществляется ком-плексной бригадой в зависимости от емкости ковша экскаватора и дально-сти транспортирования грунта.
целях более полной загрузки машин и механизмов работу целесо-образно организовывать в две смены с использованием передвижной элек-тростанции для освещения места работ в темное время суток.
начале каждой смены машинисты и водители машин обязаны про-верить готовность машин к работе, устранить мелкие неисправности, за-править машину горючим и водой. А в конце смены сообщить механику (помощнику машиниста) о замеченных неисправностях.
Участок производства работ обеспечивается вагончиками для масте-ра, кладовой инструмента и инвентаря, отдыха рабочих и приема пищи, а также питьевой и технической водой, медицинской аптечкой, средствами связи.
2.1.4. Материально-технические ресурсы
Материально-технические ресурсы включают ведущие и комплек-тующие машины и механизмы, геодезические инструменты, инвентарь, определяемые на основе разработанных ранее технологических процессов (п. 2.1.1) и представленные в табличной форме (табл. 2.1).
2.1.5. График выполнения производственного процесса по разработке выемки экскаватором прямая лопата
На основании разработанной ранее технологии и организации строи-тельного процесса (п. 2.1.1) в типовой технологической карте обычно при-водится почасовой график выполнения работ в течение смены. В условиях курсового проектирования вместо указанного графика разрабатывается ка-лендарный график производства земляных работ на весь заданный уча-сток. Методика его проектирования детально рассматривается в разд. 5.
2.1.6. Калькуляция затрат труда
Основными нормативными документами для составления калькуля-ции затрат труда обычно являются нормы времени и расценки в соответст-вии со сборниками ЕНиР, ВНиР, ценниками и др. Учитывая, что при раз-работке первой части проекта широко использовались графики единичной
14
стоимости производства земляных работ, калькуляцию затрат труда к тех-нологической карте в курсовом проекте можно не составлять.
2.1.7. Технико-экономические показатели
Технико-экономические показатели определяются на основании ка-лендарного графика производства земляных работ и их стоимости, подсчи-танной в первой части проекта. Методика расчета технико-экономических показателей изложена в разд. 6. Результаты определения основных техни-ко-экономических показателей привести в табличной форме (табл. 2.2).
|
|
|
|
|
Т а б л и ц а 2.1 |
|
|
|
|
Материально-технические ресурсы |
|
||||
|
|
|
|
|
|
|
|
|
№ |
Наименование |
Тип |
Марка |
Количество |
Примечание |
|
|
п/п |
|
|||||
|
|
|
|
|
|
|
|
|
|
|
|
|
|
|
|
|
1 |
Экскаватор |
|
|
|
|
|
|
|
|
|
|
|
|
|
|
2 |
Автосамосвалы |
|
|
|
|
|
|
|
|
|
|
|
|
|
|
3 |
Бульдозер |
|
|
|
|
|
|
|
|
|
|
|
|
|
|
4 |
Автогрейдер |
|
|
|
|
|
|
|
|
|
|
|
|
|
|
5 |
Пневмоколесный каток |
|
|
|
|
|
|
|
или уплотняющая машина |
|
|
|
|
|
|
|
|
|
|
|
|
|
|
6 |
Передвижная электростанция |
|
|
|
|
|
|
|
мощностью 5–7 кВт |
|
|
|
|
|
|
|
|
|
|
|
|
|
Т а б л и ц а 2.2
|
Наименование |
Единица |
На весь объем |
На единицу объема |
|
|
показателей |
измерения |
|
||
|
|
|
|
||
|
|
|
|
|
|
|
Срок производства работ |
дни |
|
|
|
|
|
|
|
|
|
|
Трудоемкость работ |
чел.-дни |
|
|
|
|
|
|
|
|
|
|
Себестоимость |
руб. |
|
|
|
|
|
|
|
|
|
2.1.8. Карта операционного контроля качества разработки выемки экскаватором прямая лопата
При разработке карты операционного контроля качества производст-ва земляных работ при сооружении железнодорожного земляного полотна пользоваться данными, приведенными в разд. 7 настоящих методических указаний.
15
2.2.1. Область применения
Технологическая карта предусматривает разработку выемок экскава-торами-драглайнами с ковшом емкостью 0,8…1,5 м3 с погрузкой грунта в автосамосвалы и его транспортировкой в насыпь или отвал. Наиболее эф-фективно применять драглайны при сравнительно небольших рабочих от-метках выемок – до 3,5–5,0 м.
2.2.2. Указания по технологии строительного процесса
Проектирование экскаваторных проходок. Основная задача проек-тирования заключается в предварительной разбивке массива выемки на отдельные проходки, разрабатываемые экскаватором-драглайном. При этом в зависимости от рабочих отметок выемки проходки могут распола-гаться в один или несколько ярусов по глубине.
Разработка выемок драглайнами может вестись двумя способами:
проходками с торцовым забоем, когда экскаватор перемещается
вдоль оси выемки в пределах разрабатываемой им полосы;