Проверим вертикальные ребра опор на сжатие и устойчивость.
Напряжение сжатия в ребре при продольном изгибе:
,
где 2,24 – поправка на действие неучтенных факторов,
k1 – коэффициент, определяемый по графику в зависимости от гибкости ребра λ,
,
где
- гипотенуза ребра для опоры-лапы.
![]()
.
Следовательно, k1
= 0,375.
zp = 2 – число ребер в опоре;
S1 = 12 мм – толщина ребра;
b = 200 мм – вылет ребра;
- допускаемое напряжение для ребер
опоры;
k2 – коэффициент уменьшения допускаемых напряжений при продольном изгибе k2=0,4;

- условие выполняется.
Проверим на срез прочности угловых швов, соединяющих ребра с корпусом аппарата:

![]()
- общая длина шва при сварке;
![]()
- условие выполняется.
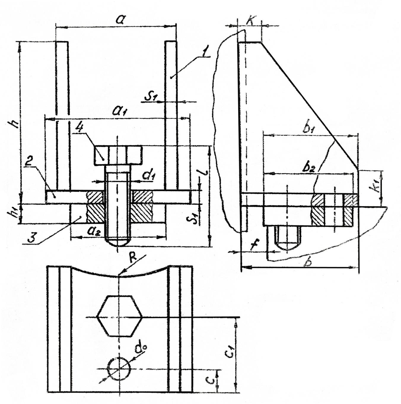
Конструкция опор-лап представлена на рис. 7.11.

Рис. 7.11. Конструкция опор-лап
7.4. Подбор штуцеров и люка
Подбор штуцеров и люков осуществляется в соответствии с внутренним диаметром корпуса аппарата Dвн = 2000мм.
Основные условные диаметры штуцеров для корпусов с эллиптической крышкой по ОСТ 26-01-1246-75 представлены на конструкции штуцеров (рис. 7.12).
В соответствии с внутренним диаметром аппарата выбираем люк с плоской крышкой и откидными болтами.
Основные размеры представлены на конструкции люка (рис. 7.13).

Рис. 7.12. Расположение штуцеров

Рис. 7.13. Люк с плоской крышкой
7.5. Расчет фланцевого соединения
1) расчетная температура
оC,
оC;0;
2) допускаемое напряжение
Материал
для болтов 30ХГСА
![]()
3)
толщина втулки фланца
![]()
4) высота втулки фланца
![]()
5) диаметр болтовой окружности для плоско приварных
,
где U – нормативный зазор между гайкой и втулкой, мм;
dб – наружный диаметр болта, мм;
6) наружный диаметр фланцев
,
где а=47 - конструктивная добавка для размещения гаек по диаметру фланцев;
7) наружный диаметр прокладки
,
где е - нормативный параметр, зависящий от типа прокладки;
8) средний диаметр прокладки
,
где b - ширина прокладки;
9) количество болтов М36, необходимых для обеспечения герметичности соединения (d1=31,7)
tш =3,4·39= 132,6 мм,

10) высота фланца ориентировочно:
,
![]()
11) болтовая нагрузка, необходимая для обеспечения герметичности соединения:
-
равнодействующая внутреннего давления,
действующая на один болт,
гдеPp- расчетное давление, МПа.
Fр=1,3KзатF+ǽF – расчетная сила, действующая на один болт, Н.
Принимаем коэффициент затяжки Кзат=2.
Коэффициент внешней нагрузки ǽ=0,25.
Fр= 48307 (1,3·2+0,25)=137677Н.
Условие прочности:
МПа,
где d1= 34,67 мм - внутренний диаметр резьбы М36.
Условие
прочности:
<[
].
Материал
болтов – сталь 35ХГСА (
т=1400МПа),
=145,7МПа<[
]=700МПа
- условие прочности выполняется.
Запас прочности n=2.
Остаточная затяжка стыка от одного болта достаточна для герметизации.
Конструкция фланцевого соединения представлена на рис.7.14.

Рис.7.14. Фланцевое соединение
С УЧЁТОМ СЛОЖНОСТИ ФОРМЫ В СИСТЕМЕ APM WinMachine
APM WinMachine – CAD/CAE система автоматизированного расчета и проектирования механического оборудования и конструкций в области машиностроения, разработанная с учетом последних достижений в вычислительной математике, области численных методов и программирования, а также теоретических и экспериментальных инженерных решений [24]. Эта система в полном объеме учитывает требования государственных стандартов и правил, относящихся как к оформлению конструкторской документации, так и к расчетным алгоритмам.
APM WinMachine обладает широкими функциональными возможностями для создания моделей конструкций, выполнения необходимых расчетов и визуализации полученных результатов. Использование этих возможностей позволяет сократить сроки проектирования и снизить материалоемкость конструкций, а также уменьшить стоимость проектных работ и производства в целом.
Система APM WinMachine включает:
- плоский параметрический чертежно-графический редактор;
- редактор для создания пространственных конструкций;
- инструменты автоматической генерации сеток конечных элементов с постоянным и переменным шагами;
- базовое расчетное ядро – модуль конечно-элементного анализа;
- базу данных и систему ее управления;
- модуль кинематического и динамического анализа рычажных механизмов;
- модуль расчета болтовых, сварных, заклепочных соединений, а также соединений деталей типа тел вращения;
- инструменты инженерного анализа деталей машин и механизмов с возможностью автоматической генерации чертежной документации [25,26].
Инструменты конечно-элементного анализа деталей и конструкций, имеющиеся в APM WinMachine, позволяют:
- подготовить к расчету модель конструкции с использованием стержневых, пластинчатых, твердотельных конечных элементов;
- указать места закрепления и приложить необходимые постоянные или переменные во времени нагрузки;
- проводить широкий спектр различных типов расчетов с целью определения распределения напряжений и их составляющих, линейных, угловых перемещений, деформаций, внутренних усилий, частот собственных колебаний и собственных форм, коэффициентов запаса по текучести или прочности материала, расчет температурных полей и термонапряжений в элементах конструкции;
- выполнить проверку несущей способности и автоматически подобрать оптимальное поперечное сечение стержневого элемента (по критериям прочности и устойчивости) из библиотеки стандартных сечений либо из библиотеки, подготовленной пользователем;
- подготовить проекционные чертежи модели конструкции в целом и отдельных ее деталей [27].
Для расчета с учетом сложности геометрии корпуса аппарата в системе APM WinMachine необходимы два модуля: APM Studio – для построения корпуса аппарата и генерации конечно-элементной сетки, и APM Structure3D – для проведения расчета напряжений и деформации корпуса аппарата [28].
8.1. Построение аппарата в APM Studio
Модуль APM Studio предназначен для создания и редактирования трехмерных моделей тонкостенных оболочек и твердотельных объектов, а также генерирование на основе полученной модели конечно-элементной сетки для последующей передачи ее для расчета в модуль APM Structure3D.
Основное окно (рис. 8.1) состоит из следующих элементов:
- строки меню;
- панели инструментов;
- строки состояния;
- дерева операций;
- области построения, на котором отображаются:
- оси глобальной системы координат,
- базовые координатные плоскости.

Рис. 8.1. Основное окно программы APM Studio
В дереве операций отображаются все объекты, созданные пользователем в модуле APM Studio. Корнем дерева операций является Деталь. Самым первым элементом дерева операций располагается узел Геометрия. Он содержит координатные плоскости, проходящие через начало координат, которые можно выбирать в качестве плоскостей эскизов. Далее идут сами объекты: эскизы, кривые, поверхности, твердые тела, а также перечень проделанных операций. Каждая поверхность или твердое тело, нарисованные в модуле APM Studio, обозначаются в дереве операций узлом. Находясь в режиме выбора, нужные элементы можно выбирать из дерева операций и выполнять над ними следующие операции: временно не отображать на экране (скрыть), переименовать, выделить, удалить, редактировать и т.д.
При переходе в режим Конечно-элементный анализ автоматически открывается новое дерево операций, в котором отображаются закрепления и нагружения, произведенные пользователем. С элементами этого дерева возможно проводить те же операции, что и с элементами дерева построения 3D модели.
Основные панели инструментов программы APM Studio:
Панель инструментов «Файл»
-
создание новой поверхностной модели
-
создание новой твердотельной модели
-
открытие существующего документа
-
сохранение проекта
Панель инструментов «Управление»
-
режим выбора
-
новый эскиз
-
новый 3D
эскиз
-
обновить изображение
-
создать конечно-элементную сетку
-
передать конечно-элементную сетку в
APM
Structure3D
Панель инструментов «Эскиз»
Группа команд объектных привязок:
-
включить/выключить объектные привязки
-
контрольные точки
-
центры окружностей, дуг, эллипсов
-
середины линий, дуг
-
квадрант