Материал: SAPR

Внимание! Если размещение файла нарушает Ваши авторские права, то обязательно сообщите нам

шайби, а потім клацніть мишею. Після того, як необхідні елементи будуть записані в буфер обміну, слід відкрити Збірку поршня. Виберіть команду Вставить. Зображення, що зявилося з буфера обміну, вставте в нижній пра- вий кут креслення так, щоб воно не стикалося з кресленням складання порш-

ня (рис. 35).

Рис. 34

Рис. 35

Перш ніж вставити гайку з шпилькою в складений поршень, необхідно по- вернути його на 90°, потім виміряти запозичений діаметр шпильки і змінити його масштабуванням на необхідний розмір М10. Для цього натисніть Выде- лить > Рамкой і виділіть рамкою запозичені кріпильні елементи. Потім у ряд- ку меню виконайте команди Операции > Поворот і на запит системи вкажіть базову точку сполучення. У вікні Угол поворота введіть -90 і натисніть Enter. Вісь разом з гайкою обернеться на 90° проти годинникової стрілки.

Виміряйте діаметр різьбової частини шпильки. Треба масштабувати шпи- льку до необхідного діаметра (10 мм).

Для цього виділіть рамкою кріпильний обєкт, виконайте команди Опе- рации > Сдвиг > Указанием, потім клацніть мишею точку зрушення. Клац- ніть мишею у вікні точки р2 (координата X) і з клавіатури введіть величину 40 і введіть у сусіднє вікно величину координати У (-122). Натисніть клавішу

Enter.

Деформуйте гайку до висоти 15 мм. Видаліть основні лінії, що проходять по гайці. На панелі геометричних побудов натисніть кнопку Ввод окружнос- ти по двум точкам. На запит системи клацніть мишею в точці перетину осі з нижньою горизонтальною лінією гайки. У вікні Радиус окружности введіть 1 і клацніть мишею вісь гайки. Отвір під шплінт побудований.

Виконайте команду Симметрия. Видаліть зайві лінії і на другій гайці

(рис. 36).

3. Побудова деталей, яких бракує.

21

3.1. Розглянемо алгоритм побудова пружини. Встановіть привязки: сере- дина і переріз.

3.1.1.Натисніть кнопку (Вертикальная прямая) і встановіть її при- близно усередині основи місця під пружину (кишеня форсунки). Зробіть те ж саме і для іншої сторони. У рядку поточного стану встановіть крок курсору 2 мм. Натисніть кнопку (Горизонтальная прямая) і встановіть її в підста- ву кишені форсунки. За допомогою клавіші зі стрілкою вгору введіть сім го- ризонтальних прямих. Після кожного натиснення клавіші не забувайте нати- скати Enter. Натисніть кнопку (Ввод окружности по центру) і на запит системи встановіть курсор усередину підстави кишені форсунки. Потім виді- літь введене коло, після чого в рядку меню натисніть Операции > Копия > Указанием. На запит системи постав- те курсор у центр виділеного кола і вставте копії кіл у шаховому порядку

(рис. 36).

3.1.2.Видаліть допоміжні криві і

точки, а також зайві лінії, що виходять

 

за рамки пружинного відсіку. Натис-

 

ніть кнопку Ввод отрезка і, не відпус-

 

каючи ліву кнопку миші, виберіть

 

кнопку Отрезок, касательный к 2

 

кривым.

Рис. 36

Натисніть кола, між якими потріб-

 

но провести дотичні лінії.

 

3.1.3.Натисніть кнопку (Создать объект) стільки разів, скільки дотич- них ліній. При цьому пунктирні лінії перетворюються на суцільні. Потім на- тисніть кнопку Прервать команду (рис. 36). Подібну процедуру повторіть для трьох пар кіл, потім видаліть зайві лінії.

3.1.4.Натисніть кнопку Штриховка, у рядку параметрів встановіть крок штрихування 1,5 і кут нахилу штрихування (-45), клацаючи лівою кнопкою миші, заштрихуйте кола (рис. 36).

3.2. Установка поршневого пальця. Достатньо вставити у вісь поршневого пальця коло діаметром 30 мм, внутрішній діаметр поршневого пальця, і за- штрихувати його, використовуючи крок штрихування 3, із кутом нахилу 45˚ (рис. 35). Збережіть файл.

3.3. Тепер імпортуємо готову збірку у вибраний формат креслення. Вихо- дячи з габаритних розмірів складального креслення, вибираємо формат A3 з вертикальною орієнтацією листа.

У рядку меню виконайте таку послідовність команд: Настройка > На-

стройка новых документов > Графический документ > Параметры листа > Формат. У діалоговому вікні Настройка параметров новых документов в блоці Обозначение встановіть A3, Ориентация вертикальна, Кратность

– 1. Натисніть кнопку ОК.

22

Відкрийте файл Збірка поршня. Виконайте команди Выделить > Все > Редактор > Копировать. На запит системи вкажіть центр поршневого паль- ця. Потім на панелі керування натисніть Новый лист > Показать все. Клац- ніть правою кнопкою миші і в контекстному меню виберіть команду Вста- вить. Виберіть найбільш відповідне місце креслення.

3.4. Проставте габаритні і функціональні розміри, позначте позиції, на- пишіть технічні вимоги і заповніть основний напис. Текст технічних вимог представлений на рис. 37.

Рис. 37

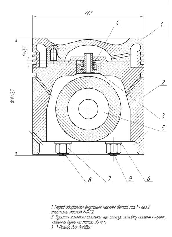
У рядку поточного стану натисніть кнопку (Сетка), встановіть прив'яз- ку по сітці і проставте спочатку функціональні розміри – 5 – хід масляної фо- рсунки і 1,5 – виступ шпильки, а потім габаритні: висота поршня 169 і його діаметр 160* як довідковий розмір.

3.5. Позначення позицій. На інструментальній панелі натисніть кнопку (Линия выноски) і, не відпускаючи її, виберіть кнопку Обозначение пози- ций. У рядку параметрів у полі .txt зявиться цифра 1. Вона означає першу позицію. На запит системи клацніть мишею в місці передбачуваної полиці, а друге клацання зробіть на деталі, що позначається (у даному випадку нею є головка поршня). Аналогічним чином проставте всі вісім позицій, що зали- шилися (рис. 38).

Остаточно оформлене складальне креслення показане на цьому рисунку. 4. Оформити звіт з лабораторної роботи.

Звіт повинен містити:

1.Перелік та короткий опис використаних команд, порядок побудови кре- слення.

2.Креслення деталі згідно з завданням.

2.Контрольні завдання та запитання

1.Дайте пояснення, що таке базові точки і яким чином вони визначають- ся при створенні складальних креслень.

2.Від чого залежить будова поршня?

3.Перелічіть основні складові елементи поршня.

4.Із використанням яких команд вводяться технічні вимоги на креслен-

нях ?

5.Із використанням яких команд вказується позначення позицій на скла- дальному креслені?

23

Рис. 38

24

Лабораторна робота № 6

СТВОРЕННЯ СПЕЦИФІКАЦІЇ ДО КРЕСЛЕННЯ

Мета роботи: вивчити створення специфікації до креслень за допомогою САПР Компас.

Для складального креслення поршня, побудованого в лабораторній роботі

5, створити специфікацію.

1.Порядок виконання роботи

1.Для створення специфікації, не повязаної зі складальним кресленням, викличте з меню Файл команду Создать. У діалозі, що зявився, виберіть тип документа Специфікація і натисніть кнопку ОК.

На екрані зявиться таблиця нової специфікації (рис. 39).

Рис. 39

2. Створіть в існуючій специфікації обєкти. Специфікація заповнюється шляхом створення в ній нових базових обєктів. Для цього натисніть кнопку

(Добавить базовый объект).

3. За командою Додати базовий обєкт система створює новий обєкт спе- цифікації і переходить у режим редагування його текстової частини: у табли- ці специфікації відкривається рядок для редагування, в якому буде розташо- вана текстова частина обєкта специфікації. Також є можливість самостійно вводити текстову частину обєкта специфікації.

Під час введення символів у колонку відбувається автоматичний підбір такого їх звуження, щоб всі вони помістилися в одному осередку. Якщо зву- ження дуже велике, ви можете перенести частину символів у наступний ря- док; для цього натисніть клавішу Enter на місці перенесення.

Переміщення між колонками проводиться за допомогою клавіші Tab (у напрямі зліва направо) або комбінації клавіш Shift + tab (у напрямі справа наліво). У потрібну колонку обєкта специфікації можна також потрапити, клацнувши по ній мишею.

25