Опорные грузовые станции – в районах концентрации грузовой работы:
По объему работы
Роду груза
По взаимосвязи с автодорогами
По размеру пунктов обслуживания станции
Грузовые станции общего пользования располагаются в ЖД узлах для переработки местных вагонов потоков и на линиях для переработки местных и транзитных, выполняют:
Технические операции
Прием поездов
Расформирование с сортировкой вагонов
Подача вагонов в грузовой район
Расстановка по ГФ
Уборка вагонов с мест погрузки выгрузки
Формирование поездов
Отправление их на сортировочную станций или на жд линию
Коммерческие
и грузовые операции, связанные с приемом,
погрузкой, выгрузкой и отправлением
грузов
Прием груза от ГО
Хранение груза
Погрузка
Выдача ГП
Оформление документов на грузовую перевозку
Сортировка
Взвешивание и перегрузка
Выгрузка
Проверка погрузки и крепление грузов на ОПС
Сдача вагонов под охрану
Устройства на грузовых станциях, общего пользования
Пути – приемоотправочные, сортировочные, погрузочно-выгрузочные, выставочные, весовые, соединительные, ходовые
Сортировочные устройства – вытяжной путь со стрелочный улицей на уклоне (до 100 ваг/сут) , профилированная вытяжка (100…250 ваг/сут), горка малой мощность (от 250 ваг/сут)
Грузовые районы – погрузочно-выгрузочные, выставочные, соединительные пути, складские и служебно-технические здания, ПРМ
Служебное технические здания и сооружения
Устройства для экипировки локомотивов и ремонта вагонов (необязательно)
Устройства водоснабжения, водоотведения, теплоснабжения, освещения, энергоснабжения, связи и телевидения и механизированная почта для пересылки документов.
Станция сквозного типа применяется на магистральных линиях и крупных жд узлах, на них производится пропуск транзитных поездов, а также формирование и расформирование сборных поездов и маршрутов.
На крупных ЖД узлах и городах принято предусматривать сквозными с последовательным расположением парков и последовательным или параллельным расположением грузовых районов.
Грузовые станции общего пользования располагаются в ЖД узлах для переработки местных вагонов потоков и на линиях для переработки местных и транзитных, выполняют:
Технические операции
Прием поездов
Расформирование с сортировкой вагонов
Подача вагонов в грузовой район
Расстановка по ГФ
Уборка вагонов с мест погрузки выгрузки
Формирование поездов
Отправление их на сортировочную станций или на жд линию
Коммерческие
и грузовые операции, связанные с приемом,
погрузкой, выгрузкой и отправлением
грузов
Прием груза от ГО
Хранение груза
Погрузка
Выдача ГП
Оформление документов на грузовую перевозку
Сортировка
Взвешивание и перегрузка
Выгрузка
Проверка погрузки и крепление грузов на ОПС
Сдача вагонов под охрану
Устройства на грузовых станциях, общего пользования
Пути – приемоотправочные, сортировочные, погрузочно-выгрузочные, выставочные, весовые, соединительные, ходовые
Сортировочные устройства – вытяжной путь со стрелочный улицей на уклоне (до 100 ваг/сут) , профилированная вытяжка (100…250 ваг/сут), горка малой мощность (от 250 ваг/сут)
Грузовые районы – погрузочно-выгрузочные, выставочные, соединительные пути, складские и служебно-технические здания, ПРМ
Служебное технические здания и сооружения
Устройства для экипировки локомотивов и ремонта вагонов (необязательно)
Устройства водоснабжения, водоотведения, теплоснабжения, освещения, энергоснабжения, связи и телевидения и механизированная почта для пересылки документов.
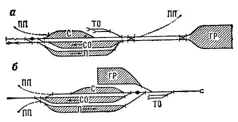
Тупикового типа – в крупных узлах для размещения ЖД устройств ближе к промышленным районам или как конечные пункты ЖД линии.
Тупиковые с параллельным расположением могут быть с грузовым районом с размещением последовательно (а) или параллельно ей (б).
Обеспечивает поточность движения, однако:
Невозможность одновременной сортировки и подачи вагонов
Увеличение пробега локомотивов из ГР в СП
Большая загрузка входной горловине станции из-за концентрации в ней операций по приему, отправлению, формированию и расформированию составов.
Для преодоления всех трудностей к работе в зимних условиях готовят их по плану разработанного ДС с участием руководителей смежных служб (пути, вагонной, локомотивной, снабжения и др)
Решают задачи:
Укомплектование штата и подготовка работников станции к работе зимой
Подготовка хозяйства станции к зиме
Корректирование технологии работы в зимних условиях
Организация уборки и вывоза снега
Учитывают опыт работы в минувшие зимы, состояние станционного хозяйства, прогнозируемые на зиму объемы работы станции
Когда не удается преодолеть возникших трудностей часть работы передается на другие станции.
Решающее значение в работе станции в зимнее время придается умелым действиям каждого работника. К наступлению зимы штат работников станции должен быть укомплектован хорошо обученными работниками (составители, сигналисты, регулировщики скоростей движения и др)
Работников не имеющие опыта работы зимой обучают зимним передовым методам работы труда.
Работа станции обеспечивают зимней специальной одеждой согласно установленным нормам.
До наступления зимы на станции заблаговременно проводят проверку состояния производственно-технических помещений рабочих мест, технических средств, с целью определения их готовности к работе в зимнее время. По данным такой проверки в план подготовки включают соответствующие работы:
Ремонт технических средств и помещений
Ремонт вагонных замедлителей
Устройств для механизированной централизации стрелок
Устройств сигналов и связи
Окончание ремонтных путевых работ
Подъем горба горки
Приведение в исправное состояние всех средств и технических зданий
Осмотр и ремонт отопительной системы
Приведение в полную готовность снегоуборочной техники
Обеспечение рабочих мест
Инвентарём для очистки стрелок
Топливом для обогрева помещений
Песком или шлаком для просыпки мест при гололеде
Графитной смазкой или битумом при сильном морозе
Очистка путей и междупутий от посторонних предметов для обеспечения беспрепятственного пропуска снегоуборочной техники
Запасы песка или шлака создают в закрытых ящиках, расположенных у стрелочных постов, тормозных позиций ручного торможения, у мест расцепки вагонов на горбе горки и на вытяжных путях.
Во избежание последствий отработана зимняя технология, которая с учетом местных условий станции может предусматривать:
Для ПП и сортировочной горки
Чередование путей для приема поездов во время сильных снегопадов и метелей
Применение графитовой смазки для жесткого торможения вагонными башмаками
Для СП и ПОП
Уменьшение числа вагонов в маневровом составе и повышение скорости толчков
При расформировании с вытяжек или горок малой мощности делить состав на больше число частей
Ввод дополнительных маневровых локомотивов или использование мощных маневровых локомотивов
При плохой видимости привлекать дополнительных работников для передачи сигналов во время маневров
Передача сигналов по громкоговорящей и радио связи
Для облегчения трогания с места составы поездов целесообразно сжать до отцепки локомотива
На станциях с неблагоприятным профилем целесообразно применять подталкивание поездов.
Переставлять тяжелые составы из парка в парк и из жд ПНОП на станцию и наоборот двумя локомотивами
Сокращение вагонов при подаче, уборке, приценке, формировании групп – увеличение числа полурейсов, но увеличение скорости маневровой работы
Перед вступлением на дежурство руководитель смены должен ознакомиться с прогнозом погоды, сообщить о нем работникам смены и напомнить им о связанных с погодой особенностях работы.
На всех участках станции следует своевременно очищать от снега и льда стрелки, замедлители, междупутья, места постоянных проходов.
При понижении температуры необходимо смазывать тормозные подушки графитовой смазки. Централизованные стрелки и замедлители рекомендуется периодически переводить из одного положения в другое