Материал: Lab1n_7n

Внимание! Если размещение файла нарушает Ваши авторские права, то обязательно сообщите нам

2.Дайте определения импульса, кинетической и потенциальной энергии тела. Каков их физический смысл?

3.Сформулируйте второй закон Ньютона в дифференциальной и интегральной форме.

4.Когда выполняется закон сохранения импульса в системе тел?

5.Дайте определение центра масс системы тел.

6.Покажите, что импульс системы тел совпадает с импульсом ее центра

масс.

7.Какие виды соударений тел существуют? Какой удар называют абсолютно неупругим?

8.Какой системой уравнений описывается абсолютно неупругий удар? Докажите формулу (2.2).

Работа 3н. УПРУГОЕ СТОЛКНОВЕНИЕ ШАРОВ

Цель работы: экспериментальная проверка законов сохранения импульса и механической энергии при абсолютно упругом столкновении стальных шаров, подвешенных на бифилярных подвесах, по углу отклонения подвесов после столкновения шаров.

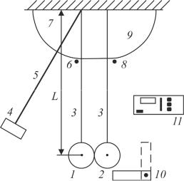
Приборы и принадлежности. Лабо-

раторная установка для изучения упругого удара (рис. 3.1) представляет собой два стальных шара с массами m1 и m2 , закреп-

ленных на бифилярных подвесах 3. Длины бифилярных подвесов от оси их подвеса до центров масс шаров одинаковы и равны L. Шар m1 может удерживаться в отклонен-

ном положении электромагнитом 4. Положение электромагнита может изменяться за

Рис. 3.1 счет поворота штанги 5.

Начальный угол отклонения подвеса шара m1 от вертикального положения

определяется с помощью поворотного индикатора 6 и шкалы 7. Этот же индикатор позволяет определить максимальный угол отклонения шара m1 после

удара. Максимальный угол отклонения шара m2 измеряется с помощью второ-

го поворотного индикатора 8 со шкалой 9. Устройство 10 позволяет предотвратить отклонение шара m2 после столкновения с шаром m1, если это необходимо.

Управление электромагнитомосуществляется с помощью блока 11 СЭ-1.

16

Исследуемые закономерности

Абсолютно упругим называется удар, при котором не происходит превращение механической энергии соударяющихся тел в другие виды энергии. В частности, не наблюдается нагревание тел при ударе. При абсолютно упругом ударе деформация тел, возникающая в момент удара, после его завершения полностью исчезает. Очень близким к упругому является удар стальных шаров.

Исследуемые закономерности частично описаны в работе 1н.

Система уравнений, описывающая абсолютно упругий удар шаров с массами m1 и m2 (рис. 3.2), с учетом законов сохранения импульса при их

лобовом столкновении в проекциях на ось x и энергии в системе сталкивающихся тел, имеет вид:

m v m v

m u m u

,

m v2

m v2

m u2

m u2

(3.1)

1 1

 

2 2

 

1 1

 

2 2

,

1 1

2

2

1 1

2

2

 

2

 

2

 

2

 

2

 

 

 

 

 

 

 

 

 

 

 

 

 

 

где vi и ui (i = 1, 2) – скорости тел до и после их столкновения.

Рис. 3.2

Систему уравнений (3.1) можно свести к линейной:

v1 u1 v2 u2,

m1v1 m2v2 m1u1 m2u2.

(3.2)

Для получения первого уравнения в (3.2) необходимо в (3.1) члены с одинаковыми индексами 1 и 2 перенести в одну часть равенства, а затем разделить одно уравнение на другое.

Решая систему (3.2), получим

u m1 m2 v1 2m2v2

, u

2

m2 m1

v2 2m1v1 .

(3.3)

1

m1

m2

 

m1

m2

 

 

 

 

 

В этих уравнениях v1, v2 и u1, u2 – это проекции скоростей тел на выбранное направление оси проецирования x, имеющие знак . Если при расчетах будет полученоui 0 i 1, 2 , это означает, что вектор скорости тела ui после столкновения тел направлен противоположно выбранному направлению оси x.

17

Если шар m2 до столкновения покоился (v2 0) , то скорости тел после столкновения согласно (3.3) будут равны

u

m1 m2 v1

,

u

2

 

2m1v1

.

(3.4)

 

 

1

m1

m2

 

 

 

m1

m2

 

 

 

 

 

 

 

Из (3.4) следует: если сталкивающиеся шары имеют одинаковую массуm1 m2 , то налетающий шар после столкновения остановится (u1 0) , а

покоящийся приобретет скорость налетающего u2 v1 . Если масса налетающего шара меньше покоящегося m1 m2 , то после столкновения налетающий шар отскочит назад (u1 0) .

Шары на бифилярных подвесах одинаковой длины можно рассматривать как математические маятники с одинаковым периодом колебания, поэтому они вернутся в исходную точку столкновения на вертикали с некоторой высоты через одинаковое время (через половину периода колебаний) и перед последующим вторым столкновением по закону сохранения механической энергии будут иметь такие же скорости, как в (3.4).

Переобозначив в (3.4) u1 и u2 как v1 и v2 и подставив эти выражения в (3.3), получим для скоростей тел после их второго столкновения:

 

 

 

 

m m

2 4m m

 

 

 

 

 

u

1

2

 

 

1 2

v v ,

 

 

1

 

 

m1 m2

2

 

1

1

 

 

 

 

 

 

 

 

 

 

 

 

 

2m

(m m ) 2m

(m m )

 

u2

 

 

1

2

1

 

1 1

 

2

v1

0.

 

 

 

 

 

 

 

 

 

 

 

 

m1

m2

2

 

 

 

 

 

 

 

 

 

 

 

 

 

То есть шары после второго столкновения будут иметь такие же скорости, что и до первого столкновения.

Величинами, которые будут измеряться в опыте, являются не скорости, а углы отклонения подвесов шаров от положения равновесия.

Пусть подвес первого шара отклонен на угол 0 , тогда он поднимется от положения равновесия на высоту

h0 L 1 cos 0 ,

где L – расстояние от оси вращения шара до его центра масс.

Согласно закону сохранения энергии m1gh0 m1v12 2 шар m1 перед столкновением с покоящимся шаром m2 будет иметь скорость

18

v1

2gh0

2gL 1 cos 0

и после столкновения с шаром m2 с учетом (3.4) приобретет скорость

u

 

m1

m2

 

2gL 1 cos

 

,

(3.5)

 

m

 

0

1

m

 

 

 

 

1

2

 

 

 

 

 

априотклоненииподвесанаугол 1 послестолкновенияподниметсянавысоту h1 L 1 cos 1 .

Из закона сохранения энергии m1gh1 m1u12 2 с учетом (3.5) следует:

2gL 1 cos

 

m

m

2

2gL 1

 

 

.

 

1

2

 

cos

 

m

m

 

0

1

 

 

 

 

 

 

1

2

 

 

 

 

 

Отсюда получим для косинуса угла отклонения 1 подвеса шара m1 после столкновения

 

 

m

m

2

1 cos

 

.

 

cos

1

 

1

2

 

 

(3.6)

m

m

 

0

1

 

 

 

 

 

 

1

2

 

 

 

 

 

Рассуждая подобным же образом, получим для косинуса угла отклонения 2 подвеса шара m2 после столкновения

 

 

2m

2

1 cos 0 .

 

cos 2

1

 

1

 

(3.7)

m

m

 

 

1

2

 

 

 

Из (3.6) и (3.7) следует, что связь между косинусами углов отклонения шаров после упругого удара такова:

cos 1 1 m1 m2 2 1 cos 2 ,2m1

 

 

 

 

 

2m

2

1

 

.

сos

 

1

 

 

 

1

 

cos

2

m

 

m

 

 

 

 

 

1

 

 

 

 

 

1

2

 

 

 

 

После столкновения шаров начальная потенциальная энергия шара m1 перейдет в потенциальные энергии шаров m1 и m2 :

m1gh0 m1gh1 m2gh2.

Откуда m1 1 cos 0 m1 1 cos 1 m2 1 cos 2 .

Далее приходим к уравнению связи:

cos 0 cos 1 m2 1 cos 2 . m1

19

Найдем, при каком соотношении масс x m2 m1 сталкивающихся шаров углы их отклонения после столкновения будут одинаковыми. Полагая в (3.6) и (3.7) 1 2 , придем к квадратному уравнению x2 2x 3 0 , откуда x m2 m1 3 .

Указания по подготовке к работе

Создайте таблицы (по форме табл. 3.1 и 3.2) для записи параметров установки и результатов наблюдений.

Указания по проведению наблюдений

1.Включите установку, нажав на СЭ-1 кнопку «Сеть».

2.Переведите установку в режим «Удар», переключив тумблер в нижней части установки слева в положение на себя.

3.Убедитесь, что в качестве шара m1 (на левом подвесе) используется

шар меньшей массы.

4. Подведите к электромагниту 4 шар m1 и убедитесь, что он удержива-

ется им. Для этого на СЭ-1 должна быть нажата кнопка «Стоп». Установите поворотом штанги 5 начальный угол 0 отклонения подвеса шара m1. Поль-

зуясь поворотным индикатором 6 и шкалой 7 (рис. 3.1), измерьте этот угол и занесите в табл. 3.1.

5.Подготовьте поворотный индикатор 8 к измерению угла отклонения 2 подвеса шара m2 . Для этого установите его в положение, близкое к 0°.

6.Нажатием кнопки «Пуск» на электронном блоке СЭ-1 отключите питание электромагнита и освободите шар m1.

7.Снимите показания со шкалы 9 и запишите полученное значение угла отклонения 2 подвеса шара m2 после первого удара в табл. 3.1.

8.Нажатием кнопки «Стоп» включите питание электромагнита и вновь подведите к нему шар m1. Повторите опыт (п. 6–7) пять раз.

9.Верните на место шар малой массы m1, отклонив его подвес на угол 0 .

Проведите качественный опыт с целью наблюдения особенностей второго упругого удара. Убедитесь, что шар большей массы m2 после второго удара

останавливается, а шар m1 отклоняется почти на первоначальный угол 0 .

10. Выключите установку, нажав кнопку «Сеть», и уберите принадлежности к работе (если таковые имеются) в контейнер для нее.

20