Материал: Lab1n_7n

Внимание! Если размещение файла нарушает Ваши авторские права, то обязательно сообщите нам

мерения k больше? Замечание: два значения физической величины считаются статистически неразличимыми, если среднее значение одного из них попадает в доверительный интервал другого. Если это условие не выполняется, то в опыте присутствует не выявленная систематическая погрешность, и факторы, приводящие к ней, экспериментатор должен выявить. Либо следует сделать заключение об отсутствии соответствия между теорией и опытом.

7.По данным расчетов в п. 2–4 сделайте заключение о соответствии теории и опыта.

8.Вычислите тепло Q (1.3), выделившееся при неупругом столкновении тел в данной работе, для пули с большей массой.

Контрольные вопросы

1.Какой маятник называют баллистическим? Можно ли его рассматривать как математический маятник и почему? По какой формуле рассчитывается период колебаний математического маятника?

2.Если маятник считать математическим, то за какое время после удара пули он отклонится на максимальный угол?

3.Дайте определения импульса тела, его кинетической и потенциальной энергии. Каков их физический смысл?

4.Сформулируйте второй закон Ньютона в дифференциальной и интегральной форме.

5.Какая система тел называется замкнутой и замкнутой в направлении

оси x?

6.Когда выполняется закон сохранения импульса в системе тел?

7.Дайте определение центра масс системы тел.

8.Покажите, что импульс системы тел совпадает с импульсом ее центра

масс.

9.Какие виды соударений тел существуют? Какой удар называют абсолютно неупругим?

10.Какой системой уравнений описывается абсолютно неупругий удар? Используя эти уравнения, выведите формулы (1.3).

Работа 2н. НЕУПРУГОЕ СОУДАРЕНИЕ ШАРОВ

Цель работы: экспериментальная проверка законов сохранения импульса и энергии при абсолютно неупругом столкновении шаров, подвешенных на бифилярных подвесах, по углу их совместного отклонения после столкновения.

11

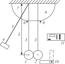
Приборы и принадлежности. Лабораторная установка для изучения неупругого удара (рис. 2.1) представляет собой два стальных шара с массами m1 и m2 (на боковой поверхности шара m2 в точке столкновения нанесен

пластилин), закрепленных на бифилярных подвесах 3. Длины бифилярных подвесов от оси их подвеса до центров масс шаров одинаковы и равны L. Шар m1 мо-

жет удерживаться в отклоненном положении электромагнитом 4. Положение электромагнита может изменяться за счет пово-

 

рота штанги 5.

 

 

Начальный угол

отклонения подвеса

 

шара m1 от вертикального положения оп-

 

ределяется с помощью поворотного инди-

Рис. 2.1

катора 6 и шкалы 7. Поворотный индика-

тор 8 со шкалой 9

позволяет определить

 

угол совместного отклонения бифилярных подвесов слипшихся шаров после удара. Устройство 10 позволяет предотвратить отклонение шаров после соударения, если это необходимо. Управление электромагнитом осуществляется с помощью блока 11. Установка имеет два режима работы, регулируемых тумблером «плоскость»/«удар», находящимся в ее нижней части слева.

Исследуемые закономерности

Исследуемые закономерности абсолютно неупругого соударения тел описаны в работе 1н.

Если шар m2 до столкновения покоился (v2 0) , то скорость шаров после их столкновения и выделившееся при ударе тепло будут равны

 

m v

 

m m v2

 

 

v

 

1 1

, Q

1

2 1

.

(2.1)

m

m

2(m m )

 

 

 

 

 

1

2

 

1

2

 

 

В данной работе в опыте измеряются не скорости шаров, а углы отклонения 0 и подвесов, на которых шары подвешены, до и после удара.

Если шар m1 до столкновения был отклонен от положения равновесия на угол 0 , то он относительно своего начального положения поднимется на высоту h0 L 1 cos 0 , где L – расстояние от оси вращения подвесов до

центра масс шара.

12

Согласно закону сохранения энергии m1gh0 m1v12 2 шар m1 перед столкновением с покоящимся шаром m2 будет иметь скорость

v1

2gh0

2gL 1 cos 0 .

После столкновения шаров их подвесы отклонятся на угол и шары

поднимутся на высоту h L 1 cos

 

 

А их скорость после столкновения.

согласно закону сохранения энергии

будет равна

 

 

 

v

2gh

2gL 1 cos .

Подставляя полученные выражения для скоростей v1 и v в первую фор-

мулу (2.1), получим формулу для косинуса угла отклонения подвесов после неупругого удара:

 

 

m

2

1 cos 0 .

 

cos 1

 

1

 

(2.2)

m m

 

1

2

 

 

 

Указания по подготовке к работе

Создайте таблицы (по форме табл. 2.1 и 2.2) для записи параметров установки и результатов наблюдений.

Указания по проведению наблюдений

1.Переведите установку в режим «Удар», переключив тумблер в нижней части установки слева в положение на себя.

2.Убедитесь, что в качестве шара m1 (на левом подвесе) используется

шар меньшей массы, а в точке столкновения шаров на большем шаре m2 нанесен пластилин.

3.Включите электронный блок управления электромагнитом 11 (рис. 2.1).

4.Подведите к электромагниту 4 шар m1 и убедитесь, что он удержива-

ется им. Установите поворотом штанги 5 начальный угол 0 20 отклонения подвеса шара m1 . Пользуясь поворотным индикатором 6 и шкалой 7 (рис. 2.1), измерьте этот угол и занесите в табл. 2.1.

5. Подготовьте поворотный индикатор 8

к измерению угла отклоне-

ния подвесов шаров после неупругого удара.

Для этого установите его в

положение, близкое к 0 .

 

13

 

Таблица 2.1

Определение угла отклонения α шаров, подвешенных на бифилярных подвесах, после их абсолютно неупругого столкновения при N = 3, P = 95 %, βP,N = 1.3, θα = 2.5°

 

 

 

 

 

 

 

 

 

 

 

 

 

m

2

1 x0

 

m

2

 

 

 

 

 

 

 

 

 

x

cos

 

 

 

sin

 

 

 

 

 

1

 

 

 

1

 

 

 

 

 

 

sin

0

0

x0

0

 

y 1

 

 

y

 

 

x

 

x cos

x

 

0

 

 

 

 

 

m2

 

 

 

 

 

 

 

 

 

 

 

 

 

 

m1

m2

 

m1

 

0

 

 

 

 

 

 

 

1

 

 

 

 

 

 

 

 

 

 

 

 

 

 

 

 

 

 

 

 

 

 

 

 

20°

 

 

 

 

 

 

 

 

 

 

 

 

 

 

 

 

 

 

 

 

 

 

 

 

 

 

 

 

 

 

 

 

 

 

 

 

 

 

 

 

 

 

 

 

 

 

 

 

 

 

 

 

 

 

 

 

 

 

 

 

 

 

 

 

 

 

 

 

 

 

 

 

 

 

 

 

 

 

3

 

 

 

 

 

 

 

 

 

 

 

 

 

 

 

 

 

 

 

 

 

 

 

 

1

60° … 3

14

 

 

 

 

Таблица 2.2

 

Константы эксперимента

 

 

 

 

 

 

 

 

m1, г

 

m2 , г

 

L, см

45 ± 1

 

131 ± 1

 

23.9 ± 0.1

 

 

 

 

 

 

 

6.Нажатием кнопки «Пуск» на электронном блоке отключите питание электромагнита и освободите шар m1.

7.Снимите показания со шкалы 9 и запишите значение угла отклонения подвесов шаров после их столкновения в табл. 2.1. Повторите опыт по определению угла отклонения для данного значения 0 три раза.

8.Повторите опыт (п. 3–6) пять раз, изменяя угол 0 с шагом 10° и занося измеренные значения углов 0 и в табл. 2.1.

9.Выключите установку, нажав кнопку «Сеть», и уберите принадлежности к работе в контейнер для нее.

Задания по обработке результатов эксперимента

1.Выведите формулы приборных погрешностей x и у в табл. 2.1.

2.Заполните табл. 2.1 и рассчитайте выборочным методом по табл. П.4 в приложении значения параметров x x x для N 3 и P 95 % для каждого угла отклонения 0 . Для простоты случайную погрешность x P,N Rx

рассчитывайте по размаху выборки.

3.Постройте по табл. 2.1 зависимость y y x0 на координатной плоскости XOY и нанесите на нее экспериментальные точки xi , где i 1, 2, , 5 – номер угла отклонения 0 маленького шара перед столкновением.

4.Проверьте выполнение условия xi yi i 1, 2, , 5 . Сделайте соответ-

ствующее заключение о выполнимости закона сохранения импульса при абсолютно неупругом ударе тел. Замечание: два значения физической величины считаются статистически неразличимыми, если среднее (истинное) значение одного из них попадает в доверительный интервал другого. Если это условие не выполняется, то в опыте присутствует не выявленная систематическая погрешность, и факторы, приводящие к ней, экспериментатор должен выявить. Либо следует сделать заключение о несоответствии теории и опыта.

5. Рассчитайте для максимального угла отклонения 0 малого шара его скорость v1 перед столкновением с большим шаром и скорость v слипшихся шаров после столкновения.

Контрольные вопросы

1.Какой маятник называют математическим? Можно ли шары на подвесах

вданной работе рассматривать как математические маятники и почему? По какой формуле рассчитывается период колебаний математического маятника?

15