Материал: IR1

Внимание! Если размещение файла нарушает Ваши авторские права, то обязательно сообщите нам

поверхность стеклянной пластинкой или пластинкой отполированного металла таким образом, чтобы уровень порошка находился на уровне верхней грани чашечки.

B)Настройте эллиптические зеркала (Е1, Е2) путем передвижения пальцем руки

(10)опорного рычага держателя приставки в вертикальное положение.

C)Осторожно поместите чашечку, наполненную порошком KBr или KCl в держатель образца (6). Постарайтесь избежать даже малейшего просыпания образца в приставку.

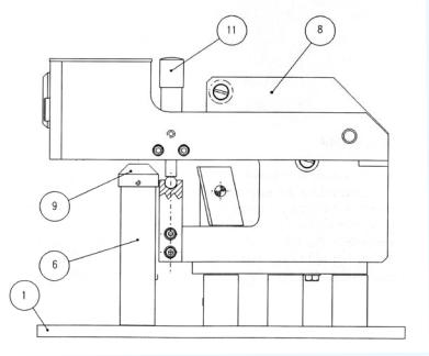
Рис. 3.19. Вид спереди приставки для направления луча слева направо

D) Опустите опорным рычагом держателя приставки эллиптические зеркала (E1, E2) в их нижнее положение таким образом, чтобы винт микрометра (11), регулирующий высоту, опирался на стальной шарик(12). Глушитель колебаний (13) приспособлен для обеспечения того, чтобы верхняя опора эллиптического зеркала при передвижении опиралось на стальной шарик без повреждения приставки.

На этом этапе на детектирующей системе спектрометра можно заметить, что небольшое количество излучения проходит, отражаясь от образца, на детектор. Для того, чтобы увидеть, какое количество энергии попадает на детектор, необходимо на верхней панели управляющей программы Spectrum One отрыть меню Instrument→Monitor.

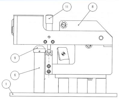
Рис. 3.20. Вид спереди приставки для направления луча справа налево

Точная юстировка

После того, как образец установлен в держатель образца, и детектирующая система спектрометра показывает небольшое количество энергии прошедшего через образец излучения, необходимо провести точную юстировку оптики спектрометра. Она заключается в нахождении такого положения зеркал, при котором наблюдается максимум сигнала, измеренного детектирующей системой спектрометра. Поместите рычаг для вращения зеркал поместите в отверстие на панели (14) выходного зеркала (M4), располагающееся на передней части прибора. Осторожно двигайте рычаг вправо или влево, наблюдая за сигналом. Данный рычаг обеспечивает юстировку внешнего зеркала (M4) путем его вращения.

E)Поместите 2 мм шестигранный ключ в установочный винт с плоским концом (15), ориентированный вертикально вверх, и поворачивайте его по часовой или против часовой стрелки, наблюдая за сигналом.

Следите за тем, чтобы не закрыть рукой оптический путь луча спектрометра.

F)1.5 мм шестигранным ключом отрегулируйте внешнее эллиптическое зеркало (M2), помещая ключ в диагональные установочные винты (16) и поворачивая его по часовой или против часовой стрелки, наблюдая за сигналом.

Замечание: использовать угловой установочный винт (17) при юстировке запрещается!

G)Поднимите сигнал, регулируя высоту эллиптических зеркал над поверхностью образца. Поворот по часовой стрелке установочного винта микрометра (11) увеличит расстояния от зеркал до образца, в то время как поворот против часовой стрелки

уменьшит это расстояние и подвинет их ближе к образцу. Однако существует минимальное расстояние между зеркалами и образцом, достигнув которого поворот против часовой стрелки нужно прекратить. Движение эллиптических зеркал рукой останавливается гасителем колебаний (13).

Рис. 3.21. Боковая проекция приставки для направления луча слева направо

H) Повторяйте операции E) и H) то тех пор, пока значение энергии прошедшего через образец излучение не будет максимальным. Обычно значение энергии, прошедшего через образец излучения составляет около 5% по отношению к прямому пучку.

При использовании наклоненной чашечки, которая собирает рассеянную и зеркальную компоненты отраженного света, наблюдается наиболее высокий энергетический сигнал. Помимо использования процедур E) и H) энергетический сигнал может быть повышен путем небольшого вращения наклоненной чашечки. После оптимизации энергетического сигнала следует плотно закрутить фиксирующий винт, находящийся на наклоненной чашечке, тем самым закрепив чашечку на опоре для держателя образца.

Рис. 3.22. Боковая проекция приставки для направления луча справа налево

Анализ образцов

Исследование образцов на приставке для снятия спектров диффузного отражения проводится как в чашечках для образца, так и используя абразивные держатели.

Чашечка для образца

A)Снимите спектр отражения фона (см. раздел методика измерений), используя в качестве него мелкодисперсные порошки KBr или KCl. (Эллиптические зеркала на опорном рычаге должны быть опущены вниз)

B)Рукой приподнимите эллиптические зеркала (10) в вертикальное положение для обеспечения прохода чашечки для образца.

C)Извлеките чашечку для образца и наполните ее смесью образца и KBr или KCl. После этого, осторожно выровняйте верхнюю поверхность смеси стеклянной пластинкой или пластинкой отполированного металла таким образом, чтобы уровень порошка находился на уровне верхней грани чашечки.

D)Поместите наполненную чашечку в держатель и опустите эллиптические зеркала вниз. Запишите спектр образца (см. раздел методика измерений).

Абразивные держатели

При использовании абразивных пластин, в качестве фона следует использовать спектры самих пластин. Однако, эта они могут давать низкий пропускной сигнал на

некоторых спектрометрах. Для того, чтобы избежать этого, рекомендуется насыпать порошок KBr или KCl на абразивную пластинку для улучшения сигнала фона.

E)Возьмите абразивный держатель и зафиксируйте чистую 11 мм абразивную пластинку на лицевой стороне стального держателя (они имеют клейкую нижнюю поверхность).

F)Поместите абразивный держатель и пластину в опору для держателя образцов (6) приставки (вставив зажим абразивного держателя в отверстие, находящееся на верхней части опоры для держателя образцов), опустите эллиптические зеркала вниз и зарегистрируйте спектр отражения с фона (см. раздел методика измерений).

G)Приподнимите эллиптические зеркала для обеспечения доступа для абразивного держателя и подушечки и извлеките их из опоры для держателя образцов. Отберите пробу с поверхности образца при помощи абразивной пластинки.

H)Поместите абразивный держатель и пластинку в приставку. Опустите эллиптические зеркала в нижнее положение и зарегистрируйте спектр отшлифованного образца (см. раздел методика измерений).

Используемые обозначения

1.Базовая плата приставки

2.Фиксируемые щели

3.Установочный штифт, расположенный на базовой плате

4.Опора базовой платы для установочного штифта

5.Плоская поддерживающая опора

6.Опора для держателя образца

7.Шестигранный ключ

8.Держатель для абразивной пластинки

9.Чашечка для образца

10.Ручка для переноса приставки

11.Винт микрометра, регулирующий высоту

12.Стальной шарик (упор)