Материал: IR1

Внимание! Если размещение файла нарушает Ваши авторские права, то обязательно сообщите нам

Выбрать формат ACSII и нажать Save.

Рис.3.16. Общий вид приставки для снятия спектров диффузного отражения

Приставка для снятия спектров диффузного отражения

Введение

Отражение света от поверхности твердого тела может быть или диффузным или зеркальным или иметь и ту и другую составляющую (полное отражение). Диффузно-отраженный свет представляет собой излучение, которое было диффузно рассеяно веществом образца. Данная приставка (рис.3.16.) использует оптимальную конфигурацию внеосевых оптических элементов, которая позволяет выделять и детектировать максимальную интенсивность диффузной компоненты отраженного излучения, минимизуя вклад зеркального отражения. Внеосевое расположение зеркал также позволяет расширить возможности приставки, используя ее совместно с другими специализированными приставками, например с камерой для измерений в газовой атмосфере.

Комплект кювет для образцов включает стандартную чашечку диаметром 11 мм, микрочашечку диметром 4 мм и наклонную чашечку. Наклонная чашечка может использоваться для съемки полного отражения образцов. Дополнительно имеется держатель образца с абразивной поверхностью, который используется совместно с абразивными пластинками диаметром 12 мм. При помощи абразивной пластинки можно отобрать пробу с поверхности образца, а затем поместить ее на соответствующий держатель в приставке.

Направления хода луча в приставке имеет значение. Приставка с направление луча слева направо или справа налево (направление от источника излучения к детектору в спектрометре) подойдет только к соответствующей базовой плате, которая также определяется направлением луча в спектрометре. Меняя базовую плату, приставку можно установить в различные спектрометры, однако при этом оптические системы спектрометров должны иметь одинаковое направление луча.

Комплект поставки

1 приставка с собранной оптической схемой в конфигурации для распространения луча слева направо или справа налево

1 базовая плата с 4мя крепежными стойками в конфигурации для распространения луча слева направо или справа налево

1 опора для держателя образцов

1 микро чашечка для образцов (диаметр - 4 мм, глубина - 2.5 мм)

2 стандартных чашечки для образцов (диаметр - 11 мм, глубина - 2.5 мм)

1 наклонная чашечка

2 абразивных держателя

1 комплект абразивных пластинок и клейкой нижней поверхностью (диаметр 20 и 12 мм)

1 удлиненный Т- образный шестигранный ключ

1 шестигранный ключ 1.5 мм

1 шестигранный ключ 2.0 мм

1 рычаг для вращения и регулировки зеркал

Болты и шайбы для закрепления основы приставки

Аккуратно извлеките приставку вместе с базовой платой и другими компонентами из упаковки для установки в спектрометр.

Меры предосторожности

При работе с приставкой и прилагающимися к ней стандартной базовой платой и держателями для образцов соблюдение специальных мер предосторожности не требуется, за исключением случаев работы с вредными веществами (например, если образец является токсичным, опасным).

При работе с приставкой в комплекте с газовой камерой необходимо соблюдать меры предосторожности, рекомендованные в руководстве пользователя для газовой камеры, так как там используются повышенные температуры и давления.

Установка

Установка базовой платы

Приставка для снятия спектров диффузного отражения закрепляется на специальной базовой плате внутри спектрометра, что обеспечивает ее стабильность при работе. Данная приставка поставляется вместе с базовой платой и набором необходимых болтов для закрепления внутри спектрометра, на котором предполагается проводить анализы.

При работе со спектрометрами некоторых моделей (такие как Mattson, Bruker и Nicolet 500/700) требуется отдельно установить базовую плату приставки в отсек для образцов перед установкой на нее оптической схемы. В случае использования других моделей спектрометров установка оптической схемы на базовую плату приставки производится перед установкой в отсек для образцов спектрометра.

Закрепление оптической схемы приставки на базовой плате

А) Осторожно поднимите оптическую часть приставки и расположите ее над базовой платой. Лучше при этом держать рамку с эллиптическими зеркалами в опущенном (рабочем) положении, что позволит вам видеть расположение крепежных отверстий и болтов на приставке и совместить их со стержнями на базовой плате. Опустите оптическую часть приставки на базовую основу (1) так, чтобы два контрольных отверстия (2) на дне оптической части приставки наделись на два установочных штифта

(2) на крепежных опорах (4), а другая сторона приставки расположилась на третьем плоском крепежной опоре (5).

Замечание: крепежные отверстия и штифты/опоры располагаются слева в приставках для направления луча слева направо и справа для направления луча справа налево. Невозможно установить приставку с направлением луча слева направо на базовую плату для направления луча справа налево (или наоборот).

Опора для держателя образцов (6) должна располагаться в передней части базовой платы под эллиптическими зеркалами (Е1, Е2, см. рис.3.17).

Рис. 3.17. Вид сверху приставки для направления луча слева направо

Б) Используя Т-образный шестигранный ключ, аккуратно затяните шестигранный болт (7) в четвертую среднюю опору на базовой плате (рис.3.18.). Болт должен быть мягко затянут, чтобы зафиксировать положение приставки на базовой плате, но не перетянут.

(Оптическая часть приставки не должна полностью опираться на четвертую среднюю опору).

В) Установите приставку с базовой платой в спектрометр, если оптическая часть была закреплена на базовой плате не внутри отсека для образцов в спектрометре. Собранную приставку можно поднимать и перемещать, держа за специальную ручку (8).

Рис. 3.18. Вид сверху приставки для направления луча справа налево

Калибровка приставки

Приставка для снятия спектров диффузного отражения была откалибрована перед поставкой фирмой-производителем и требуется лишь небольшая юстировка для увеличения эффективности работы спектрометра.

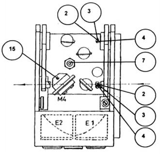
Замечание: только эллипсоидальные зеркала (E2) и зеркало (M4) можно юстировать. Зеркала (E2) и (M4) находятся на на левой или правой стороне оптического элемента в зависимости от конфигурации спектрометра.

Перед юстировкой и работой на приставке образец должен быть помещен в одну из выбранных чашечек или на абразивную пластину. В качестве образца сравнения для юстировки и спектров фона нужно взять измельченный порошок KBr или KCl. Порошок нужно поместить в чашечку (9), которую, в свою очередь, поместить в держатель для образца (6). Во избежание просыпания образца наполнять чашечку следует, предварительно подняв оптический элемент из спектрометра.

Помещение образца в чашечку

A) Возьмите стандартную 11 мм чашечку, наполните ее мелко дисперсным порошком бромида или хлорида калия. После этого, осторожно выровняйте верхнюю