Материал: 2518

Внимание! Если размещение файла нарушает Ваши авторские права, то обязательно сообщите нам

Современная технология периодического газлифта базируется на однорядных подъемниках кольцевой системы, оборудованных

пусковым клапаном на конце НКТ и пакером (рис. 3.7).

Пакер – устройство, предназначенное для герметичного разобщения межтрубного пространства между эксплуатационной колонной и НКТ и изоляции внутреннего пространства эксплуатационной колонны от воздействия скважинной среды. Пакер спускается в скважину в составе эксплуатационной колонны и устанавливается в заданном интервале колонны.

Пусковые клапаны – приспособления, посредством которых устанавливается или прекращается связь между межтрубным пространством скважины и НКТ.

Различают наружные (стационарные) клапаны, которые крепятся на колонне НКТ снаружи, и внутренние (съёмные), которые

крепятся на НКТ внутри газлифтных камер (рис. 3.8). Извлекаются и

устанавливаются внутренние клапаны, в отличие от наружных, с по-

 

 

 

 

И

мощью канатной техники без подъёма колонны НКТ на поверхность.

 

Д

А

 

 

 

 

 

 

 

Ркл

 

 

 

 

 

 

 

 

 

 

 

 

Рг

 

 

 

 

 

 

 

 

 

 

Рж

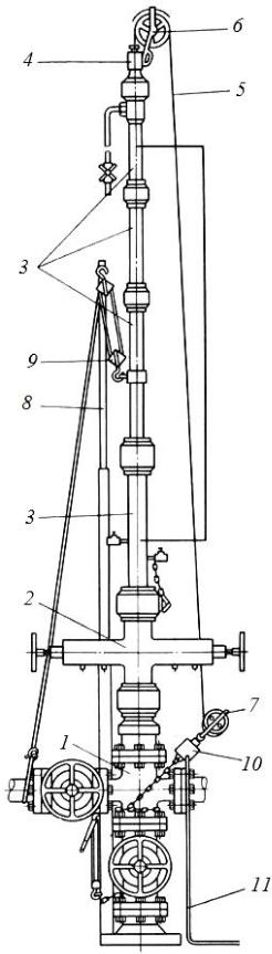
Рис. 3.7. Пакер ПВ-ЯГ-Н-122-30:

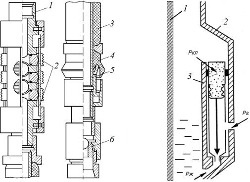
Рис. 3.8. Схема внутреннего

1 – муфта с присоединительной резьбой;

газлифтного клапана:

2 – якорный узел; 3 – уплотнительный

1 – стенка НКТ; 2 – эксцентричная

элемент; 4 – вторичный уплотнительный

камера (мандрель); 3 – посадочный

С

 

 

карман

элемент; 5 – ствол пакерный; 6 – конус

 

 

посадочный

91

Клапаны спускают в скважину на расчетные глубины. При нагнетании газа уровень жидкости снижается в затрубном пространстве

них (см. рис. 3.8). Происходит частичный выброс жидкости, которая находится внутри труб выше клапана. После выброса жидкости клапан закрывается и открывается вновь только при накоплении жидкости в НКТ до определенной величины.

и повышается в подъемных трубах. Когда газ в затрубном пространстве достигнет уровня клапана и его давление Рг превысит гидростатическое давление столба жидкости в подъемных трубах Рж, он прорывается через клапан в трубы и газирует жидкостьИ, находящуюся в

ная техника состоит из устьевогоАлубрикатораДи экстрактора. Примером канатной техники может служить специальное обо-

Для спуска и извлечения газлифтных клапанов, устанавливаемых в специальных эксцентричных камерах – мандрелях, или установки заглушек вместо газлифтных клапанов через НКТ в области газлифтной эксплуатации применяется специальная канатная техника. Канат-

рудование устья газлифта ОУГ-80х350 с проходным диаметром 80 мм и рассчитанное на давление 35 МПа, представляющее собой лубрикатор особой конструкции (рис. 3.9). На фланец верхней крестовины 1 газлифтной арматурыбили на фланец буферной задвижки устанавливается малогабаритный перекрывающий механизм – превентор 2 с ручным приводом, имеющий эластичные (резиновые) уплотняющие

элементы, с помощью которых можно перекрыть скважину даже в том случаеи, когда в ней остается проволока. На превентор с помощью быстросъемных соединений крепятся секции лубрикатора 3, на верхнем конце которых имеются сальник 4 для пропуска проволоки 5 или тонкого каната и ролик 6. Внизу арматуры укрепляется натяжной

Сшкив 7, через который канатик направляется на барабан лебедки. Параллельно лубрикатору крепится небольшая съемная мачта 8 с полиспастом 9 для облегчения поднятия и сборки лубрикатора и ввода в

него необходимого инструмента или извлечения поднятых клапанов. Натяжной шкив связан механически с датчиком 10, преобразующим силу натяжения канатика в электрические сигналы, передаваемые по кабелю 11 на индикаторное устройство. Датчик показывает натяжение канатика и дает информацию о захвате и извлечении газлифтного клапана из посадочной камеры. При использовании канатной техники по натяжению канатика можно судить о проводимых операциях на глубине. В связи с этим точности определения натяжения канатика придается особое значение при использовании канатной техники.

92

И

Си Рис. 3.9. Общий вид устьевого лубрикатора

93

В качестве привода для барабана лубрикатора используется гидравлическая лебедка, смонтированная в кузове микроавтобуса либо на

специальной раме, переносимой вертолетом при использовании на заболоченных территориях. Агрегат ДГТА-4 смонтирован на шасси автомобиля УАЗ-452 и состоит из масляного насоса с приводом от двигателя автомобиля, двухскоростной лебедки с приводом от гидродвигателя, системы гидрооборудования, включающей клапанные и золотниковые устройства, а также гидросистему управления лебедкой. Перед оператором в кабине установлены индикатор натяжения проволоки и указатель глубины.

нения, позволяющие точно завести клапан в посадочныйИкарман мандреля. На нижнем конце экстрактора имеется захватное пружинное

Экстрактор – инструмент, позволяющий завести в мандрель

газлифтный клапан, а также извлечь его из мандреля. Для ориентации

экстрактора в верхней части мандреля установлена специальная на-

правляющая втулка, позволяющая направить инструмент в посадоч-

ный карман. Экстрактор имеет подпружиненные шарнирные соеди-

устройство, которое освобождает (захватывает) головку газлифтного

ски при всех диаметрах эксплуатационных колонн и форсированного отбора сильнообводненных скважин;

клапана, находящегося в кармане. Экстрактор спускается внутрь ко-

лонны НКТ на проволоке.

 

Преимущества газлифтного способаДэксплуатации скважин:

1) возможность отбора больших объемов жидкости практиче-

 

А

б

2)

эксплуатация скважин с большим газовым фактором, т.е. ис-

пользование энергии пластового газа;

3)

малое влияние профиля ствола скважины на эффективность

С

работы газлифта, что особенно важно для наклонно направленных

скважин;

4)

отсутствие влияния на работу скважин высоких давлений и

температуры, а также наличия в продукции скважины мехпримесей;

5)

гибкость и сравнительная простота регулирования режима

работыискважин по дебиту;

6)

простота обслуживания и ремонта газлифтных скважин и

большой межремонтный период их работы при использовании совре-

менного оборудования;

7)

возможность применения одновременной раздельной экс-

плуатации, эффективной борьбы с коррозией, отложениями солей и парафина, а также простота исследования скважин.

94

Недостатки газлифтного способа эксплуатации скважин:

большие начальные капитальные вложения в строительство компрессорных станций;

сравнительно низкий КПД газлифтной системы;

возможность образования стойких эмульсий в процессе подъема продукции скважин. И Исходя из указанного выше, газлифтный способ эксплуатации скважин в первую очередь выгодно использовать на крупных месторождениях при наличии скважин с большими дебитами и высокими за-

бойными давлениями после периода фонтанирования.Д

Разновидности насосных установок:

1)

штанговые;

А

2)

бесштанговые:

 

б

 

а) электроцентробежные;

б) винтовые.

Штанговый насос представляет собой плунжерный насос специальной конструкции, привод которого осуществляется с поверхности черезисобранную колонну штанг.

Установка штангового скважинного насоса (УШСН) (рис. 3.10, а) состоит из насоса 1, находящегося в скважине, и станкакачалки 6, установленного на поверхности у устья. Цилиндр 12 насоса укреплен на конце спущенных в скважину НКТ 9, а плунжер 11 под- Свешен на колонне штанг 2. Верхняя штанга (сальниковый шток) соединена с головкой 4 балансира 5 станка-качалки с канатной или цепной подвеской. В верхней части цилиндра установлен нагнетательный клапан 10, а в нижней – всасывающий клапан 13. Колонна НКТ, по которым жидкость от насоса поднимается на поверхность, заканчивается на поверхности тройником 3. Сальниковое устройство в верхней части тройника предназначено для предотвращения утечек жидкости вдоль движущегося сальникового штока (т. е. верхней насосной штанги). По боковому отводу в средней части тройника жидкость из скважины направляется в выкидную линию. Возвратно-поступательное движение колонне насосных штанг передается от электродвигателя 8 через ре-

дуктор 7 и кривошипно-шатунный механизм станка-качалки.

95