Материал: 2518

Внимание! Если размещение файла нарушает Ваши авторские права, то обязательно сообщите нам

клапана 5 подается напряжение на катушку клапана. Клапан 5 имеет также ручной привод, используемый при техническом обслуживании или наладке станции.

Через кран 8 газ подается на входы клапанов с электромагнит-

ным управлением 9, 10, 11, предназначенные для управления соответ-

ственно приводами 12

И

ПКО, СЗ, БЗ. Приводы СЗ и БЗ условно не по-

казаны. Для открытия клапанов 9, 10, 11 подается напряжение на их катушки.

После открытия клапана 9 газ подается на привод распределителя 12. При открытии распределителя 12 гидравлическая жидкость под давлением через игольчатый вентиль поступает на привод ПКО. Контроль над давлением гидравлической жидкости в линии ПКО осуще-

линии управления ПКО создаетсяАприДпомощи масляного блока 14, расположенного в шкафу станции управления. При подаче давления управляющего газа насос 7 включается, увеличивая давление масла до требуемого значения. Далее масло под давлением подается на вход распределителя 12. Одновременно на пневмопривод распределителя 12 подается управляющеебдавление газа. Распределитель 12 открывается, и масло под давлением поступает в гидропривод ПКО. Визуальный контроль давления масла в линии нагнетания насоса 7 в станции

ствляется датчиком давления 13.

Давление гидравлической жидкости, преимущественно масла, в

осуществляется по манометру 15.

иПосле открытия клапана 10 газ под давлением через клапан быстрого выхлопа подается на привод СЗ. Контроль давления управляющего газа в линии СЗ осуществляется при помощи датчика 16.

После открытия клапана 11 газ под давлением через клапан бы- Сстрого выхлопа подается на привод БЗ. Контроль давления управ-

ляющего газа в линии БЗ осуществляется при помощи датчика 17. Алгоритм работы всех клапанов в автоматическом режиме, за-

ключающемся в открытии/закрытии запорно-регулирующей арматуры в следующей последовательности: ПКО → СЗ → БЗ (закрытие – в обратном порядке), осуществляется при помощи шкафа управления 18 станции (рис. 3.4). Команды управления вводятся в блок управления 19, выполненный в виде программно-технического комплекса, в интерактивном режиме при помощи монитора 20 или клавиатуры 21.

Пневмогидравлическая система станции управления соединена через датчики контроля параметров работы 13, 16, 17 станции с блоком управления станции 19.

86

И

Си

Рис. 3.4. Общий вид шкафа управления

3.5. Газлифтный способ эксплуатации скважин

После прекращения фонтанирования из-за нехватки пластовой энергии переходят на механизированный способ эксплуатации скважин, при котором вводят дополнительную энергию с поверхности. Одним из таких способов является газлифт.

Газлифт (эрлифт) – система, состоящая из эксплуатационной (обсадной) колонны труб и опущенных в нее НКТ, в которой подъем жидкости осуществляется с помощью сжатого газа (воздуха). Иногда эту систему называют газовый подъемник.

87

По схеме подачи от вида источника рабочего агента – газа (воз-

духа) – различают компрессорный и безкомпрессорный газлифт, ко-

гда в качестве рабочего агента для газового подъемника используют газ из газовых пластов с высоким давлением. Компрессорный газлифт характеризуется наличием компрессорной станции со всеми узлами и агрегатами. Газлифтная эксплуатация может быть непрерывной или периодической. Периодический газлифт применяется на скважинах с

жидкости, поступающей из пласта. Чем больше будетИвведено газа, тем меньше будет плотностьАсмеси и тем на бóльшую высоту она поднимется. При непрерывной подаче газа в скважину газожидкостная смесь поднимается до устья и изливается на поверхность, а из

дебитами до 40 – 60 т/сут или с низкими пластовыми давлениями.

гда уровень жидкости понизится до нижнего конца НКТ, сжатый газ начнет поступать в НКТ и перемешиваться с жидкостью. В результате плотность такой газожидкостной смеси становится ниже плотности

Принцип газлифтной эксплуатации состоит в нагнетании газа высокого давления на забой, в результате чего уровень жидкости в затрубном пространстве будет понижатьсяД, а в НКТ – повышаться. Ко-

пласта постоянно поступает в скважину новая порция жидкости.

Дебит газлифтной скважины зависит от количества и давления нагнетаемого газа, глубины погружения НКТ в жидкость, их диаметра, вязкости жидкости и т.п. Конструкции газлифтных подъемников определяются в зависимости от числа рядов НКТ, спускаемых в

скважину, и направления движения сжатого газа (рис. 3.5).

 

 

Смесь

Газ

Смесь

Газ

 

Смесь

Газ

Газ

Смесь

 

 

 

 

Газ

Смесь

 

 

 

 

а

б

 

в

г

д

 

Рис. 3.5. Схемы конструкций газлифтных подъемников

 

СПри однорядном подъемнике в скважину спускают один ряд

НКТ. Сжатый газ нагнетается в кольцевое пространство между об-

88

садной колонной НКТ, а газожидкостная смесь поднимается по НКТ или газ нагнетается по НКТ, а газожидкостная смесь поднимается по кольцевому пространству. В первом случае имеем однорядный подъ-

емник кольцевой системы (рис. 3.5, а), а во втором – однорядный

подъемник центральной системы (рис. 3.5,б).

И

При двухрядном подъемнике в скважину спускают два ряда

концентрически расположенных труб. Если сжатый газ направляется в кольцевое пространство между двумя колоннами НКТ, а газожидкостная смесь поднимается по внутренним подъемным трубам, то такой подъемник называется двухрядным кольцевой системы (рис. 3.5, в).

мы в скважину спускают два ряда НКТД, один из которых (наружный ряд) ступенчатый; в верхней части – трубы большего диаметра, а в нижней – меньшего диаметра. Сжатый газ нагнетают в кольцевое пространство междубвнутренним и наружным рядами НКТ, а газожидкостная смесь поднимается по внутреннему ряду.

Наружный ряд НКТ обычно спускают до фильтра скважины.

Если сжатый газ подается по внутренним НКТ, а газожидкостная смесь поднимается по кольцевому пространству между двумя рядами НКТ, то такой подъемник называется двухрядным центральной

системы (рис. 3.5, г).

А

 

При двухрядном ступенчатом подъемнике кольцевой систе-

Недостатком кольцевой системы является возможность абразивного износа соединительных труб колонн при наличии в продукции скважиныимеханических примесей (песок). Кроме того, возможны отложения парафина и солей в затрубном пространстве, борьба с которыми в нем затруднительна.

Недостатком двухрядного подъемника является необходимость Сспуска двух рядов труб, что увеличивает металлоемкость процесса добычи. Поэтому в практике нефтедобывающих предприятий более широко распространен третий вариант кольцевой системы – полуторарядный подъемник (рис. 3.5, д), который имеет преимущества

двухрядного при меньшей его стоимости.

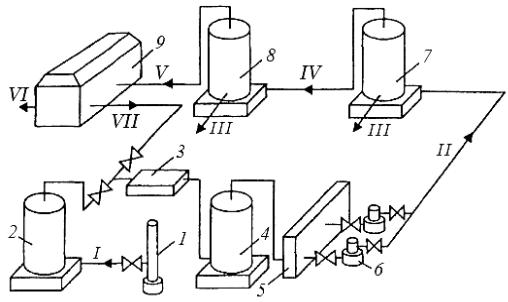
Комплекс оборудования и технологическая схема газлифтной эксплуатации скважины называется газлифтным циклом (рис. 3.6). При наличии газовой скважины высокого давления реализуется безкомпрессорный лифт. Газ из скважины 1 через газовый сепаратор 2 подается в теплообменник 3. Нагретый газ после дополнительной очистки в сепараторе 4 проходит через газораспределительную батарею 5 и направляется к газлифтным скважинам 6. Продукция скважин на-

89

правляется в газонефтяной сепаратор 7, после которого нефть поступает в коллектор, а газ, содержащий капельки нефти, проходит дополнительную очистку в сепараторе 8 и после сжатия в компрессорной станции 9 поступает в систему промыслового сбора.

Если газовой скважины высокого давления нет, то для газлифта используется попутный нефтяной газ. После компрессии газ из компрессорной станции 9 последовательно проходит теплообменник 3, газовый сепаратор 4 и так далее, пока вновь не поступит на станцию 9. В данном случае используется замкнутый газлифтный цикл, при котором нагнетаемый в скважины газ многократно используется для подъема жидкости.

При компрессорной эксплуатации скважины на нефтяном месторождении необходимо предусмотреть одну или несколько компрессорных станций с установленными в них компрессорами – машинами, сжимающими газ или воздух до необходимого давления. Компрессоры применяют поршневые двух- и трехступенчатые, газомо-

торные типа 8ГК, рассчитанные на давление до 5 МПа при произво-

дительности 13 м3

/мин.

И

Д

 

 

СРис. 3.6. Принципиальная схема газлифтного цикла:

1 – газовая скважина высокого давления; 2, 4, 8 – газовые сепараторы; 3 – теплообменник; 5 – газораспределительная батарея; 6 – газлифтная скважина;

7 – газонефтяной сепаратор; 9 – компрессорная станция;

I – газ высокого давления из газовой скважины; II – продукция газлифтной скважины; III – нефть; IV – газ низкого давления, содержащий капельную нефть; V – газ низкого давления, очищенный от нефти; VI – сжатый газ в систему промыслового сбора; VII – газ высокого давления после компрессорной станции

90