Материал: 2478

Внимание! Если размещение файла нарушает Ваши авторские права, то обязательно сообщите нам

НАЗЕМНЫЙ ТРАНСПОРТ

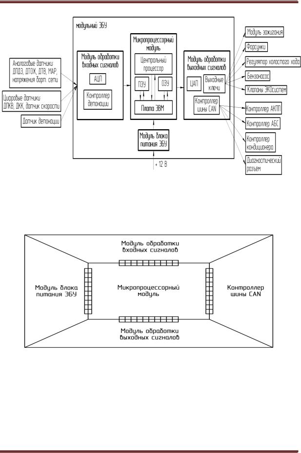
Рис. 4. Структурная схема модульного электронного блока управления

Каждый из модулей имеет свое функциональное назначение, как и в одноплатном решении. Для повышения ремонтопригодности предлагаемой конструкции ЭБУ отдельные модули должны быть съемными, заменяемыми и должны обладать универсальным интерфейсом подключения (рис. 5).

Рис. 5. Блок-схема модульного электронного блока управления

Заключение

Совершенствование характеристик быстродействия, точности работы, качества и надежности ЭБУ является на сегодняшний день актуальной задачей Предлагаемое в статье конструктивное решение повысит ремонтопригодность и надежность ЭБУ и снизит затраты при его ремонте.

Библиографический список

1. ЭБУ: принцип работы, достоинства и недостатки, причины поломок [Электронный ресурс].

АвтоМотоПроф, 2016. Режим доступа: http://avtomotoprof.ru/elektronnyie-sistemyi-avtomobilya/ebu-printsip- rabotyi-dostoinstva-i-nedostatki-prichinyi-polomok/ (дата обращения: 05.05.2016)

Техника и технологии строительства, № 3 (7), 2016

http://ttc.sibadi.org/

НАЗЕМНЫЙ ТРАНСПОРТ

2.«Мозги» двигателя» – электронный блок управления [Электронный ресурс] // AmasterCar.ru, 2016.

Режим доступа: http://amastercar.ru/articles/injection_fuel_15.shtml. (дата обращения: 05.05.2016)

3.Научно-производственное предприятие ЭЛКАР [Электронный ресурс]. – М. : ООО «НПП ЭЛКАР», 2016. Режим доступа: http://www.elcar.ru/ (дата обращения: 05.05.2016)

4.Научно-производственное предприятие «ИТЭЛМА» [Электронный ресурс]. – М.: ООО «НПП ИТЭЛМА»,

2016. Режим доступа: http://www.itelma.ru/ (дата обращения: 05.05.2016)

5.Калужский завод электронных изделий ОАО «Автоэлектроника» [Электронный ресурс]. – Калуга : ООО

«НПП АВТЭЛ», 2016. Режим доступа: http://www.ae.ru/ (дата обращения: 05.05.2016)

6.Системы управления бензиновыми двигателями [Текст]. – М.: ООО «Книжное издательство «За рулем», 2005. – 432 с.

7.Борщенко, Я.А. Электронные и микропроцессорные системы автомобилей: учебное пособие / Я.А. Борщенко, В.И. Васильев. – Курган: Издательство Курганского государственного университета, 2007.

– 207 с.

8.Поливаев, О.И. Электронные системы управления бензиновых двигателей: учебник для вузов / О.И. Поливаев, О.М. Костиков, О.С. Ведринский. – М.: Кнорус, 2011. – 96 с.

REVIEW OF METHODS OF OPERATIONAL PLANNING AND METHODS OF CARGO FULL SEND

V.D. Madeev, I.V. Lazuta

Abstract The article discusses a device, the structure and operation of electronic engine control units of modern cars. It tells the story of their origin, a block diagram of a comparative analysis of the component of electronic control units. Presents advantages and disadvantages of the engine management system, equipped with an electronic control unit. Suggest ways improving the electronic control units.

Keywords: electrical equipment, automobile, electronic control unit, the engine control system, block diagram.

Мадеев Вадим Дамирович (Россия, Омск) – студент, ФГБОУ ВО "СибАДИ", гр. ЭАТб-13А1 (644080,

пр. Мира, д. 5, e-mail: madeev95@mail.ru).

Лазута Иван Васильевич (Россия, Омск) – кандидат технических наук, доцент кафедры «Автоматизация производственных процессов и электротехника» ФГБОУ ВО «СибАДИ» (644080, г. Омск,

пр. Мира, 5, 2.368, e-mail: livne@mail.ru).

Madeev Vadim Damirovich (Russian Federation, Omsk) – student The Siberian State Automobile and Highway Academy (644080, Omsk, Mira Ave., 5).

Lazuta Ivan Vasil'evich (Russian Federation, Omsk) – candidate of technical sciences, the associate professor The Siberian State Automobile and Highway Academy (644080, Omsk, Mira Ave., 5).

УДК 656.13

СУЩЕСТВУЮЩАЯ ПРАКТИКА ОРГАНИЗАЦИИ РАБОТЫ ТРАНСПОРТНО-ЭКСПЕДИЦИОННОЙ КОМПАНИИ

Е.А. Мартынова

ФГБОУ ВО «СибАДИ», Россия, г. Омск

Аннотация. В статье представлена существующая технология работы современных транспортно-экспедиционных компаний. Рассмотрены перевозки с постоянными грузоотправителями и перевозчиками, а также с разовыми перевозчиками; структура работы менеджера по транспорту за один день. Приведен вариант подбора перевозчика с целью безопасности транспортно-экспедиционных компаний.

Ключевые слова: транспортно-экспедиционная компания, организация перевозок, заявка на перевозку груза, грузоотправитель, перевозчик.

Техника и технологии строительства, № 3 (7), 2016

http://ttc.sibadi.org/

НАЗЕМНЫЙ ТРАНСПОРТ

Введение

По результатам работы в должности инженера по организации перевозок грузов в междугороднем сообщении можно констатировать, что мнение «понедельник (пятница) – день тяжелый» не имеет отношения к данной работе. От специалиста ежедневно требуется собранность, ответственность, концентрация, внимание к каждому клиенту, его просьбам и нуждам.

Ежедневная работа инженера по организации перевозок грузов в междугороднем сообщении

1 шаг. В начале рабочего дня, ежедневно, инженер, приходя на рабочее место, обязан актуализировать свои знания по состоянию дел в компании.

Как?: выполнение этой задачи производится путем:

-проверки электронной почты (осуществляется нахождение подтвержденных заявок на перевозку грузов от грузоотправителей, заявок от перевозчиков на использование свободных транспортных средств и надлежащим образом оформленных договоров на перевозку грузов);

-сортировка (спама) (поиск интересующей предприятий информации, новых предложений о сотрудничестве, информации о конкурентах);

-связь с водителями автотранспортных средств, выполняющих перевозку грузов по маршруту в междугороднем сообщении:

1) установление местоположения автотранспортного средства с грузом или без груза, информация об окончании погрузки или разгрузки, информация о получении документов, надлежаще оформленных, намерения о будущем маршруте перевозок грузов, информация о самочувствии и состоянии здоровья водителя и др.;

2) информирование водителя о погодно-климатических условиях в направлении движения,

озакрытых дорогах, о крупных дтп, о местах отдыха и питания;

3) получение информации от водителя: о разгрузке, о заполнении документации и количестве и полноте полученной документации, о техническом состоянии автотранспортного средства, о чрезвычайных ситуациях по трассе. При прибытии в адрес погрузки или разгрузки контактное лицо не отвечает на звонок, о состоянии здоровья, если это мешает процессу перевозки груза, во время перевозки информирует о месте пункта отдыха в вечернее время, о примерном времени прибытия в пункт разгрузки.

Заявки, поступающие от грузоотправителей в разработку, в которых указывают дату и время погрузки, наименование груза, характер груза, вид упаковки, способ загрузки, требования к транспорту [1].

Также проверку осуществляют по icq (аське), по наличию заявок и машин свободных в том или ином городе.

Есть заявки, которые поступают в компанию от грузоотправителей, с которыми заключены долгосрочные договорные отношения. Общение с грузоотправителями ведется по источникам связи: телефонные переговоры, электронные переписки.

Из полученных заявок, зная о названии города погрузки и выгрузки, можно предложить водителю данную отгрузку, с которым работаем на долгосрочных отношениях. Если его это устраивает, то оформляем заявку в электронном виде между грузоотправителем и транспортной компанией, и между транспортной компанией и перевозчиком. В случае отказа постоянных перевозчиков, ищем через наработанную ранее базу водителей, с кем ранее работали, либо через систему сайта ati.su (АвтоТрансИнфо) (см. рис.1) [1,2].

Система АвтоТрансИнфо является удобным средством обмена информацией между участниками рынка автомобильных грузоперевозок: перевозчиками, экспедиторами, грузоотправителями. В базе данных АвтоТрансИнфо можно бесплатно размещать заявки на перевозку грузов или сообщать о наличии попутных машин в любом направлении.

Техника и технологии строительства, № 3 (7), 2016

http://ttc.sibadi.org/

НАЗЕМНЫЙ ТРАНСПОРТ

Рис. 1. Информация в системе АвтоТрансИнфо

Системой постоянно пользуются десятки тысяч фирм из различных регионов России, Украины, стран Балтии и Европы. Ежедневно в базе данных размещается более 25000 новых заявок на перевозку грузов и 15000 предложений попутного транспорта. Информация мгновенно становится доступна всем пользователям системы АвтоТрансИнфо.

АвтоТрансИнфо включает в себя 2 основных раздела: «Грузы» и «Попутный транспорт». Разместить информацию о своем транспорте или заявку на перевозку груза может любой зарегистрированный пользователь. Пользователи системы АвтоТрансИнфо, заплатившие абонентскую плату, при подборе грузов сразу же получают всю контактную информацию о владельцах грузов (транспорта). И могут связаться напрямую с фирмой, разместившей информацию, и договориться о перевозке [2].

На сайте АвтоТрансИнфо есть развитая система профессиональных транспортных форумов, где участники рынка грузоперевозок делятся опытом, обмениваются мнениями, ищут работу (персонал) и предупреждают коллег о недобросовестных партнерах.

Система АвтоТрансИнфо предлагает своим пользователям сервис расчета расстояний между городами. С его помощью можно определить расстояние между необходимыми точками доставки груза, провести маршрут, оценить качество дорог на пути следования и приблизительное время его прохождения [2].

Данных перевозчиков проверяют по безопасности, так как возможна кража груза, либо утрата, по причине безответственности перевозчиков или умышленное нанесение ущерба. Основное внимание обращают на количество звездочек, на наличие претензий к перевозчику. Смотрится паспорт пользователя системы АвтоТрансИнфо (см. рис.2).

Особое внимание уделяется дате регистрации в данной программе, и в форумах «Недобросовестные партнеры» (рис. 3, 4).

Если выбранный перевозчик не устраивает, то продолжается поиск до того момента, как не найдется подходящий и проверенный. Только после того как по всем критериям перевозчик подошел, начинается его оформление документальное, составление договора на перевозку грузов, заявки на выполнение работ, при необходимости выписывается доверенность на водителя в том, что компания доверяет данному водителю осуществить забор груза у грузополучателя, маршрутный лист.

Техника и технологии строительства, № 3 (7), 2016

http://ttc.sibadi.org/

НАЗЕМНЫЙ ТРАНСПОРТ

Рис. 2. Паспорт пользователя системы АвтоТрансИнфо

Техника и технологии строительства, № 3 (7), 2016

http://ttc.sibadi.org/