Материал: 2478

Внимание! Если размещение файла нарушает Ваши авторские права, то обязательно сообщите нам

ТЕХНОЛОГИИ СТРОИТЕЛЬСТВА

4.

Вивденко Ю.Н. Автоматизированная доводка прицезионных

деталей / Ю.Н. Вивденко,

Г.И. Кравченко. Омск: изд-во ОмГТУ, 2002. – 100 с.

 

5.

Машиностроение: энциклопедия. / Под. общ. ред. А.Г. Суслова,

– М: Машиностроение, 2002. –

Т. 3-3 – 840 с.

 

EFFICIENT PROCESSES ELEKTROALMAZNOGO GRINDING SURFACES OF REVOLUTION

V.G. Berg

Abstract. The article describes the method of processing high-strength, hard materials. We analyzed the characteristics of the process Electroplated Diamond grinding surfaces of revolution. And revealed the necessity of the use of the processing method for the manufacture of highly loaded machine parts. On the basis of research by the author revealed the dignity method Electroplated Diamond grinding.

Keywords: electrodiamond grinding, requirements, the workpiece surface, the surface layer process.

Берг Вадим Геннадьевич (Россия, г. Омск) – студент кафедры «Автомобили, конструкционные материалы и технологии» ФГБОУ ВО «СибАДИ» (644080, г. Омск, пр. Мира, д.5).

Berg Vadim Gennad'evich (Russian Federation, Omsk) – the student The Siberian state automobile and highway academy (SibADI) (644080, Omsk, Mira Ave., 5).

УДК: 625.77.07

АВТОМАТИЗАЦИЯ ТЕХНОЛОГИЧЕСКОГО ПРОЦЕССА СТРУЙНОАБРАЗИВНОЙ ОБРАБОТКИ ДЕТАЛЕЙ ГЕОМЕТРИЧЕСКИ СЛОЖНЫХ ПОВЕРХНОСТЕЙ

А.В. Волосатов

ФГБОУ ВО «СибАДИ», Россия, г. Омск

Аннотация. В данной статье рассмотрен ряд трудностей размерной и отделочной обработки деталей геометрически сложными поверхностями и приведены решения в этой области, направленные на совершенствование процессов на базе струйно-абразивной обработки.

Ключевые слова: струйно-абразивная обработка, детали со сложной поверхностью, автоматизация, технологический процесс, шероховатость поверхностей, автоматизация.

Введение

Для уменьшения износа и увеличения срока службы деталей необходимо обеспечить, кроме прочностных свойств и структуры металла, параметры микрогеометрии и свойства поверхностей, обеспечивающих необходимые эксплуатационные характеристики деталей [1].

Такие задачи решали в машиностроении с помощью: галтовки, шлифования, обработки слесарным инструментом вручную, а также другими способами. Однако обеспечение такой обработки деталей, с геометрически сложными поверхностями, связанных с повышенной трудоемкостью, отклонениями от заданных требований качества, технологическими потерями изделий и с другими трудностями. Это характерно для таких деталей как зубчатые зацепления и шлицевые соединения, крыльчатки насосов, узлы систем турбонадува двигателей. Технологические возможности процессов струйно-абразивной обработки во многом позволяет решать приведенные задачи [2].

Обработка осуществляется свободным абразивом, что полностью исключает прижоги, температурные и силовые деформации обрабатываемой детали. Обработка свободным абразивом, дает нам возможность обработать деталь в труднодоступных местах и позволяет настроить условия обработки деталей с обеспечением параметров шероховатости поверхности в широком диапазоне.

 

 

Техника и технологии строительства, № 3(7), 2016

ttp://ttc.sibadi.org/

ТЕХНОЛОГИИ СТРОИТЕЛЬСТВА

Особенности струйно-абразивной обработки

Струйно-абразивная обработка заключается в воздействии на обрабатываемые поверхности струи рабочей среды, представляющей суспензию абразивного материала и смазочно-охлаждающей жидкости (СОЖ). К особенностям процесса струйно-абразивной обработки относятся следующие:

-нагружение обрабатываемой поверхности абразивной средой происходит при скорости 20-80 м/с;

-это нагружение носит локальный характер, когда струя абразивной среды воздействует на ограниченный участок поверхности;

-параметры воздействия струи на обрабатываемую поверхность можно регулировать в широких пределах по форме этой струи, углу движения к поверхности, скорости движения и т.д.

В зависимости от решаемых технологических задач и формы обрабатываемых поверхностей за счет изменения формы выходного сечения сопла может быть изменена форма струи от круглой до плоской (рис. 1).

Рис. 1. Схема взаимодействия струи абразивной среды с обрабатываемой поверхностью:

А– взаимное расположение струи и поверхности; Б – сечения струи;

В– напряжения касательные и нормальные.

Впроцессе воздействия струи на поверхность наносится 5·105-3·107 ударов абразивных зерен. Действие этих ударов вызывает упругие и пластические деформации материала поверхностного слоя, пластическое смещение (оттеснение) отдельных объемов поверхностного слоя в виде борозд, царапин с формированием валика по их периметру. После этого зерна осуществляют процесс резания с удалением этих валиков и со снятием стружки.

Значение сил и давлений, создаваемых абразивной средой с учетом упругих свойств материала изделия и абразивных частиц, можно приближенно определить по формулам Герца для нагружения твердой шарообразной частицей гладкой поверхности тела [3]:

Pmax

 

 

0,024r 2 V 6,5

γ 3 / 5 ;

(1)

 

1 μ 1

 

 

1 μ 22 2 5

 

 

 

 

 

 

 

 

 

 

 

 

 

 

 

 

 

 

 

 

 

 

 

 

 

 

E 1

 

 

 

E 2

 

 

 

 

 

 

 

 

 

 

 

 

 

 

 

 

 

 

p max

 

 

 

0,167V

 

2 / 5 γ

1,5

 

,

 

(2)

 

 

 

 

 

 

 

 

 

 

 

 

 

 

 

 

 

 

 

 

 

 

 

 

1 μ 1

 

 

1 μ 22 2 5

 

 

 

 

 

 

 

 

 

 

 

 

 

 

 

 

 

 

 

 

 

 

 

 

 

 

E 1

 

 

 

E 2

 

 

 

 

 

 

 

 

 

 

 

 

 

 

 

где Pmax, pmax – сила и давление абразивной среды соответственно; γ – плотность абразивной частицы; V – скорость частицы; r – радиус частицы; μ1; μ2 – коэффициенты Пуассона соответственно для материала абразива и изделия; Е1, Е2 – модули упругости материалов соответственно абразива и изделия. Зависимости (1) и (2) предполагают нагружение поверхности при α = 90˚ (рис. 1).

Вобщем случае при воздействии струи на поверхность действуют нормальные σN и касательные напряжения TF (рис.1). Действие первых связано преимущественно с деформацией поверхностного слоя и формирования в нем наклепа. Сочетание действия TF и σN соответствует α = 35-45˚. Из указанного диапазона большие значения соответствуют обрабатываемым материалам с большой твердостью.

Впроцессе обработки основным видом разрушения и удаления снимаемого слоя является микрорезание абразивными зернами. Процесс микрорезания начинается при внедрении

 

 

Техника и технологии строительства, № 3(7), 2016

ttp://ttc.sibadi.org/

 

ТЕХНОЛОГИИ СТРОИТЕЛЬСТВА

абразивной частицы в материал поверхностного слоя на глубину h более половины радиуса

округления r режущей кромки этой частицы, т.е. при h/r ≥ 0,5. При (0,01-0,03) < h/r < 0,5

происходит пластическое оттеснение материала с образованием риски и валика по ее

периметру. Значение h/r < (0,01-0,03) соответствует упругой деформации материала

поверхностного слоя. Радиус округления r формируется как при изготовлении абразивного

материала, так и в процессе его изготовления.

 

 

Оборудование струйно-абразивной обработки

 

 

Для обеспечения необходимой кинетической энергии струи рабочей среды используют

средства, приведенные на рис. 2.

 

 

 

В процессе струйно-абразивной обработки значительного повышения температуры

обрабатываемых поверхностей и рабочей среды не происходит. Так, при обработке деталей в

течение смены отмечено повышение температуры рабочей среды на 5-7 ºС.

Роль сжатого воздуха заключается в транспортировании абразива и удалении

обработанной среды из зоны обработки.

 

 

 

Обеспечение кинетической энергии струи

 

 

рабочей среды

 

Энергия привода насоса

Энергия

 

 

Энергия сжатого воздуха и

 

 

сжатого воздуха

 

энергия привода насоса

Рис. 2. Схема обеспечения кинетической энергии струи рабочей среды

 

 

2

 

 

 

 

 

 

 

V

S

 

 

 

 

 

V

2

V 1

2

 

2

 

 

 

 

 

 

 

 

 

 

 

1

 

 

 

1

 

 

 

 

 

A

 

 

Б

 

 

 

 

 

 

 

S пр

 

 

 

1

 

1

2

2

2

 

 

S поп

 

 

 

2

 

 

 

 

 

 

 

2

 

 

 

 

 

 

 

V

 

 

В

 

Г

 

 

Рис. 3. Схемы струйной обработки: А – двух цилиндрических заготовок;

 

 

Б – диска; В – лопатки компрессора; Г – пресс-формы;

 

 

1 – обрабатываемая заго-товка; 2 – струйный аппарат

Соответственно приведенной схеме проектируют три типа технологического оборудования для струйно-абразивной обработки.

 

 

Техника и технологии строительства, № 3(7), 2016

ttp://ttc.sibadi.org/

ТЕХНОЛОГИИ СТРОИТЕЛЬСТВА

Использование принципа обработки поверхностей струей абразивной среды обеспечивает широкое варьирование технологических возможностей обработки разных поверхностей, которые приведены на рис. 3, [4].

Производительность процесса струйной обработки зависит от давления рабочей среды на

обрабатываемую поверхность. В свою очередь, давление p = f( , α), где – длина струи, α – угол атаки. На рис. 4. приведены зависимости, характеризующие скорость удаления припуска h.

Шероховатость обрабатываемых поверхностей зависит от условий струйной обработки. К числу факторов, в наибольшей мере влияющих на параметры шероховатости относятся зернистость и угол атаки.

Рис. 4. Зависимость скорости съема материала припуска от условий струйной обработки: А – от угла атаки; Б – от длины струи; 1, 2, 3 – соответственно ВТ5, Х18Н9Т, ХН70ВМТЮ; абразив 25А: р = 0,4 МПа

Рис. 5. Схемы установок струйно-абразивной обработки А – с эжекцией рабочей среды сжатым воздухом; Б – без мешалки и насоса; В – с подачей рабочей

среды сжатым воздухом без эжекции струи; Г – с подачей рабочей среды насосом и ускорением ее сжатым воздухом; Д – с разгоном рабочей среды шлифовальным кругом; Е – с подачей рабочей среды самотеком и ускорением сжатым воздухом; 1 – пропеллерная мешалка; 2 – рабочая среда;

3 – электродвигатель; 4 – барботер; 5 – трубопровод; 6 – трубопровод подачи СВ; 7 – рабочая камера; 8 – обрабатываемая деталь; 9 – струйный аппарат; 10 – манометр; 11 – насос; 12 – резервуар;

13 – шлифовальный круг.

 

 

Техника и технологии строительства, № 3(7), 2016

ttp://ttc.sibadi.org/

ТЕХНОЛОГИИ СТРОИТЕЛЬСТВА

В соответствии с зависимостями снижение размера зерна абразива обеспечивает снижение шероховатости обработанной поверхности. Наименьшие параметры шероховатости в рассмотренном случае соответствуют = 30-50º [5].

Установки, предназначенные для абразивно-струйной обработки, различают по принципу подачи рабочей среды в зону обработки: эжекционные и насосные. Отдельные схемы таких установок рассмотрены на рисунке 5

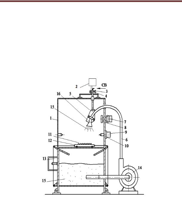
В условиях струйно-абразивной обработки решение таких задач, как изменение режима обработки, регулирование углов атаки струи, изменение направлений взаимного перемещения обрабатываемых поверхностей и траектории струи, может быть автоматизирована. Пример такой установки приведен на рисунке 6. Подготовленная суспензия находится в ванне установки и насосом 14 подается струйное устройство 16. Сюда же подается сжатый воздух. Обрабатываемое изделие установлено на столе или в центрах 9, или на планшайбе 7. Часть суспензии, подаваемая насосом в струйное устройство 16, используется для перемешивания абразива в ванне, для поддержания его во взвешенном состоянии.

Рис. 6. Автоматизированная гидроабразивная установка:

1 – рабочая камера; 2 – блок автоматизированного регулирования напряжения струйного устройства; 3 – колонна; 4 – механизм настройки струйного устройства; 5 – угловой сегмент; 6 – трубопровод;

7 – привод планшайбы; 8 – планшайба; 9,10 – устройство для вращения цилиндрических заготовок; 11 – обрабатываемая деталь; 12 – стол; 13 – механизм перемещения стола; 14 – насос;

15 – рабочая среда; 16 – струйное устройство

Автоматизированная гидроабразивная установка

Установка работает с эжекцией суспензии в струйный аппарат сжатым воздухом и последующим ускорением ее воздухом. Технологическая оснастка для закрепления деталей в процессе обработки включает прихваты, центры, зажимы и т.п. стандартизованные устройства. Оснастка, применяемая для расширения технологических возможностей оборудования струйной обработки, предусматривает применение устройств с их привязкой к конкретным изделиям, режиму обработки и другим условиям. Отдельные схемы такой оснастки приведены на рис. 7.

Применение экранов и других устройств, изменяющих направление потока струи рабочей среды (рис. 7 А, Б), связано с необходимостью наиболее полного использования кинетической

 

 

Техника и технологии строительства, № 3(7), 2016

ttp://ttc.sibadi.org/