Материал: 2471

Внимание! Если размещение файла нарушает Ваши авторские права, то обязательно сообщите нам

В действительности не удается осуществить в точности указанный цикл, и индикаторная диаграмма имеет вид эллипса.

16.2. Основные формулы, описывающие протекание процессов цикла двигателя Стирлинга

Для исследования процессов, происходящих в двигателе Стирлинга, используем уравнение состояния, первый закон термодинамики, изменение внутренней энергии, работы и энтропии.

Для описания процессов, происходящих в двигателе внешнего сгорания, введем следующие безразмерные параметры:

1)

безразмерная

температура

t

Tmin

,

Т1 Т2

Тmin,

 

 

 

Т3 Т4 Тmax ;

Тmax

 

 

 

 

 

 

 

 

 

max

 

 

 

 

 

 

 

2)

безразмерный

удельный объем

r

,

(

4

 

max

, а

 

 

 

 

 

 

min

1

 

 

 

 

 

 

 

 

 

 

 

 

 

 

2 3 min );

3)из характеристического уравнения состояния идеального газа для единицы массы рабочего тела следует [17], что удельный объем 1, газовая постоянная воздуха R, температура Т1 и давление Р1 связаны выражением

 

 

R T1

.

(16.1)

 

1

 

p

 

 

1

 

 

Каждый из четырех процессов цикла характеризуется параметрами и функциями состояния.

Изометрический процесс сжатия (1 2) (см. рис. 16.1). В этом процессе теплота отводится от рабочего тела при минимальной температуре цикла. Работа, затраченная на сжатие рабочего тела, эквивалентна теплоте, отводимой из цикла. При этом внутренняя энергия не изменяется, а энтропия уменьшается. При изотермическом сжатии давление обратно пропорционально объему.

p

2

 

p1 1

p r;

T

T

T .

(16.2)

 

 

 

 

2

1

2

1

min

 

 

 

 

 

 

 

 

 

 

Отводимая теплота q равна затраченной работе l и составляет

 

 

 

1

 

 

 

1

 

 

p

ln

 

 

RT ln

 

 

 

.

(16.3)

 

 

 

 

1

1

 

r

 

1

 

r

 

 

Изменение энтропии

 

 

S R ln

1

 

.

 

 

 

S

2

 

 

(16.4)

 

 

 

 

 

 

 

1

 

r

 

 

 

 

 

 

 

 

 

 

 

Регенеративный процесс теплоотдачи при постоянном объе-

ме (2 3) (нагревание). В рассматриваемом процессе теплота передается от регенератора к рабочему телу; температура рабочего тела увеличивается от Tmin доTmax. Работа в этом процессе не производится. Внутренняя энергия и энтропия рабочего тела возрастают. При изохорном процессе давление газа прямо пропорционально его температуре.

p

 

p2T3

 

p2

;

.

(16.5)

T

t

3

 

 

3

2

 

 

2

 

 

 

 

 

Количество теплоты, получаемое рабочим телом, составит

q C T3 T2 ,

(16.6)

где C – массовая теплоемкость рабочего тела при постоянном объеме.

Затраченная работа l 0. Изменение энтропии

S

 

S

 

C

ln

1

 

.

(16.7)

 

 

 

 

3

 

2

 

t

 

 

Изотермический процесс расширения (3 4). В этом процессе теплота подводится к рабочему телу во время процесса расширения при температуре Tmax. Работа, получаемая при расширении рабочего тела, эквивалентна количеству подводимой теплоты. Внутренняя энергия рабочего тела не изменяется, а энтропия увеличивается. При этом

 

 

 

p

 

1

 

 

 

 

 

p

 

 

3 3

p

 

 

 

; T

T

T .

(16.8)

 

4

 

 

4

 

3

r

 

4

3

max

 

Подводимая теплота q равна полученной работе l и составляет

p3 3 lnr RT3 lnr.

(16.9)

Изменение энтропии

S4 S3

Rlnr.

(16.10)

Регенеративный процесс теплоотдачи при постоянном объе-

ме (4-1) (охлаждение). В рассматриваемом процессе теплота передается от рабочего тела к насадке регенератора. Температура рабочего тела уменьшается от Tmax до Tmin . Работа в этом процессе не производится. При этом

p

p4T1

p

 

t;

 

.

(16.11)

 

 

1

Т4

 

 

4

 

1

4

 

Количество переданной теплоты

 

 

 

 

 

 

 

q C Т4 T1 .

(16.12)

Изменение энтропии

 

 

 

 

 

 

 

 

 

 

 

S

 

S

C

ln

1

.

(16.13)

 

 

 

 

 

4

1

 

 

 

t

 

 

В регенеративных процессах теплота, переданная от регенератора

рабочему телу в процессе (2 3), вновь возвращается к

рабочему те-

лу в процессе (4 1). Внешнего притока теплоты к рабочему телу нет.

Поэтому

подведенная теплота

к

рабочему телу (при

 

Tmax)

равна

qE R T3 ln r. Отводимая теплота от рабочего тела (при

Tmin ) равна

qо R T1

lnr.

 

 

 

 

 

 

 

 

 

 

Тогда термический КПД составит:

 

 

 

 

 

 

 

 

q qо

 

R T ln r R T ln r

 

Т

min

 

 

 

Т

E

 

 

3

1

1

 

.

(16.14)

 

qE

 

 

R T3 ln r

 

 

 

 

 

 

 

 

Тmax

 

Это выражение аналогично выражению для КПД цикла Карно, который состоит из двух изотерм и двух адиабат. Совершенство двигателя Стирлинга, его КПД зависят от значений максимальных и минимальных температур рабочего тела, совершающего работу.

16.3. Принцип действия двигателя Стирлинга

Принцип действия двигателя Стирлинга рассмотрим на примере одноцилиндрового варианта с двумя поршнями (рис. 16.3).

Двигатель состоит из цилиндра 13, в котором совершают воз- вратно-поступательное движение два поршня, условно называемые

вытеснителем 1 и рабочим 2. Взаимное перемещение поршней и передача крутящего момента на кривошипные валы 9 осуществляются с помощью ромбовидного шатунного механизма 10 и штока 12,

поршня-вытеснителя и штока 11 рабочего поршня.

Рабочее тело находится в полости А между верхним рабочим поршнем и головкой цилиндра и в полости Б между поршнями, а в процессе перемещения поршней оно проходит холодильник 3, регенератор 4 и теплообменник-нагреватель 6, где воспринимает теплоту продуктов сгорания топлива, подаваемого в зону горения форсункой 5. Отходящие газы 8 подогревают воздух, подводимый по каналу 7 к горелке.

Рис. 16.3. Принцип действия двигателя Стирлинга:

а, б, в, г – такты двигателя; д – индикаторная диаграмма; I – сжатие (а–б в полости Б); II – подвод теплоты из регенератора; III – расширение (б–в в полости А; в–г в полости Б); IV − отвод теплоты

В положении (рис. 16.3, а) рабочий поршень 2 подходит к ВМТ, а поршень-вытеснитель 1 сжимает рабочее тело в полости Б (процесс изображен на нижней ветви I индикаторной диаграммы, рис. 16.3, д), откуда оно поступает через холодильник в регенератор и к нагревателю (ветвь 11). В регенераторе рабочее тело частично нагревается, используя для этого оставшуюся теплоту от предыдущего рабочего цикла. При повороте кривошипов вала в направлении стрелок поршни взаимно сближаются (рис.16.3, б) и объем полости Б дополнительно уменьшается, но к тому времени происходит уже рабочий ход расширение нагретого рабочего тела в полости А (верхняя ветвь III инди-

каторной диаграммы). При дальнейшем повороте кривошипов (рис. 16.3, в) завершается расширение в полости А и начинается расширение в полости Б, куда и устремляется рабочее тело, проходя через регенератор 4 и отдавая ему свою теплоту. Для охлаждения рабочее тело поступает в холодильник 3 (ветвь IV). В положении (рис. 16.3, г) объем рабочего тела максимальный. При дальнейшем повороте кривошипов верхний поршень завершает движение к ВМТ, а нижний поршень начинает ход сжатия.

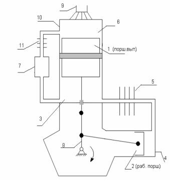
Схема двигателя Стирлинга, изображенная на рис. 16.3, конструктивно сложна, так как нуждается в ромбическом механизме и штоках, приводящих в движение рабочий поршень и поршеньвытеснитель. Более простую модель двигателя Стирлинга можно выполнить, используя кривошипно-шатунный механизм с ползуном и штоком, приводящим в движение рабочий поршень и поршеньвытеснитель.

16.4.Схема работы двигателя Стирлинга

скривошипно-шатунным механизмом и его расчет

Изотермическое сжатие

Рис. 16.4. Схема двигателя Стирлинга с кривошипно-шатунным механизмом

Около ВМТ или НМТ ход поршня практически не зависит от угла поворота вала, и его положение принимается условно постоянным.

Поршень-вытеснитель находится около ВМТ. Газ сжимается рабочим поршнем 2 (рис. 16.4), движущимся слева направо и поступает в холодную полость 3 (под поршеньвытеснитель). Давление газа возрастает, а температура остается постоянной, так как теплота, возникающая при сжатии, отводится в окружающую среду через стенки цилиндра 4 и холодильник 5.