m |
Ф |
|
. |
(13.6) |
|
cp t t |
|||||
t |
|
|
|||
Для расчета коэффициента теплоотдачи при турбулентном режиме течения в трубах и каналах при движении теплоносителя за счет внешних сил установлена зависимость (критерий Нуссельта) [9,15]:
Nu |
dэ,ж |
0,021 Re0,80 |
Рr0,45 |
Рr |
Рr 0,25, |
(13.7) |
|
dэ |
ж |
ж |
с |
|
где индекс dэ устанавливает, что в качестве характерного линейного размера берется эквивалентный диаметр канала, равный отношению учетверённой площади поперечного сечения канала Fсеч к его пери-
метру (dэ 4Fсеч ), а индекс ж – что физические свойства тепло-
носителя определяются по средней температуре жидкости (газа). Для трубы круглого сечения dэ d , а для кольцевого канала
dэ dн dв, где dн и dв соответственно наружный и внутренний диаметры.
Если режим движения ламинарный, то
Nudэ 0,15 Re0,33dэ Рrж0,43 Рrж
Рrс 0,25. (13.8)
По формулам (13.7) и (13.8) определяется число Нуссельта для труб любой формы поперечного сечения – круглого, квадратного, прямоугольного, кольцевого.
Для понимания характера приведённой выше зависимости важно знать физический смысл входящих в неё критериев.
Критерий Нуссельта
Nu |
dэ |
|
dэ |
. |
(13.9) |
|
|
||||
|
|
|
|||
Безразмерный критерий Нуссельта есть соотношение термического сопротивления теплопроводности в пограничном слое жидкости к термическому сопротивлению теплоотдачи от жидкости к стенке или наоборот.
Определив критерий Нуссельта, находят значение коэффициен-
та теплоотдачи α, Вт/(м2∙К), например, со стороны горячего теплоно-
сителя к стенке по формуле Nu . dэ
Критерий Рейнольдса |
|
||
Re |
w dэ |
, |
(13.10) |
|
|||
|
v |
|
|
где v – кинематическая вязкость, м2/с.
Критерий Re есть соотношение сил инерции к силам вязкости.
Критерий Прандтля |
|
||
Pr |
v |
. |
(13.11) |
|
|||
|
a |
|
|
Безразмерный критерий Прандтля характеризует соотношение вязкости к молекулярной силе в потоке.
Для воды при изменении ее температуры от 30 до 100 0С значение критерия Прандтля меняется от 5,42 до 1,75.
Для масла МС-20 с понижением температуры от 100 до 20 0С кинематическая вязкость, мм2/с, повышается с 20 до 1125, а число Прандтля увеличивается с 315 до 15 400.
Более точные значения числа Прандтля для конкретного теплоносителя и его температуры берутся из справочника [15].
Множитель Рrж
Рrс 0,25 представляет собой поправку, учитывающую зависимость физических свойств теплоносителя (в основном вязкости) от температуры и направления теплового потока. Для газов
Рrж
Рrс 1.
Коэффициент теплопередачи для плоской стенки и труб с
d1 0,5 определяется по формуле d2
|
k |
|
|
1 |
|
|
|
, |
(13.12) |
|
|
|
1 |
|
|
|
1 |
|
|||
|
|
1 |
|
|
|
|
|
|||
|
|
|
|
2 |
|
|
|
|||
где |
– толщина стенки, м; – теплопроводность материала стенки, |
|||||||||
через которую переносится теплота, Вт/(м∙К) или Вт/[м2 ∙(К/м)]; 1 и
2 – коэффициенты теплоотдачи со стороны горячего теплоносителя
кстенке и co стороны холодного теплоносителя.
Коэффициент теплопроводности характеризует способность вещества проводить теплоту. Значение характеризует количество теплоты, Дж, которое проходит за 1 с (Дж/с – тепловой поток, изме-
ряемый, Вт) через 1 м2 поверхности при падении температуры в 10 на 1 м пути теплового потока, Вт/[м2∙(К/м)] или, сокращая на метр, получим Вт/ (м∙К).
Путь теплового потока – это, например, толщина стенки трубы, длина, высота пластины, м.
Ниже приводятся значения , Вт/ (м∙К), для некоторых материалов, из которых могут быть выполнены отдельные детали теплообменников: сталь 10 – 63; сталь 15 – 54,4; сталь 30 – 50,2; сталь хромистая, нержавеющая 3Х13 – 25,1; латунь (60 % меди и 40 % цинка)
– 106; дюралюминий – 159 [15].
Средний температурный напор. Разность температур горячего и холодного теплоносителей называется температурным напоромТ Т1 Т2. Характер изменения температурного напора вдоль по-
верхности теплообмена зависит от схемы движения теплоносителей и соотношения водяных эквивалентов W1 cp1 m t1 и W2 cp2 m t2. Различают следующие схемы течения теплоносителей: прямоток,
противоток, перекрёстный ток, смешанный ток, многократный перекрёстный ток (рис. 13.1).
Прямоток Противоток |
Перекрёстный |
Смешанный |
Многократный |
|
ток |
ток |
перекрёстный ток |
Рис. 13.1. Схемы движения теплоносителей
Температурный напор вдоль поверхности теплообмена при прямотоке изменяется сильнее, чем при противотоке. Вместе с тем среднее значение температурного напора при противотоке больше, чем при прямотоке. За счёт этого при противотоке теплообменник получается компактнее. Поэтому с теплотехнической точки зрения всегда следует отдавать предпочтение противотоку над прямотоком.
Средний логарифмический температурный напор определяет-
ся по формуле
|
tлог |
|
tб tм |
. |
|
(13.13) |
|||
|
|
|
|||||||
|
|
|
ln |
tб |
|
|
|
|
|
|
|
tм |
|
||||||
|
|
|
|
|
|
||||
Среднеарифметический температурный напор |
|
||||||||
|
tср.ар |
tб tм |
|
(13.14) |
|||||
|
|
||||||||
|
|
2 |
|
|
|||||
всегда |
больше среднего |
логарифмического. При |
отношении |
||||||
tб / tм |
2 температурные напоры отличаются на 2–3 %. Здесь tб и |
||||||||
tм соответственно наибольшая и наименьшая разность температур между горячим теплоносителем и холодным на входе и выходе из теплообменника.
Площадь поверхности теплообмена. Площадь поверхности те-
плообмена F находится после определения коэффициента теплопере-
дачи k и среднего температурного напора tлог . |
|
||
F |
Ф |
. |
(13.15) |
|
|||
|
k tлог |
|
|
Общую длину L трубы подогревателя при принятом диаметре d находим из выражения
L |
F |
, |
(13.16) |
||
|
|
|
|||
d |
|
||||
и соответственно число секций n при длине труб в секции l |
|
||||
n |
L |
. |
(13.17) |
||
|
|||||
|
|
l |
|
||
13.2. Выбор основных параметров теплообменника типа «труба в трубе»
Теплообменники типа «труба в трубе» широко используются при разогреве и охлаждении жидкостей (газов). Преимущество таких теплообменников заключается в простоте конструкции, и они могут быть собраны из стандартных элементов. При необходимости поверхность теплообмена может быть увеличена за счет установки нескольких секций.
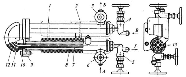
На рис. 13.2 показан подогреватель топлива секционный ПТС типа «труба в трубе». Горячий пар (горячая вода) входит через клапан 4, проходит по трубе 7 и выходит через клапан 5 в виде конденсата. Проходя по трубе, пар нагревает ее и отдает теплоту через стенки трубы 7, например холодной воде. Холодная жидкость под действием перепада давления входит в подогреватель через клапан 6, а выходит через клапан 3. Жидкость, проходя через кольцевое сечение подогревателя, увеличивает свою температуру. Массовый расход пара (горячей воды) и холодной жидкости регулируется проходными сечениями клапанов.
Рис. 13.2. Подогреватель топлива секционный типа ПТС:
1 и 2 – опоры неподвижные; 3 – клапан выхода жидкости; 4 – клапан входа пара; 5 – клапан выхода конденсата; 6 – клапан входа жидкости; 7 – труба нагревательная; 8 – корпус подогревателя; 9 – фланец корпуса; 10 – болт;
11 – крышка; 12 – изоляция; 13 – рёбра нагревательной трубки;
Аи Б – вход и выход нефтепродукта;
В– вход пара; Г – выход конденсата
На рис. 13.3 показан разрез теплообменника типа «труба в трубе». Горячий теплоноситель движется по внутренней трубе, а холодный – по кольцевому каналу. Теплота передается от одного теплоносителя к другому через цилиндрическую стенку.
Тепловой поток теплоносителя в трубе определяется из выраже-
ния
Ф1 cp1 m1 |
t11 t12 |
, |
(13.18) |