Материал: 2461

Внимание! Если размещение файла нарушает Ваши авторские права, то обязательно сообщите нам

Продолжение табл. 2.3

1

 

 

2

 

3

 

 

4

 

5

6

7

Максимальное давление на

 

 

 

 

 

 

 

 

 

 

входе в гидромотор, МПа

35

 

35

 

 

35

 

35

32

32

Максимальное давление на

 

 

 

 

 

 

 

 

 

 

выходе из

гидромотора,

1,6

1,6

 

 

1,6

 

1,6

1,6

1,6

МПа

 

 

 

 

 

 

 

 

 

 

 

 

 

Максимальное

 

давление

 

 

 

 

 

 

 

 

 

 

дренажа, МПа

 

 

 

0,1

0,1

 

 

0,08

 

0,08

0,08

0,08

Частота вращения, мин-1:

 

 

 

 

 

 

 

 

 

 

номинальная

 

 

2400

1920

 

 

1500

 

1500

1200

1200

 

 

 

 

 

 

 

 

 

 

 

 

 

(960)*

 

 

 

 

 

 

 

 

 

 

 

 

 

*

 

 

 

 

 

 

 

 

 

 

 

 

максимальная:

 

 

 

 

 

И

 

 

 

 

для гидромоторов и насосов

 

 

 

 

 

 

 

 

 

 

 

 

 

 

 

 

 

 

при максимальном давле-

6000

5000

 

 

3750

 

3000

2500

2000

нии на входе

 

 

 

 

 

Д

 

 

 

 

 

 

 

 

 

 

 

 

 

 

 

 

 

 

 

для насосов при минималь-

 

 

 

 

 

 

 

 

 

 

ном давлении на входе

 

2850

2300

 

 

2850

 

2200

2200

1200

минимальная:

 

 

 

 

А

 

 

 

 

 

 

 

 

 

 

 

 

 

 

 

 

 

 

 

 

для насосов

 

 

 

400

400

 

 

400

 

400

400

400

для гидромоторов

 

б

50

 

 

50

 

50

50

50

 

50

 

 

 

 

Номинальная

подача

насо-

 

 

 

 

 

 

 

 

 

 

са, л/мин

 

 

и

 

52,3

 

 

79,8

 

159,6

127,3

205,2

 

 

 

27,0

 

 

 

Номинальный

расход

гид-

 

 

 

 

 

 

 

 

 

 

ромотора, л/мин

С

28,8

55,7

 

 

88,5

 

177,0

141,5

280,9

 

 

 

 

 

Крутящий момент гидромо-

 

 

 

 

 

 

 

 

 

 

тора, кНм:

 

 

 

 

 

 

 

 

 

 

 

 

 

номинальный

 

 

36,2

87,6

 

 

171

 

342

334

837,8

 

 

 

 

 

 

 

 

 

 

 

 

 

(690)*

страгивания

 

 

30,3

73,3

 

 

144

 

288

269

700

Номинальная

потребляемая

 

 

 

 

 

 

 

 

 

 

мощность насоса, кВт

 

9,8

19,1

 

 

30,2

 

60,5

48,4

95,1

 

 

 

 

 

 

 

 

 

 

 

Коэффициент подачи (объ-

 

 

 

 

 

 

 

 

 

 

емный КПД) насоса в но-

0,97

0,97

 

 

0,95

 

0,95

0,95

0,95

минальном режиме

 

 

 

 

 

 

 

 

 

 

 

Гидромеханический

КПД

 

 

 

 

 

 

 

 

 

 

гидромотора

в номиналь-

 

 

 

 

 

 

 

 

 

 

ном режиме

 

 

 

0,98

0,98

 

 

0,96

 

0,96

0,94

0,94

31

Окончание табл. 2.3

1

 

 

 

2

 

3

 

4

 

5

6

7

Полный

КПД

в

 

 

 

 

 

 

 

 

 

 

номинальном

ре-

 

0,92

 

0,92

 

0,91

 

0,91

0,90

0,90

жиме

 

 

 

 

 

 

 

 

 

 

 

 

 

 

 

 

 

 

 

 

 

 

 

Характеристика

 

 

 

 

 

 

 

 

 

 

рабочей

жидко-

 

 

 

 

 

 

 

 

 

 

сти:

 

 

 

 

 

 

 

 

 

 

 

 

Температура, °С

 

 

 

 

 

 

 

 

 

 

минимальная

 

– 40

 

– 40

 

– 40

 

– 40

– 40

– 40

максимальная

 

+ 80

 

+ 80

 

+ 75

+ 75

+ 75

+ 75

Класс

чистоты

 

 

 

 

 

 

 

 

 

 

рабочей жидкости

 

12

 

12

 

12…1

12…14

12…14

12

по ГОСТ 17216–

 

 

 

 

 

4

И

 

 

 

 

 

 

 

 

 

 

 

71

 

 

 

 

 

 

 

 

 

 

 

 

Номинальная

 

 

 

 

 

 

Д

 

 

 

 

 

 

 

 

 

 

 

 

 

 

тонкость

фильт-

 

25

 

25

 

25

 

25

40

10

рации, мкм

 

 

 

 

 

 

 

 

 

 

 

 

 

 

 

 

 

 

 

 

 

 

 

 

 

 

 

 

 

А

 

 

 

 

Масса (без рабо-

 

 

 

 

 

 

 

 

 

 

чей жидкости), кг,

 

4

 

8,1

 

17

 

31

41

95

не более

 

 

 

 

б

 

 

 

 

(94,8)

 

 

 

 

 

 

 

 

 

 

 

Температура

ок-

 

и

 

 

 

 

 

 

 

ружающей среды

 

 

 

 

 

 

 

 

 

 

 

 

 

 

 

 

 

 

(рабочая), °С:

 

 

 

 

 

 

 

 

 

 

 

для исполнения У

С

 

 

 

- 45… + 40

 

 

 

 

 

 

 

 

 

для исполнения Т

 

 

 

 

 

- 10… + 45

 

 

для исполнения

 

 

 

 

- 60… +40

 

 

 

 

ХЛ

 

 

 

 

 

 

 

 

 

 

 

 

Примечания:

 

 

 

 

 

 

 

 

 

* для валов со шпонками;

 

 

 

 

 

 

 

** для гидромашин, работающих в режиме насоса.

 

 

310.3.56

Насос(мотор)

Модель с коническими подшипника РРабочийбочийобъёбъмём, смк.у3см/боб/.об.

Рис. 2.8. Пример обозначения нерегулируемой гидромашины типа 310…

32

Конструкция аксиально-поршневой гидромашины серии 310 приведена на рис. 2.9.

 

 

 

И

 

 

б

Д

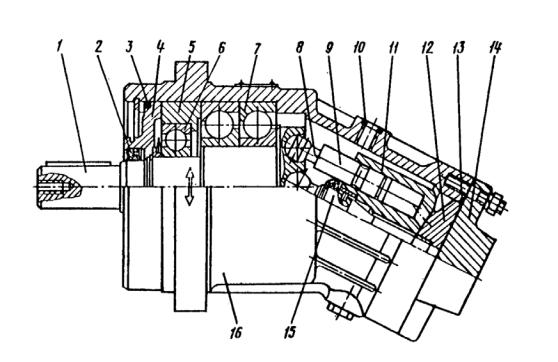
Рис. 2.9. Аксиально-поршневая нерегулируемая гидромашина типа 310…:

 

1 – вал; 2 – манжета; 3, 10, 13 – уплотнительные кольца;

4, 14 – передняя и задняя крышки; 5 – стакан; 6 – подшипник радиальный;

 

и

 

7

– подшипник сдвоенный рад Аально-упорный; 8 –шатун; 9 – поршень;

 

11 – блок цил ндров; 12 – распределитель; 15 – шип; 16 – корпус

 

С

 

 

Устройство и пр нц п действия гидромашин типа 310 аналогичны рассмотренным выше гидромашинам типа 210.

Реверсивный гидромотор серии 300 типоразмера 25 (310.25.13.00) в отличие от ранее выпускавшегося гидромотора типа 200 такого же типоразмера имеет сдвоенный радиально-упорный подшипник увеличенного размера (рис. 2.9), что повысило ресурс гидромашины.

Аксиально-поршневые регулируемые насосы типа 207 изготовляются трех типоразмеров, отличающихся диаметром поршня унифицированного качающего узла.

Регулирование величины и направления потока жидкости происходит за счет изменения угла наклона поворотного корпуса. Подача регулируемого насоса может плавно изменяться при изменении угла

наклона поворотного корпуса α от 0 до ± 25°.

33

Регулируемые насосы типа 207 могут быть укомплектованы регуляторами мощности типа 400, которые автоматически обеспечивают изменение угла наклона поворотного корпуса в зависимости от давления, сохраняя постоянную приводную мощность при определенной частоте вращения приводного вала. В табл. 2.4 приведены технические характеристики регулируемых насосов типа 207 /5, 8/.

Сдвоенные аксиально-поршневые регулируемые насосы типа 223 состоят из двух унифицированных качающих узлов насоса типа 207, установленных параллельно в общем корпусе. Сдвоенные насосы обычно используют в том случае, когда необходимо обеспечить работу двухпоточной гидросистемы. Эти насосы устанавливают на экскаваторах ЭО-3322, ЭО-4121 и др.

Насосы типа 223 бывают двух исполнений, различающихся диа-

2.5/5, 8/. бАДИ

Аксиально-поршневыеигидромашины с наклонным блоком обла-к--.из-ком диапазонеСтемпературы и вязкости рабочей жидкости (от-

8…10 сСт до 1000…1200 сСт /5, 8/); возможностью работы в насосном и моторном режиме: относительно меньшей чувствительностью к чистоте рабочей жидкости (могут работать при тонкости очистки до 40 мкм); высокими износостойкостью, надежностью, КПД.

Аксиально-поршневые регулируемые однопоточные насосы типа 300 имеют регуляторы потока рабочей жидкости следующих видов:

пропорциональные;

с регулятором постоянного перепада давления;

с регулятором постоянного давления;

с регулятором постоянной мощности;

функционирующие только от внешнего воздействия.

34

Таблица 2.4

Технические характеристики регулируемых насосов типа 207

Параметр

 

 

 

 

Типоразмер

 

 

 

 

 

 

 

 

 

 

207.20

207.25

207.32

 

 

 

 

 

 

 

 

 

 

 

 

 

 

 

Максимальный рабочий объем, см3

 

 

 

 

 

54,8

107

225

Давление на выходе, МПа:

 

 

 

 

 

 

 

 

номинальное

 

 

 

 

 

16,0

16,0

16,0

максимальное

 

 

 

 

 

25,0

25,0

25,0

Частота вращения, мин-1:

 

 

 

И

 

 

 

номинальная

 

 

 

1500

1200

960

максимальная

 

 

 

Д

2850

2200

1750

Номинальная подача при αmax , дм3/мин

 

 

 

 

79,3

123,9

208,4

Номинальная потребляемая мощность при αmax , кВт

 

 

23,6

36,9

62,0

А

 

 

 

КПД (в номинальном режиме при вязкости ра очей жидкости 33 сСт):

0,966

0,966

0,966

объемный

 

 

б

 

 

гидромеханический

 

 

 

0,942

0,942

0,942

полный

 

 

 

 

0,91

0,91

0,91

 

 

 

 

 

Допускаемая температура рабочей жидкости, °

:

 

 

 

 

 

минимальная

 

и

 

 

– 40

– 40

– 40

 

 

 

 

 

максимальная

 

 

 

 

 

+ 75

+ 75

+ 75

Масса, кг

С

 

 

 

39

75

140

 

 

 

 

 

 

 

35