Материал: 2461

Внимание! Если размещение файла нарушает Ваши авторские права, то обязательно сообщите нам

Общий вид насоса НШ 71 (100) … представлен на рис. 2.4.

Рис. 2.4. Общий вид насоса НШ 71 (100)

2.1.2. Аксиально-поршневые насосы

В аксиальных роторно-поршневых гидромашинах при вращении вала поршня вытеснители совершают возвратно-поступательное дви-

сиальные роторно-поршневые гидромашиныДс наклонным диском, у которых оси ведущего звена и вращения ротора совпадают, и с на-

жение в осевом направлении

параллельно (аксиально) оси ротора

(блока цилиндров).

И

Согласно схеме передачи движения к вытеснителям различают ак-

клонным блоком, у которых оси ведущего звена и вращения ротора

расположены под углом.

 

А

 

 

На строительных дорожных машинах наиболее широко приме-

 

б

няют аксиально-поршневые нерегулируемые и регулируемые гидро-

машины с наклонным блоком цилиндров.

и

 

В основу серийно выпускаемых гидромашин, отличающихся габа-

ритными размерамиС, положена унифицированная конструкция качающего узла.

Начатое в конце 60-х гг. XX в. производство аксиальнопоршневых насосов и гидромоторов с наклонным блоком цилиндров позволило на их основе принципиально изменить конструкцию большинства видов строительных и дорожных машин: улучшились основные параметры, разработаны гидромашины с поворотным распределителем, создана конструкция регулируемых гидромоторов с бесступенчатым изменением рабочего объема, а также реализован ряд других достижений.

26

Аксиально-поршневые насосы и гидромоторы серий 207.20, 207.25, 223.30, 223.25, 210.12, 210.16, 210.25 начали выпускаться в

СССР в конце 60-х гг. XX в. по лицензии фирмы «Rauch», Германия. В данном разделе представлены серийно выпускаемые аксиальнопоршневые гидромашины, многие из которых разработаны или мо-

дернизированы в последние годы.

Для гидроприводов строительных и дорожных машин производятся аксиально-поршневые нерегулируемые (типов 210 и 310) и р е- гулируемые (типов 207, 224, 303, 321 и 333) насосы и гидромоторы. Основой каждого типоразмера гидромашин является унифицированная конструкция качающего узла, на базе которого созданы различные исполнения.

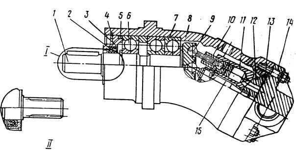
Насосы и гидромоторы типа 210…Г относятся к гидромашинам с нерегулируемым рабочим объемом (рис. 2.5), качающий узел которых состоит из приводного вала 1, семи поршней 10 с шатунами 9, радиального 6 и сдвоенного радиально-упорного 7 шарикоподшипников, блока цилиндров 11, центрируемого сферическим распределителем 12

и центральным шипом 15.

 

 

И

 

 

 

 

 

 

 

Д

 

 

А

 

 

б

 

 

и

 

 

 

С

 

 

 

 

Рис. 2.5. Аксиально-поршневой нерегулируемый насос (гидромотор) типа 210…Г:

I и II – варианты исполнения вала (шпоночный и шлицевой);

1 – приводной вал; 2 – манжетное уплотнение; 3 – передняя крышка; 4 – кольцо упорное; 5, 13 – кольца уплотнительные; 6, 7 – шарикоподшипники; 8 – корпус; 9 – шатун; 10 – поршень; 11 – блок цилиндров; 12 – сферический распределитель; 14 – задняя крышка; 15 – центральный шип

27

От осевого перемещения внутренние кольца подшипников удерживаются стопорным кольцом (гидромашина 210) или двумя пружинными кольцами (гидромашина 310.224). В передней крышке 3 установлено армированное манжетное уплотнение 2.

Центральный шип 15 сферической головкой установлен в гнезде фланца приводного вала 1, другой конец шипа входит в отверстие втулки, запрессованной в распределитель 12. В сферических периферийных гнездах фланца приводного вала 1 установлены головки шатунов 9, которые вместе со сферической головкой центрального шипа

15прижаты к фланцу вала пластиной.

Квнутренней поверхности задней крышки 14 неподвижно примыкает распределитель 12, два дугообразных паза которого совмещены с

соответствующими пазами в крышке. Под воздействием тарельчатых пружин сферические поверхности блока цилиндровИ11 и распределителя 12 постоянно прижаты. При вращении блока полости цилиндров последовательно совмещаются с дугообразнымиД пазами распределителя.

При вращении вала 1 вращаются шатуны 9 с поршнями 10, установленными в блоке цилиндровА. Одновременно поршни совершают возвратно-поступательное движение в цилиндрах, полости которых попеременно сообщаютсябс напорным или всасывающим каналом.

За один оборот вала каждый поршень совершает один двойной ход. При работе гидромашиныи в режиме насоса в течение одной половины оборота вала поршень всасывает рабочую жидкость через трубопровод изСбака, а в течен е второй вытесняет ее в напорную магистраль гидросистемы.

Величина подачи насоса прямо пропорционально зависит от частоты вращения приводного вала.

При работе в режиме гидромотора напор рабочей жидкости из гидросистемы через отверстие в задней крышке 14 и дугообразный паз распределителя действует на поршни 10, приводя их в движ ение. Поршни 10 через шатуны 9 сообщают валу 1 крутящий момент.

При этом в течение одной половины оборота вала происходит заполнение рабочей камеры цилиндра жидкостью, а в течение другой – вытеснение жидкости в сливную магистраль.

Общий вид гидромашины типа 210… представлен на рис. 2.6.

28

Рис. 2.6. О щий вид гидромашины типа 210…

 

 

 

И

 

 

Д

 

А

 

б

 

 

и

 

 

 

Крутящий момент создается вследствие расположения осей вала и

блока цилиндров под углом 25°. В результате усилие, создаваемое поршнем в месте контакта шатуна с валом, раскладывается на осевую и тангенциальную составляющие.

Осевое усилие воспринимается сдвоенным (гидромашина 210) или

строенным (гидромашинаС

310.224) радиально-упорным подшипником

7, а тангенциальная сила создает крутящий момент относительно оси вала, сообщая ему вращение (см. рис. 2.5).

Величина крутящего момента, развиваемого гидромотором, пропорциональна рабочему объему и давлению, определяемому внешней нагрузкой, которое ограничивается настройкой предохранительного клапана гидросистемы.

Реверсирование направления вращения вала гидромотора производится изменением направления потока рабочей жидкости, подводимой к гидромотору.

Направление вращения насоса указывается стрелкой на корпусе 8.

29

Насос правого вращения может работать как гидромотор левого вращения. Применение гидромотора в режиме насоса согласовывается с заводом-изготовителем. Стандартное направление вращения вала насосов – правое при наблюдении со стороны вала. Насосы с левым вращением вала выполняются по спецзаказу. На рис. 2.7 показан пример обозначения нерегулируемой гидромашины типа 210.

210.00.00.00.А(Б)

Нерегулируемая гидромашина Типоразме(рдиаметра порш,нммя ) 11-насос-мотор 12-насос, 13-гидромотор

00 или20-шпоночный вал 01 или21-шлицевой вал

Корпус из алюминиевого сплава

 

 

 

 

 

 

 

 

И

Таблица 2.3

Основные характеристики аксиально-поршневых

 

 

 

 

б

 

 

 

 

 

 

нерегулируемых насосов и гидромоторовДтипов 210 и 310

 

 

 

и

 

Типоразмеры гидромашин

 

Параметры

 

А

 

 

 

 

 

 

 

 

 

 

 

 

 

 

210.12…

 

210.16…

 

310.56

310.112

310.25.13

310.224

 

С

 

 

Г

 

 

 

 

 

 

 

 

Г

 

 

 

 

 

 

 

 

1

 

2

 

 

3

 

 

4

5

6

7

Рабочий объем, см3

11,6

 

28,1

 

56

112

112

224

Давление на выходе

 

 

 

 

 

 

 

 

 

 

из насоса, МПа:

 

 

 

 

 

 

 

 

 

 

25 (20)*

номинальное

 

20

 

20

 

 

20

20

20

максимальное

35

 

35

 

 

35

35

32

32

минимальное

 

1

 

 

1

 

 

1

1

1

1

Давление на входе в

 

 

 

 

 

 

 

 

 

 

насос, МПа:

 

 

 

 

 

 

 

 

 

 

 

максимальное

1,6

 

1,6

 

1,6

1,6

1,6

1,6

минимальное

(аб-

0,07

 

0,07

 

0,07

0,07

0,07

0,07

солютное)

 

 

 

 

 

 

 

 

 

 

 

Номинальный

пере-

 

 

 

 

 

 

 

 

 

25 (20)*

пад давления

для

20

 

20

 

 

20

20

20

гидромотора, МПа

 

 

 

 

 

 

 

 

 

 

 

 

 

 

 

 

 

 

 

 

 

 

Рис. 2.7. Пример обозначения нерегулируемой гидромашины типа 210…

Основные характеристики гидромашин типов 210 и 310 приведе-

ны в табл. 2.3 /8/ . На рис. 2.8 показан пример обозначения нерегулируемой гидромашины типа 310.

30