ные насосы по исполнению делятся на три группы, которые обозначают цифрами 2, 3 и 4 и указывают на способность развивать определенное давление.
К группе 2 относят насосы с номинальным давлением нагнетания 14 МПа, к группе 3 – насосы с номинальным давлением нагнетания 16 МПа, к группе 4 относят насосы с номинальным давлением нагнетания 20 МПа. Цифры, указывающие на исполнение, пишут последними в индексации насосов. После индексации пишут букву Л, если насос левого вращения (для правого вращения букву не пишут). Так, например, насос с правым направлением вращения ведущего вала с рабочим объемом 32 см3 исполнения 3 обозначается следующим образом: НШ 32-3.
и автоматическим гидравлическим регулированием торцевых и ради-
Шестеренные насосы выпускаются двух конструкций: с автоматическим гидравлическим регулированием зазоровИпо торцам шестерен
альных зазоров шестерен. С компенсациейДизноса торцевых зазоров
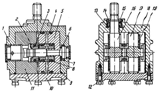
шестерен изготавливаются насосы НШ 10-3, НШ 32У-2, НШ 32У-3 и НШ 50У-3 (рис. 2.1). В корпусе 2 установлены две пары втулок 3 и 6, ведомая 4 и ведущая 5 шестерниА, два компенсатора 7 и две манжеты 8. Втулки являются опорами шестерен, а компенсаторы уплотняют торцевые поверхности шестеренб.
Регулирование торцевых зазоров осуществляется путем поджима компенсаторов к торцамишестерен давлением жидкости, поступающей из напорной зоны в полости Б.
КомпенсаторыС7 выполнены самоустанавливающимися, что обеспечивает их подж м к торцам шестерен и равномерную приработку рабочих поверхностей компенсаторов.
Жидкость, проходящая через смазочные канавки втулок, по каналам на дне корпуса 2, в крышке 1 и ведомой шестерне 4, отводится в камеру всасывания В.
Приводной вал ведущей шестерни уплотнен резиновой армированной манжетой 10. Для предотвращения выдавливания манжеты 10 устанавливаются стопорное 11 и опорное 12 кольца.
При вращении шестерен 4 и 5 жидкость поступает через входное отверстие в камеру всасывания В и в межзубовое пространство, а затем под давлением нагнетается через выходное отверстие в напорный трубопровод.
21
Рис. 2.1. Шестеренные насосы НШ 32У-3 и НШ 50У-3:
1 – крышка; 2 – корпус; 3, 6 – опорные втулки; 4, 5 – ведомая и ведущая шестерни; 7 – компенсатор; 8 – 10 – манжеты; 9 – уплотнительное кольцо;
11 – стопорное кольцо; 12 – опорное кольцо;
Б – полость подвода давления жидкости из напорной зоны для поджима компен- |
|||
|
|
|
И |
саторов; В – камера всасывания |
|||
Общий вид насоса НШ 32… представленДна рис. 2.2 . |
|||
|
|
А |
|
|
б |
|
|
и |
|
|
|
С |
|
|
|
Рис. 2.2. Общий вид насоса НШ 32
Шестеренные насосы серий НШ…А-3 и НШ… - 4 выпускаются с гидравлической компенсацией торцевых и радиальных зазоров (рис.
2.3).
22
12 – болт; 14 – кольцо опорное; 15 – кольцоДпружинноеИ; 16, 17 – шестерни ведущая и ведомая; 18 – корпус; 19 – вкладыш металлофторопластовый
Рис. 2.3. Шестеренные насосы серий НШ…А-3 и НШ… -4:
1 – втулка; 2 – платик; 3, 4, 6, 13 – манжеты; 5, 11 – обоймы поджимная и под-
шипниковая; 7, 8 – кольца; 9 – кольцо уплотнительное; 10 – крышка;
Ведущая 16 и ведомая 17 шестерни располагаются в подшипниковой 11 и поджимной 5 о оймах и платиках 2. Подшипниковая обойма
является общей опорой для цапф шестерен и металлофторопластовых |
|
вкладышей 19. Межзубовые пространстваА |
по периферии, в зоне высо- |
кого давления, уплотняются поджимной обоймой под действием дав- |
||
|
б |
|
ления жидкости в полости манжет радиального поджима 6. |
|
|
Торцы шестерен уплотняются платиками 2 под действием давле- |
||
и |
|
|
ния жидкости в полостях с торцевыми манжетами 3. |
|
|
Манжеты 4 уравновешивают крылья поджимных обойм, предо- |
||
храняя их от разрушения. |
|
|
С |
|
13. Ве- |
Приводной вал насоса уплотнен каркасными манжетами |
||
дущий вал центрируется относительно установочного бурта корпуса насоса втулкой 1.
Технические характеристики шестеренных насосов типа НШ даны в табл. 2.1, 2.2 /5, 8, 18/.
Корпуса шестеренных насосов изготовляют из чугуна, стали или алюминия. Для изготовления шестерен используют легированные стали (20Х, 40Х, 18ХН13А и др.) с применением цементации и закалки или азотирования.
23
Таблица 2.1
Техническая характеристика шестеренных насосов серии НШ… -4
Показатели |
|
НШ32-4 |
НШ50-4 |
НШ71-4 |
НШ100-4 |
НШ250-4 |
НШ400-4 |
|||||||
|
|
|
|
|
|
|
|
|
|
|
|
|||
Номинальный |
рабо- |
|
|
|
|
|
|
|
|
|
|
|||
чий объем, см3 |
|
31,5 |
|
|
48,8 |
|
69,7 |
98,8 |
250,0 |
400,0 |
||||
Давление |
на |
выходе, |
|
|
|
|
|
|
|
|
|
|
||
МПа: |
|
|
|
|
|
|
|
|
|
|
|
|
|
|
номинальное |
|
20 |
|
|
20 |
|
20 |
|
20 |
20 |
20 |
|||
максимальное |
|
25 |
|
|
25 |
|
25 |
|
25 |
25 |
25 |
|||
Давление |
на |
входе, |
|
|
|
|
|
|
|
|
|
|
||
МПа: |
|
|
|
|
|
|
|
|
|
|
|
|
|
|
максимальное |
|
0,15 |
|
|
0,15 |
|
0,15 |
0,15 |
0,15 |
0,15 |
||||
минимальное |
|
0,08 |
|
|
0,08 |
|
0,08 |
0,08 |
0,08 |
0,08 |
||||
Частота вращения,с-1: |
|
|
|
|
|
|
|
|
|
|
||||
номинальная |
|
24 |
|
|
30 |
|
19,2 |
19,2 |
15 |
15 |
||||
максимальная |
|
30 |
|
|
30 |
|
24 |
|
24 |
19,2 |
19,2 |
|||
минимальная |
|
5 |
|
|
5 |
|
5 |
|
5 |
5 |
5 |
|||
Коэффициент |
подачи |
0,94 |
|
|
0,94 |
|
0,95 |
0,95 |
0,94 |
0,94 |
||||
(объемный КПД), |
|
|
|
|
|
|
|
И |
|
|
||||
не менее |
|
|
|
|
|
|
|
|
|
|
|
|
|
|
Коэффициент |
полез- |
|
|
|
|
Д |
|
|
|
|||||
ного действия, |
|
0,83…0,89 |
0,83…0,89 |
0,86…0,90 |
0,86…0,90 |
0,86…0,90 |
||||||||
|
0,86…0,90 |
|||||||||||||
не менее |
|
|
|
|
|
|
|
|
|
|
|
|
|
|
Номинальная потреб- |
|
|
|
А |
|
|
|
|
|
|||||
ляемая |
|
мощность, |
33,2 |
|
|
56,9 |
80,1 |
156,5 |
250,4 |
|||||
|
|
|
51,9 |
|
||||||||||
кВт |
|
|
|
|
|
|
б |
|
|
|
|
|
|
|
Кинематическая |
|
и |
|
|
|
|
|
|
|
|
||||
вязкость |
|
рабочей |
|
30–70 |
30–70 |
30–70 |
30–70 |
30–70 |
||||||
жидкости |
при темпе- |
|
||||||||||||
30–70 |
|
|
||||||||||||
ратуре 50 °С, сСт |
|
|
|
|
|
|
|
|
|
|
|
|||
Класс |
чистоты рабо- |
С |
|
|
|
|
|
|
|
|
|
|||
чей |
жидкости по |
|
|
|
|
|
|
|
|
|
||||
|
|
|
|
|
|
|
|
|
|
|||||
ГОСТ 17216–71, |
|
15 |
|
|
15 |
|
15 |
|
15 |
15 |
15 |
|||
не грубее |
|
|
|
|
|
|
|
|
|
|
|
|
|
|
Номинальная |
тон- |
|
|
|
|
|
|
|
|
|
|
|||
кость фильтрации ра- |
|
|
|
|
|
|
|
|
|
|
||||
бочей жидкости, мкм, |
|
|
|
|
|
|
|
|
|
|
||||
не грубее |
|
|
|
25 |
|
|
25 |
|
25 |
|
25 |
25 |
25 |
|
Масса, кг |
|
|
|
6,4 |
|
|
7,1 |
|
16,5 |
16,5 |
44,5 |
45,0 |
||
|
|
|
|
|
|
|
|
|
|
|
|
|
|
|
24
|
|
|
Техническая характеристика шестеренных насосов |
|
Таблица 2.2 |
||||||
|
|
|
|
|
|||||||
|
|
|
|
|
|
|
|
|
|||
Показатели |
|
НШ 10-3 |
НШ 32У -2 |
НШ 50У-3 |
НШ 50А-3 |
НШ 71А-3 |
НШ 100А-3 |
НШ 250-3 |
|||
|
|
|
|
(3) |
|
|
|
|
|
|
|
Рабочий объем, см3 |
|
10 |
31,7 (32,0) |
49,1 |
|
48,8 |
69,7 |
98,8 |
250 |
||
Давление на выходе, МПа: |
|
|
|
|
И |
|
|
|
|||
номинальное |
|
16 |
14 (16) |
16 |
|
16 |
16 |
16 |
16 |
||
максимальное |
|
20 |
17,5 (20) |
20 |
|
20 |
20 |
20 |
20 |
||
Давление на входе в насос, МПа: |
|
|
|
|
|
|
|
|
|
||
минимальное |
|
0,08 |
0,08 |
|
0,08 |
|
0,08 |
0,08 |
0,08 |
0,08 |
|
максимальное |
|
0,15 |
0,15 |
|
0,15 |
|
0,15 |
0,15 |
0,15 |
0,15 |
|
Частота вращения вала, с-1: |
|
|
А |
|
|
|
|
|
|||
|
|
|
|
|
|
|
|
|
|||
минимальная |
|
16 |
16 |
|
16 |
|
16 |
16 |
16 |
16 |
|
номинальная |
|
40 |
32 |
|
32 |
|
32 |
25 |
25 |
25 |
|
|
|
|
|
б |
Д40 |
|
|
|
|
||
максимальная |
|
50 |
40 |
|
40 |
32 |
32 |
32 |
|||
Номинальная |
потребляемая мощ- |
|
|
|
|
|
|
|
|
|
|
ность, кВт |
|
|
7,5 |
17,9 (21,0) |
25,7 |
|
26,2 |
30,53 |
43,15 |
106,2 |
|
КПД насоса (не менее) |
|
0,82 |
0,82 |
|
0,82 |
|
0,82 |
0,85 |
0,85 |
0,85 |
|
Коэффициент |
подачи |
(объемный |
С |
|
|
|
|
|
|
|
|
КПД) (не менее) |
|
0,92 |
0,92 |
|
0,92 |
|
0,92 |
0,94 |
0,94 |
0,94 |
|
Класс чистоты рабочей |
жидкости |
15 и15 |
|
|
|
|
|
|
|
||
по ГОСТ 17216–71, не грубее |
|
15 |
|
15 |
15 |
15 |
15 |
||||
Номинальная тонкость фильтрации |
|
|
|
|
|
|
|
|
|
||
рабочей жидкости, мкм, не более |
25 |
25 |
|
25 |
|
25 |
25 |
25 |
25 |
||
Масса кг |
|
|
2,48 |
5,28 |
|
6,19 |
|
7,47 |
16,8 |
16,8 |
45,6 |
Примечание. Значения показателей определены при работе насосов в номинальном режиме на дизельном масле вязкостью 60…70 сСт при температуре 50 °С.
25