У D-триггеров с потенциальным управлением информация со входа D переписывается на выход Q в течение времени, при котором синхросигнал активен С=1. При пассивном синхросигнале триггер не чувствителен к изменениям информационного сигнала.
C 
t
D 
t
Q 
t
Рис. 10.59. Временная диаграмма D-триггера со статическим управлением
Схемное обозначение и таблица истинности, поясняющая алгоритм функционирования D-триггера, приведены в табл. 10.4.
Временная диаграмма D-триггера со статическим управлением приведена на рис. 10.59.
В триггерах с динамическим управлением информация записывается (передается на выход Q) по фронту или спаду сигнала синхронизации на входе С.
|
|
|
D |
D |
ТТ |
Q |
t |
C |
|
|
C |
|
|
Q |
|
|
|
|
|
|
|
|
t |
Q
t
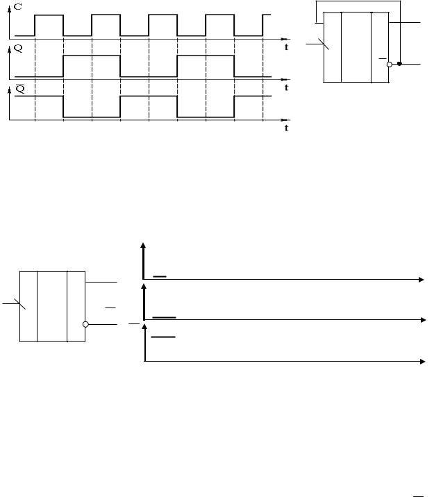
Рис. 10.60. Схемное обозначение и временная диаграмма D-триггера с динамическим управлением по спаду сигнала синхронизации
280
Временная диаграмма D-триггера с динамическим управлением |
|||
по спаду сигнала синхронизации приведена на рис. 10.60. |
|
||
Т-триггер |
|
|
|
Т-триггер – это устройство с двумя ус- |
|
|
|
тойчивыми состояниями и одним счетным |
D ТТ |
Q |
|
(информационным) входом Т. Счётным он на- |
|||
C |
|
||
зывается потому, что он подсчитывает коли- |
|
||
чество импульсов, поступивших на его вход. |
|
Q |
|
Триггер переключается каждый раз в |
|
|
|
противоположное состояние по фронту или |
Рис. 10.61. Т-триггер |
||
по спаду управляющего сигнала на входе Т. |
на базе D-триггера |
||
Т-триггер может быть выполнен на основе D- |
|
|
|
триггера с динамическим управлением путем соединения инверсного |
|||
выхода со входом D (рис. 10.61). Счетный триггер из D-триггера с по- |
|||
тенциальным управлением получить нельзя. |
|
|
|
Т-триггеры используются при построении схем различных счёт- |
|||
чиков, поэтому в составе больших интегральных схем различного на- |
|||
значения обычно есть готовые модули этих триггеров. |
|
||
|
T |
|
Q |
t |
|
ТТ |
Q |
|
Т |
||
t |
||
Q |
||
|
||
|
Q |
|
|
t |
Рис. 10.62. Схемное обозначение Т-триггера, работающего по спаду синхронизирующего сигнала, и его временная диаграмма
Схемное обозначение Т-триггера, работающего по спаду синхронизирующего сигнала, и его временная диаграмма приведены на рис. 10.62.
JK-триггер
JK-триггер имеет два выхода: прямой Q и инверсный Q .
JK-триггер имеет пять входов: R – асинхронный вход установки в состояние «0» (Q=0); S – асинхронный вход установки в состояние «1»
281
(Q=1); К – синхронизируемый вход установки в состояние «0» (Q=0); J – синхронизируемый вход установки в состояние «1» (Q=1); С – синхронизирующий вход.
Асинхронные входы R и S работают так же, как в RS-триггере, независимо от сигналов на остальных входах: режим «S=1, R=0» – режим записи «1»; режим «S=0 и R=1» – режим записи «0»; режим «S=R=0» – режим хранения информации. Не допускается одновременно наличие на входах R и S активных сигналов «S=R=1».
При S=R=0 логика работы входов J, K и C такова: если на входе J логическая 1, а на входе K – логический 0, то по спаду синхроимпульса на входе C триггер установится в состояние «1». Если на входе J – логический 0, а на входе K – логическая 1, то по спаду синхроимпульса на входе C триггер установится в состояние «0». В случае, когда и на входах J и K логические нули, то независимо от сигнала на входе C состояние триггера не меняется. И последний режим работы, когда на входах J и K логические единицы, JK-триггер работает в режиме делителя частоты сигнала на входе С. Это означает, что по заднему фронту каждого тактового импульса состояние триггера меняется на противоположное.
Таблица 10.5
Схемное обозначение и таблица истинности JK-триггера
|
|
|
Схемное |
|
|
|
|
|
|
Входы |
|
Состояние |
Примечание |
||||||
|
|
|
обозначение |
|
|
|
|
|
|
|
|
|
|
выходов |
|||||
|
|
|
|
|
|
|
|
|
|
|
|
С |
K |
|
J |
Q(t) |
Q(t+1) |
|
|
|
|
|
|
|
|
|
|
|
|
|
|
0 |
|
* |
|
* |
0 |
0 |
Режим хранения информации |
|
|
|
S |
|
TT |
|
Q |
0 |
|
* |
|
* |
1 |
1 |
|||||
|
|
|
|
|
|
|
|
||||||||||||
|
|
|
|
|
|
||||||||||||||
|
|
|
|
|
|
|
|
|
|
|
|
1 |
|
0 |
|
0 |
0 |
0 |
Режим хранения информации |
|
|
|
J |
|
|
|
|
|
|
|
|
|
|
||||||
|
|
|
|
|
|
|
1 |
|
0 |
|
0 |
1 |
1 |
||||||
|
|
|
K |
|
|
|
|
|
|
|
|
|
|
|
|||||
|
|
|
|
|
|
|
|
|
|
|
1 |
|
0 |
|
1 |
0 |
1 |
|
|
|
|
|
|
|
|
|
|
|
|
|
|
|
|||||||
|
|
|
C |
|
|
|
|
|
|
|
|
|
|
Режим установки единицы J=1 |
|||||
|
|
|
|
|
|
|
|
|
|
|
|
|
|
|
|
|
|||
|
|
Q |
1 |
|
0 |
|
1 |
1 |
1 |
||||||||||
|
|
|
|
|
|
|
|
|
|
||||||||||
|
|
|
R |
|
|
|
|
|
|
|
|
1 |
|
1 |
|
0 |
0 |
0 |
Режим записи нуля K=1 |
|
|
|
|
|
|
|
|
|
|
|
|
||||||||
|
|
|
|
|
|
|
1 |
|
1 |
|
0 |
1 |
0 |
||||||
|
|
|
|
|
|
|
|
|
|
|
|
|
|
|
|||||
|
|
|
|
|
|
|
|
|
|
|
|
|
|
|
|
|
|
|
|
|
|
|
|
|
|
|
|
|
|
|
|
1 |
|
1 |
|
1 |
0 |
1 |
Счетный режим триггера J=K=1 |
|
|
|
|
|
|
|
|
|
|
|
|
1 |
|
1 |
|
1 |
1 |
0 |
|
|
|
|
|
|
|
|
|
|
|
|
|
|
|
|
|||||
Примечания: 1. * – любое состояние входа.
2. Таблица справедлива при R=S=0.
282
Схемное обозначение и таблица истинности JK-триггера приведены в табл. 10.5.
Из таблицы видно, что при J=1 и K=0 триггер по тактовому импульсу устанавливается в состояние 1 (Q=1); при J=0 и К=1 триггер по тактовому импульсу устанавливается в состояние «0» (Q=0); при J=K=0 триггер хранит ранее принятую информацию независимо от сигнала на синхронизирующем входе С; при J=K=1 состояние выхода Q триггера с каждым импульсом на синхронизирующем входе С изменяется на противоположное. Триггер становится делителем частоты на 2.
C |
t |
|
J
t
K
t
Q |
t |
|
Q
t
Рис. 10.63. Временная диаграмма JK-триггера при R=S=0
На рис. 10.63 приведена временная диаграмма JK-триггера, иллюстрирующая переключение триггера по спаду синхронизирующего сигнала в зависимости от состояния входов J и K.
10.19.4. Регистры
Регистрами называются устройства для приема, хранения, передачи и преобразования информации, представленной обычно в двоичной системе счисления. На рис. 10.64 приведена схема трехразрядного регистра сдвига на JK-триггерах. Предварительно подачей сигналов на установочные входы R и S все триггеры установлены в нулевое состояние (Q1=Q2=Q3=0).
283
|
|
Выход |
|
|
S TT1 |
S |
TT2 Q |
S TT3 Q3 |
|
|
Q1 |
2 |
|
|
J |
J |
|
J |
|
+ K |
K |
|
K |
|
C |
C |
Q2 |
C |
Q3 |
Q1 |
R |
|||
R |
R |
|
|
|
Рис. 10.64. Регистр сдвига на JK-триггерах
C
Q1 t
t
Q2
t
Q3
Рис. 10.65. Временная диаграмма регистра сдвига t
Установим триггер ТТ1 в состояние Q1=1. При этом состояние регистра определится совокупностью значений Q1Q2Q3=100. Под действием первого импульса синхронизации С состояние триггера изменится на Q1Q2Q3=010 (рис. 10.65), под действием второго импульса синхронизации – на Q1Q2Q3=001 и т.д. Таким образом, под действием каждого импульса синхронизации происходит сдвиг двоичного числа на один разряд.
284