|
|
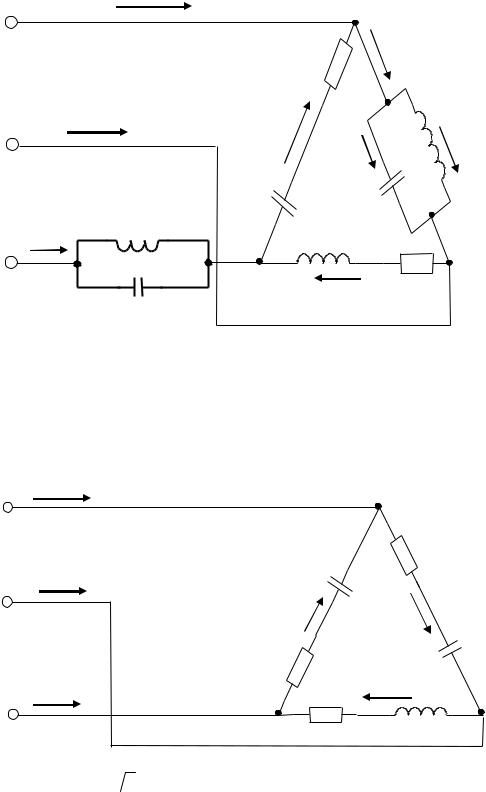
Вариант 9 |
|
|
A |
|
IA |
|
|
|
|
R3 |
R1 |
IAB |
B |
|
IB |
||
|
|
|
||
|
|
|
|
|
|
|
ICA |
|
L |
|
|
|
|
C |
C |
IC |
R2 |
IBC |
A1 |
|
||||
|
|
A2 |
|
|
Дано: R1=R2=R3=100 Ом; С= 250 мкФ; L=100 мГн; UЛ=300 В; показания ам-
π2
перметров А1 и А2 одинаковы.
Определить частоту питающего напряжения f, все токи, фазные напряжения, активную, реактивную, полную мощности. Построить векторную диаграмму.
Вариант 10
A IA
|
|
|
XC1 |
|
B |
IB |
|
ICA XL1 |
|
XL3 |
|
|
||
|
|
|
||
|
XC3 |
|
XL4 |
IAB |
C |
IC |
XL2 |
XC2 |
|
|
|
IBC |
|
|
Дано: XL1=120 Ом; XL2=60 Ом; XC1=80 Ом; XC3=10 Ом; XL4=20 Ом; UЛ=300 В; нагрузка симметрична.
Определить XL3, XС2, все токи, фазные напряжения, активную, реактивную, полную мощности. Построить векторную диаграмму.
360
Вариант 13
A IA
IB |
R1 |
|
XC |
||
B |
||
|
IAB |
|
R3 |
ICA |
|
IC |
R2 |
|
C |
||
B' |
||
|
||
|
IBC |
Дано: R1=R2=20 Ом; R3=10 Ом; XC=10
3 Ом; линейный провод В находится в обрыве; UЛ=100 В.
Определить все токи, фазные и линейные напряжения, активную, реактивную, полную мощности. Построить векторную диаграмму.
Вариант 14
IA
A
|
XC2 |
|
XL2 |
|
|
|
IAB |
||
|
IB |
|
||
|
|
|
||
B |
ICA |
|
R2 |
|
R1 |
IL1 |
|||
|
XL1 |
|||
|
IC |
|
||
C |
IBC |
IC1 |
XC1 |
|
|
|
|||
|
|
|
Дано: R1=R2=75 Ом; XL1=XL2=XС1=XС2=75
3 Ом; UЛ=150 В.
Определить все токи, фазные напряжения, активную, реактивную, полную мощности. Построить векторную диаграмму.
362
|
|
Вариант 15 |
|
|
|
|
|
IA |
|
|
|
A |
|
|
|
|
|
|
|
XC3 |
|
XC1 |
|
|
|
|
|
||
|
I3 |
XL3 |
XL1 |
IС1 |
|
|
|
|
|||
IB |
|
XL2 |
|
||
|
|
|
R1 |
||
B |
ICA |
I2 |
IRL |
||
IAB |
|||||
|
|
XC2 |
|||
|
|
R2 |
|||
|
C' |
|
|||
C |
|
|
|||
|
|
|
|
||
IC |
|
|
|
IBC |
|
|
|
|
|
||
Дано: R1=30 |
3 Ом; R2= 120 |
Ом; XL1=30 Ом; XL2=50 Ом; XL3=100 Ом; |
|||
|
3 |
|
|
|
|
XС1=120 Ом; XС2=100 Ом; XС3=50 Ом; линейный провод В находится в обрыве;
UАВ=240
3 В.
Определить все токи, фазные и линейные напряжения, активную, реактивную, полную мощности. Построить векторную диаграмму.
|
|
|
Вариант 16 |
|
|
A |
|
IA |
IAB |
|
|
|
|
|
|
||
|
|
|
R3 |
R1 |
|
|
IB |
|
|
||
B |
ICA |
V1 |
XL1 |
||
|
|||||
|
|
|
|
||
|
IC |
|
IBC |
XC2 |
|
C |
|
R2 |
|||
|
|
|
|
Дано: R1=R2=50 Ом; R3=100 Ом; XL1=XС2=50
3 Ом; показания вольтметра V1 составляют 200 В.
Определить все токи, фазные и линейные напряжения, активную, реактивную, полную мощности. Построить векторную диаграмму.
363
Вариант 17
A |
IA |
|
|
|
|
W |
|
|
|
* |
|
|
|
|
|
|
ICA |
|
* |
|
|
R1 |
|
IB |
|
|
|
|
|
IAB |
|
B |
R3 |
|
|
|
|
XL1 |
|
|
|
|
XL3
XC1
C |
IC |
|
R2 |
|
C' |
IBC |
|
|
|
|
|
|
|
|
XC2 |
Дано: R1=R2=R3; XL1=XL3=XC1=XС2=300 Ом; линейный провод С находится в обрыве; UАВ=300 В; показания ваттметра W составляют 150 Вт.
Определить R1, все токи, фазные и линейные напряжения, активную, реактивную, полную мощности. Построить векторную диаграмму.
|
|
Вариант 18 |
|
A |
|
|
|
|
IA |
R6 |
R1 |
|
|
|
XL1 |
|
IB |
XC3 |
R5 |
|
XC1 |
||
B |
ICA |
|
IAB |
|
|
||
|
IC |
|
R2 |
C |
XL2 |
XC2 R4 |
|
|
|
R3 |
|
|
|
|
|
|
|
|
IBC |
Дано: R1=R2=40 Ом; |
R4=20 Ом; |
R5=80 Ом; XL2=100 Ом; XC1=15 Ом; |
|
XС3=30 Ом; UЛ=200 В; нагрузка симметрична.
Определить R3, R6, XL1, XС2, все токи, фазные напряжения, активную, реактивную, полную мощности. Построить векторную диаграмму.
364