Вариант 19
A |
|
|
IAB |
|
|
|
IA |
|
|
|
|
|
|
|
|
|
|
R3 |
R1 |
|
|
|
|
|
|
IB |
ICA |
V1 |
XL1 |
B |
|
|||
|
|
|
|
|
|
IC |
|
IBC |
XC2 |
|
|
R2 |
C 

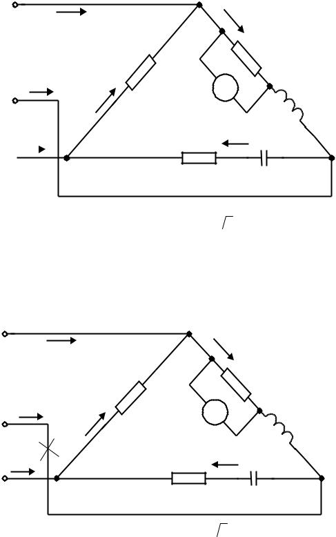
Дано: R1=R2=50 Ом; R3=100 Ом; XL1=XC2=50
3 Ом; показания вольтметра V1 составляют 200 В.
Определить все токи, фазные и линейные напряжения, активную, реактивную, полную мощности. Построить векторную диаграмму.
Вариант 20
A |
|
|
IAB |
|
|
|
|
IA |
|
|
|
|
|
|
|
|
|
|
|
|
R3 |
R1 |
|
|
|
|
|
|
|
|
IB |
ICA |
V1 |
|
XL1 |
B |
|
|
|||
|
|
|
|
|
|
|
IC |
|
IBC |
XC2 |
|
C |
|
R2 |
B' |
||
|
|
|
|
||
|
|
|
|
|
Дано: R1=R2=50 Ом; R3=100 Ом; XL1=XC2=50
3 Ом; линейный провод В находится в обрыве; показания вольтметра V1 составляют 200 В.
Определить все токи, фазные и линейные напряжения, активную, реактивную, полную мощности. Построить векторную диаграмму.
365
|
Вариант 21 |
|
|
|
|
XL1 |
IA |
А' |
|
A |
|
|||
|
|
|
||
IB |
|
XC2 |
XL2 |
|
XC1 |
IAB |
|||
|
||||
B |
R1 |
|
R2 |
|
|
IC |
|
||
|
ICA |
R3 |
||
|
|
|||
C |
|
|
|
|
|
|
|
IBC |
Дано: R1=R2=R3=100 Ом; XL1=XL2=XС1=XC2=75 Ом; UЛ=200 В.
Определить все токи, фазные напряжения, активную, реактивную, полную мощности. Построить векторную диаграмму.
|
|
|
Вариант 22 |
|
|
A |
XL1 |
XC1 |
|
IA |
A' |
|
|
|
|||
|
|
|
|
||
|
|
|
|
|
|
|
IB |
V1 |
|
|
IAB |
|
|
|
|
||
B |
|
|
|
|
|
|
|
R3 |
|
|
|
|
|
|
|
R1 |
|
|
|
XC2 |
IС2 |
|
|
|
IC |
|
|
ICA |
|
C |
XL2 |
|
|
R2 |
|
|
C' |
|
|
||
|
|
IL2 |
|
IBC |
|
|
|
|
|
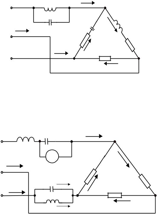
Дано: R1=30 Ом; R2=20 Ом; R3=10 Ом; XL1=XL2=XС1=XC2=100 Ом; показания вольтметра V1 составляют 200 В.
Определить все токи, фазные и линейные напряжения, активную, реактивную, полную мощности. Построить векторную диаграмму.
366
|
|
|
Вариант 23 |
|
|
|
|
IA |
XL1 |
XC1 |
|
A' |
|
|
A |
|
|
|||
|
|
|
|
R1 |
|
|
|
|
V1 |
|
R3 |
IAB |
|
|
IB |
|
|
|||
|
|
|
XL2 |
|||
|
|
|
|
|
||
|
B |
|
XL3 |
|
R4 |
|
|
|
|
|
|||
|
|
|
|
|
|
|
|
IC |
|
XC3 |
ICA |
XC2 |
IBC |
|
C |
|
|
|
R2 |
|
|
|
|
|
XL4 |
|
|
|
|
|
|
|
|
|
|
|
|
|
|
R5 |
|
|
Дано: R1=40 Ом; R2=120 |
Ом; R3=R4=80 |
Ом; R5=60 |
Ом; XL2=25 Ом; |
||
XL1=XС1=XС2=XС3=XL4=50 Ом; XL3=100 Ом; показания вольтметра V1 составляют |
||||||
100 |
3 В. |
|
|
|
|
|
|
Определить все токи, фазные и линейные напряжения, активную, реактив- |
|||||
ную, полную мощности. Построить векторную диаграмму. |
|
|||||
Вариант 24
IA
A |
|
|
|
IB |
XL3 |
|
XС1 |
|
|
|
|
B |
|
XC3 XL1 |
|
|
|
|
|
ICA |
|
XC2 |
IAB |
|
|
||
IC |
|
IBC |
|
C |
|
|
B' |
XL4 |
XL2 |
|
|
V1 |
XC4 |
|
|
|
|
|
|
Дано: XL1=XL3=XС1=XС2=80 Ом; XL2=XL4=XC3=XC4=40 Ом; UЛ=400 В.
Определить все токи, показания вольтметра V1, фазные напряжения, активную, реактивную, полную мощности. Построить векторную диаграмму.
367
Приложение 4
Задание на самостоятельную работу по асинхронным двигателям Задача № 4
Трехфазный асинхронный двигатель с короткозамкнутым ротором, номинальная мощность которого Р2н, включен в сеть на номинальное напряжение Uн частотой f=50 Гц. Определить номинальный Iн и пусковой Iп токи; номинальный Мн, пусковой Мп и максимальный Мкр моменты; полные потери мощности в двигателе при номинальной нагрузке ∆Рн. Как изменится пусковой момент двигателя при снижении напряжения на его зажимах на 15 % и возможен ли пуск двигателя при этих условиях с номинальной нагрузкой? Построить механическую характеристику двигателя. Данные для расчета приведены в табл. П.4.
Таблица П.4
Но- |
|
|
|
Данные для расчета |
|
|
|
|
|
|
|
|||
мер |
|
Р2н, |
|
|
|
|
|
Мкр |
|
Мп |
|
Iп |
||
вари- |
Uн, В |
кВт |
Sн, % |
ηн |
cosφн |
р |
|
|
|
|
|
|
|
|
|
|
|
Мн |
|
Iн |
|||||||||
М |
|
|
|
|||||||||||
анта |
|
|
|
|
|
|
|
н |
|
|
||||
|
|
|
|
|
1 |
|
|
|
|
|
|
|
||
1 |
220 |
0,8 |
3,0 |
0,78 |
0,86 |
|
2,2 |
|
1,9 |
7,0 |
||||
2 |
220 |
0,1 |
3,0 |
0,795 |
0,87 |
1 |
|
2,2 |
|
1,9 |
7,0 |
|||
3 |
220 |
1,5 |
4,0 |
0,8 |
0,88 |
1 |
|
2,2 |
|
1,8 |
7,0 |
|||
4 |
220 |
2,2 |
4,5 |
0,5 |
0,89 |
1 |
|
2,2 |
|
1,8 |
7,0 |
|||
5 |
220 |
3,0 |
3,5 |
0,83 |
0,89 |
1 |
|
2,2 |
|
1,7 |
7,0 |
|||
6 |
220 |
4,0 |
2,0 |
0,845 |
0,89 |
1 |
|
2,2 |
|
1,7 |
7,0 |
|||
7 |
220 |
5,5 |
3,0 |
0,855 |
0,89 |
1 |
|
2,2 |
|
1,7 |
7,0 |
|||
8 |
220 |
7,5 |
3,5 |
0,86 |
0,89 |
1 |
|
2,2 |
|
1,6 |
7,0 |
|||
9 |
220 |
10 |
4,0 |
0,87 |
0,89 |
1 |
|
2,2 |
|
1,5 |
7,0 |
|||
10 |
220 |
13 |
3,5 |
0,88 |
0,89 |
1 |
|
2,2 |
|
1,5 |
7,0 |
|||
11 |
220 |
17 |
3,5 |
0,88 |
0,90 |
1 |
|
2,2 |
|
1,2 |
7,0 |
|||
12 |
220 |
22 |
3,5 |
0,88 |
0,90 |
1 |
|
2,2 |
|
1,1 |
7,0 |
|||
13 |
220 |
30 |
3,0 |
0,89 |
0,90 |
1 |
|
2,2 |
|
1,01 |
7,0 |
|||
14 |
220 |
40 |
3,0 |
0,90 |
0,91 |
1 |
|
2,2 |
|
1 |
7,0 |
|||
15 |
220 |
55 |
3,0 |
0,90 |
0,92 |
1 |
|
2,2 |
|
1 |
7,0 |
|||
16 |
220 |
75 |
3,0 |
0,915 |
0,92 |
1 |
|
2,2 |
|
1 |
7,0 |
|||
17 |
220 |
100 |
2,5 |
0,885 |
0,92 |
1 |
|
2,2 |
|
1 |
7,0 |
|||
18 |
380 |
10 |
3,0 |
0,89 |
0,87 |
2 |
|
2,0 |
|
1,4 |
7,0 |
|||
19 |
380 |
13 |
3,0 |
0,90 |
0,89 |
2 |
|
2,0 |
|
1,4 |
7,0 |
|||
20 |
380 |
17 |
3,0 |
0,91 |
0,89 |
2 |
|
2,0 |
|
1,3 |
7,0 |
|||
21 |
380 |
22 |
3,0 |
0,925 |
0,90 |
2 |
|
2,0 |
|
1,3 |
7,0 |
|||
22 |
380 |
30 |
3,0 |
0,925 |
0,91 |
2 |
|
2,0 |
|
1,2 |
7,0 |
|||
23 |
380 |
40 |
3,0 |
0,925 |
0,92 |
2 |
|
2,0 |
|
1,2 |
7,0 |
|||
24 |
380 |
55 |
3,0 |
0,925 |
0,92 |
2 |
|
2,0 |
|
1,1 |
7,0 |
|||
25 |
380 |
75 |
3,0 |
0,925 |
0,92 |
2 |
|
2,0 |
|
1,1 |
7,0 |
|||
|
|
|
|
369 |
|
|
|
|
|
|
|
|
|
|