Материал: 2416

Внимание! Если размещение файла нарушает Ваши авторские права, то обязательно сообщите нам

 

 

Вариант 25

 

 

A

IA

R1

XL1

 

 

 

 

 

C

 

XC1

 

 

 

 

B

 

 

 

IB

 

L

A

 

 

 

 

 

 

 

 

C

 

 

XL2

XC2

 

 

 

 

 

 

R2

 

IC

 

 

 

 

Дано: R1=R2=30

3 Ом; XL1=15 Ом; XL2=100 Ом;

XС1=30 Ом; XС2=70 Ом;

L=1 мГн; С=0,1 мкФ; UЛ=240 В; показания амперметра А равны нулю. Определить частоту питающего напряжения f, все токи, фазные напряжения,

активную, реактивную, полную мощности. Построить векторную диаграмму.

Вариант 26

A

R1

XL1

 

 

 

 

 

 

 

 

 

 

IR2

IA

 

 

 

 

 

 

 

R2

 

B

 

 

XL2

 

A

 

 

 

 

 

IL2

IB

 

 

 

C

R3

 

XL3

IC

 

 

 

 

N

 

 

IN

 

 

 

 

 

Дано: R1=R3=10 3 Ом; R2=

40

Ом; XL1=XL3=10 Ом; XL2=40 Ом; показания

 

 

3

 

 

амперметра А составляют 3 А.

Определить все токи, фазные и линейные напряжения, активную, реактивную, полную мощности. Построить векторную диаграмму.

355

Приложение 3

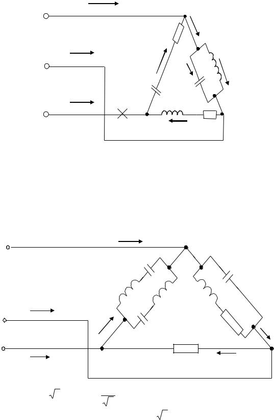
Задание на самостоятельную работу «Расчет трехфазной электрической цепи переменного тока при соединении нагрузки «треугольником» Задача № 3

 

 

 

 

 

Вариант 1

A

 

IA

 

 

 

 

 

 

 

 

 

Дано: R1=R2=R3; XL1=XL2=XL3;

 

 

 

 

 

V1

 

 

 

 

 

XС1=XС2=XС3=10 Ом; линейный

 

 

 

R3

 

 

 

 

 

XC

 

провод С находится в обрыве; по-

 

IB

 

 

V2

казания вольтметров V1, V2 и V3

B

IСА

 

 

 

IAB

XL

одинаковы и составляют 100 В.

 

 

 

XL3

V3

Определить R1, XL1 все токи,

 

 

 

 

 

 

XC

 

 

линейные и фазные напряжения,

 

 

 

 

R1

активную, реактивную, полную

C

 

C

R2

XL

XC

мощности. Построить векторную

 

IC

 

 

IBC

диаграмму.

 

 

 

 

 

 

 

 

 

 

 

 

Вариант 2

 

 

 

IA

 

A

 

 

V1

 

 

 

 

IB

R3

XC1

 

 

 

 

V2

B

 

I

XL1

 

 

IAB

 

 

XL3

V3

 

IC

XC3

R1

 

R2

XL2 XC2

C

 

 

 

 

 

 

 

IBC

Дано: R1=R2=R3; XL1=XL2=XL3; XС1=XС2=XС3=10 Ом; показания вольтметров V1, V2 и V3 одинаковы и составляют 100 В.

Определить R1, XL1, все токи, линейные и фазные напряжения, активную, реактивную, полную мощности. Построить векторную диаграмму.

356

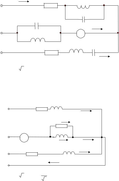
Вариант 3

A

IA

 

 

 

R3

IAB

 

 

 

 

 

IB

ICA

 

XL1

 

 

B

IC1

XC1 IL1

 

 

XC3

 

 

IC

 

XL2

 

C

 

 

 

 

 

IBC

R2

Дано: R2=R3=XL1=XС1=100 Ом; XL2=XС3=100 3 Ом; UЛ=400 В.

Определить все токи, фазные напряжения, активную, реактивную, полную мощности. Построить векторную диаграмму.

Вариант 4

A IA

 

 

 

R1

B

IB

XC3

IAB

 

 

 

ICA

 

 

IC

R3

XL2

C

R2

 

 

 

 

 

 

 

IBC

Дано: R1=20 Ом; R2=R3=10 Ом; XL2=XС3=10 3 Ом; UЛ=100 В.

Определить все токи, фазные напряжения, активную, реактивную, полную мощности. Построить векторную диаграмму.

357

Вариант 5

IA

A

 

R3

IAB

 

 

 

 

 

 

IB

 

XL1

 

ICA

 

B

IC1

XC1 IL1

 

 

XC3

 

 

 

IC

XL2

 

C

C'

 

 

 

 

 

R2

 

 

IBC

 

 

 

Дано: R2=R3=XL1=XL2=XС1=XС3=100 Ом; UЛ=400 В; линейный провод С находится в обрыве.

Определить все токи, фазные напряжения, активную, реактивную, полную мощности. Построить векторную диаграмму.

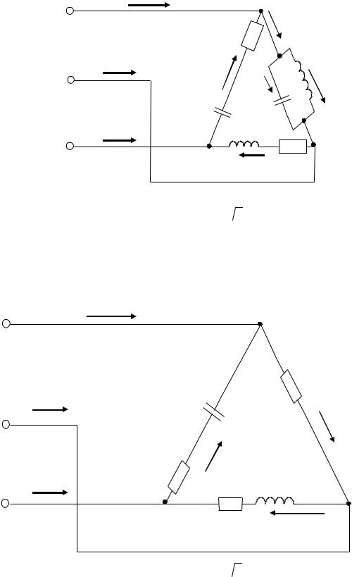
Вариант 6

IA

A

 

 

XC3

XC1

 

 

 

 

 

XL3

XL1

IB

 

XL2

 

 

R1

B

ICA

 

XC2

IAB

 

 

C

 

 

R2

 

 

 

IC

 

 

IBC

 

 

 

Дано: R1=30

3 Ом; R2=120

Ом; XL1=30 Ом; XL2=50 Ом; XL3=100 Ом;

 

3

 

 

XС1=120 Ом; XС2=100 Ом; XС3=50 Ом; UЛ=240

3 В.

Определить все токи, фазные напряжения, активную, реактивную, полную мощности. Построить векторную диаграмму.

358

 

 

Вариант 7

 

 

A

IA

 

 

 

 

 

 

 

 

IB

 

 

R1

B

 

XC3

 

 

 

 

 

 

 

ICA

IAB

 

 

 

 

C IC

R3

R2

XL2

C'

 

 

 

 

IBC

Дано: R1=20 Ом; R2=R3=10 Ом; XL2=XС3=10 3 Ом; UЛ=100 В; линейный провод С находится в обрыве.

Определить все токи, фазные напряжения, активную, реактивную, полную мощности. Построить векторную диаграмму.

Вариант 8

A

 

 

IA

 

 

 

 

 

 

 

 

XC2

XL2

 

 

 

IAB

 

IB

 

 

 

 

 

 

B

 

R1

 

R2

 

 

 

 

 

 

 

 

IC

 

ICA

 

 

 

 

R3

C

 

 

 

 

 

 

 

 

 

 

 

IBC

Дано: R1=R2=100 Ом; R3=200 Ом; XL2=XС2=100 3 Ом; UЛ=200 В.

Определить все токи, фазные напряжения, активную, реактивную, полную мощности. Построить векторную диаграмму.

359