Материал: 2320

Внимание! Если размещение файла нарушает Ваши авторские права, то обязательно сообщите нам
Наличие управляемой стрелы и рукояти позволяет выносить грунтоуплотняющее оборудование на значительное расстояние от экскаватора, опускать, поднимать, поворачивать, устанавливать его в заданное положение и удерживать в таком состоянии.
Основными производителями грунтоуплотняющего оборудования за рубежом (см. рис. 4.3–4.6) являются фирмы ГерманииИ, США, Англии, Франции, Японии, Швеции и др. [30, 32].
Несмотря на большое разнообразие конструктивных решений, навесное грунтоуплотняющее оборудование к гидравлическим экскаваторам, выпускаемое за рубежом, состоитДв основном из вибровозбудителя с дебалансными валами, приводимого в движение гидромотором, уплотняющей плиты и подвески к экскаватору. Недостатком такого оборудования является то, что оно способно уплотнять только несвязные и малосвязные Агрунты, а наличие вращающихся деталей, ременных передач приводит к снижению долговечности, надежности подшипниковых узлов и всего оборудования в целом.
СибРис. 4.3. Трамбующая машина
66

 

 

 

 

И

 

 

 

Д

Рис. 4.4. Трамбовочные пластины SBV 360 4WD STEHR

 

 

А

 

 

б

 

 

и

 

 

 

С

Р с. 4.5. Бензиновые вибротрамбовки

Рис. 4.6. Трамбующее навесное оборудование

 

67

Наиболее перспективными навесными грунтоуплотняющими машинами к экскаваторам являются гидротрамбовки на основе гидравлических ударных устройств. Важные преимущества гидроударного оборудования – универсальность и широкая область применения для

выполнения различных видов работ.

 

И

 

 

 

4.3. Расчет параметров трамбующего рабочего органа

Выбор основных параметров трамбующего рабочего органа сво-

 

 

Д

дится к определению массы подвижных частей, общей массы трам-

бующего рабочего органа, скорости в момент удара, требуемой энер-

гии удара, а также размеров трамбующей плиты. Указанные парамет-

ры должны обеспечить получение требуемой плотности в слое грунта

 

А

 

заданной толщины. При этом необходимо стремиться к тому, чтобы

достижение требуемой плотности происходило при минимальном

числе ударов. Это условие обеспечивается выбором удельного им-

пульса удара,

предельному, а контактного напряжения,

 

близким

 

 

близким к пределу прочности грунта [24].

 

Рабочий орган ударного действия для уплотнения грунта – гидро-

трамбовка – является сменным ра очим оборудованием экскаватора и навешивается на него вместо ковша, в связи с чем общая масса гидротрамбовки не должна превышать массы ковша с грунтом.

альноовкивозможным схемам (см. рис. 4.7): Са) с непосредственным ударом трамбующей плиты по грунту;

Г дротрам могут ыть выполнены по четырем принципи-

б) с непосредственным ударом плиты по грунту и дополнительной опорной (подж мной) пл той;

в) с ударом по грунту через шабот; г) с ударом по грунту через шабот и дополнительной опорной

(поджимной) плитой.

Первая и вторая схемы (а, б) являются предпочтительнее, так как при этом обеспечивается высокая эффективность по уплотнению и более высокий КПД удара. По второй схеме уменьшается динамическое воздействие на экскаватор.

68

При определении параметров гидротрамбовки считается, что ее корпус жестко крепится к базовой машине.

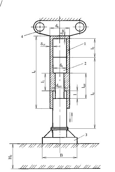
Расчетная схема гидротрамбовки представлена на рис. 4.8. Исходными данными для расчета параметров гидротрамбовки являются:

а) вид грунта (характеризуется удельным импульсом удара i , пре-

делом прочности σр , влажностью W);

 

 

И

 

 

 

 

 

 

 

=δ δmax , обычно при-

б) требуемая плотность уплотнения грунта δ

 

 

= k = 0,98;

 

 

 

 

нимается δ

 

 

 

 

в) толщина уплотняемого слоя грунта H0.

 

 

 

 

 

 

 

Д

 

 

 

 

А

 

 

 

 

 

б

 

 

 

и

 

 

 

 

С

Рис. 4.7. Принципиальные схемы гидротрамбовок:

 

 

 

1 – корпус; 2 – подвижные части; 3 – сменная трамбующая плита; 4 – кронштейн; 5 – дополнительная опорная плита; 6 – шабот

69

Геометрические размеры трамбующей плиты при оптимальных влажностях грунтов выбираются из условия [24]:

 

 

Bmin

H

0

 

 

 

 

 

 

 

3,7σ0

.

 

(4.3)

 

 

 

α 1e

σp

 

 

 

 

 

 

 

 

 

 

 

 

 

 

 

 

 

 

 

 

 

 

И

 

 

 

 

 

 

 

Площадь контактной поверхности трамбующей плиты с грунтом

равна S =πB2

4 для круглой плиты и

Д

 

S =

B2 для квадратной плиты.

 

 

А

 

 

 

б

 

 

 

 

 

и

 

 

 

 

 

 

 

 

Рис. 4.8. Расчетная схема гидротрамбовки:

 

1 – корпус;2– подвижныечасти;3 – сменная трамбующая плита;

 

С

 

4 – переходный кронштейн

 

 

70