Материал: 2296

Внимание! Если размещение файла нарушает Ваши авторские права, то обязательно сообщите нам

Рис. 19. Конструкция дренажа глубокого заложения: 1 – траншея; 2 – щебень крупный; 3 – асбестовая или керамическая труба с прорезями, обернутая нетканым водопроницаемым материалом; 4 – гидроизолирующая прослойка (рубероид, полиэтилен и т.д.); 5 – грунт засыпки (песок)

На обочинах устраиваются дренажи мелкого заложения. В этом случае дренажная труба укладывается в ровик вдоль кромки проезжей части для сбора воды из дренирующего слоя и осушения верхней части земляного полотна. Это может быть комбинированный прикромочный дренаж, комбинированный плоскостной дренаж или поперечные дренажи мелкого заложения (рис. 20, 21).

3

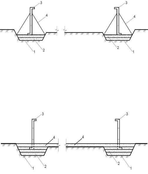
Рис. 20. Схема расположения поперечного дренажа мелкого заложения: 1– проезжая часть; 2 – обочина; 3 – поперечный дренаж мелкого заложения; 4 – откос земляного полотна

36

 

Рис. 21. Конструкция поперечного дренажа

 

мелкого заложения: h – глубина заложения

h

соответствует толщине дорожной одежды;

1 – крупномерный щебень; 2 – рубероид или

 

полиэтилен; 3 – грунт засыпки

2.5. Перестройка и удлинение водопропускных труб

В процессе реконструкции автомобильной дороги при увеличении ширины земляного полотна, увеличении высоты насыпи или уположении откосов возникает необходимость удлинения водопропускных труб. При этом возможны два варианта:

а) полная перестройка водопропускной трубы, которая производится

вслучае, если по результатам диагностики существующая труба находится

внеудовлетворительном эксплуатационном состоянии;

б) удлинение водопропускной трубы без перестройки существующей части. Производится в случае, если состояние существующей трубы по данным диагностики позволяет ожидать ее нормальную работу до новой реконструкции дороги при нормальном содержании и ремонте.

Перестройка или удлинение водопропускных труб должна выполняться в сухое время года для предотвращения затопления котлована или влияния воды, протекающей через трубу при производстве работ. В некоторых случаях при необходимости полной перестройки трубы, по которой протекает большой поток воды, принимается решение о строительстве новой трубы рядом с существующей. Это обеспечивает строительство новой трубы в «сухих» условиях, а пропуск потока воды по существующей. После окончания строительства новой трубы производится демонтаж существующей с пропуском потока воды по новой.

При выполнении работ по перестройке труб необходимо организовать удобное движение транзитного и строительного автотранспорта. Это достигается устройством временных объездов. При невозможности его строительства (подземные коммуникации, ценные сельскохозяйственные земли, болота и т.д.) движение автотранспорта организуется по одной из полос движения, при выполнении работ на другой части насыпи. В этом случае организация работ усложняется, но он часто встречается при перестройке труб.

Полная перестройка железобетонной трубы включает следующие основные операции, многие из которых аналогичны новому строительству водопропускной трубы:

1. Разбивочные геодезические работы.

37

2.Установка временных дорожных знаков и указателей для организации дорожного движения.

3.Планировка бульдозером строительной площадки.

На строительной площадке устанавливается бытовой вагончик, электростанция, компрессор, бетономешалка, туалет, емкость для цемента, складируются необходимые дорожно-строительные материалы (песок, щебень и т.д.), а также элементы новой трубы.

4.Разборка существующей дорожной одежды в пределах будущего котлована с использованием материала для строительства объездной дороги или транспортированием на базу. Для выполнения работ применяются кирковщики, бульдозеры, фронтальные погрузчики, дорожные фрезы (для асфальтобетонного покрытия), автокраны (сборные бетонные покрытия) и автосамосвалы.

5.Разработка грунта земляного полотна вокруг трубы до уровня подошвы фундамента или основания. Для безопасности и удобства работ при разборке старой и монтаже новой трубы котлован по подошве должен быть шире основания старой трубы с двух сторон на 3 м для возможности прохода дорожных машин.

Откос котлована должен быть не круче 1:1 для обеспечения безопасности работ. Если через трубу в процессе ее перестройки возможно прохождение воды, котлован уширяется для устройства временного обводного русла, ширина и глубина которого определяются расчетом.

Возможно устройство котлована с креплением откосов, что позволяет увеличивать их крутизну и уменьшить объем земляных работ.

Для выполнения работ применяются экскаваторы «обратная лопата»

ибульдозеры.

6.Демонтаж трубы. Для выполнения работ применяются пневматические или электрические отбойные молотки, автокраны, бульдозеры, автомобили для транспортировки к месту складирования элементов разобранной трубы. Если лекальные блоки и основание трубы (гравийнопесчаный или щебеночный слой) не имеют дефектов, они используются при строительстве новой трубы. При наличии разрушений (трещины, значительные обломы) лекальные блоки или часть из них удаляется. Материал основания перемещается за пределы котлована бульдозером. Возможно использование материала основания для укрепления временного водоотводного русла.

7.Планировка и уплотнение дна котлована (при удалении основания

илекальных блоков). Для выполнения работ в случае отсутствия при строительстве новой трубы, заглубленной под портальные стенки, используются бульдозеры или автогрейдеры, в стесненных условиях вручную. Уплотнение грунта в основании трубы производится пневмокатками или виброплитами в стесненных условиях.

38

8.Устройство основания под портальные стенки. Основание уст-

раивается послойно с уплотнением из песчано-гравийной или щебеночной смеси на толщину, предусмотренную проектом.

Для выполнения работ используются автосамосвалы для транспортирования материала для устройства основания с базы до места производства работ. Разравнивание и распределение материала основания производится вручную. Уплотнение материала основания производится ручными трамбующими виброплитами.

9.Монтаж портальных стенок.

Производится монтаж двух портальных стенок на подготовленное основание (рис. 22). Для выполнения работ используется автокран и монтажники конструкций.

Рис. 22. Монтаж портальных стенок: 1 – котлован; 2 – основание под портальные стенки; 3 – портальные стенки; 4 – укосины для удержания стенок в вертикальном положении

10. Устройство основания под тело трубы и оголовки.

Для выполнения работ используются автосамосвалы для транспортирования материала основания с базы до места производства работ. Разравнивание материала производится вручную. Уплотнение материала производится послойно с помощью ручных вибротрамбовок (рис. 23).

Рис. 23. Устройство основания под тело трубы и оголовки: 1 – котлован; 2 – послойное основание под тело трубы и оголовки; 3 – портальные стенки; 4 – основание под тело трубы

39

11. Установка лекальных блоков. Установка лекальных блоков производится с использованием автокрана. При установке лекальных блоков под раструбные трубы предусматриваются разрывы для плотной укладки труб на лекальные блоки (рис. 24).

Рис. 24. Установка лекальных блоков под раструбные трубы: 1 – котлован; 2 – послойное основание под тело трубы и оголовки; 3 – портальные стенки; 4 – основание под тело трубы; 5 – лекальные блоки; 6 – разрывы лекальных блоков; 7 – раструбные трубы

При установке стандартных колец в тело трубы (согласно проекту) разрывы при установке лекальных блоков не делаются.

Так как укладываемые на лекальные блоки звенья трубы повторяют профиль, по которому уложены лекальные блоки, отметки лекальных блоков должны быть проверены с помощью нивелира. Уровень лекальных блоков регулируется толщиной слоя цементного раствора.

12. Бетонирование русла входного и выходного оголовков.

Бетонирование русла входного и выходного оголовков выполняется после устройства основания из песчано-гравийной или щебеночной смеси толщиной, соответствующей проекту (рис. 25). Производится с использованием автосамосвалов для транспортирования материала основания, бетоновоза для транспортирования бетонной смеси (не используется в случае приготовления бетонной смеси на месте), виброплиты для уплотнения основания и бетонной смеси.

13. Монтаж тела трубы, входного и выходного оголовков.

Монтаж звеньев трубы и оголовков производится с применением автокрана и монтажников строительных конструкций.

14. Омоноличивание швов и гидроизоляция трубы.

Швы портальных стенок и открылков конопатятся и заполняются цементным раствором, с уплотнением металлической шуровкой. Внутренние швы в теле трубы заполняются паклей с последующей заделкой цементным раствором.

40