Пример. Произвести дефектовку естественного рельефа по кривизне (рис. 5.10).
Дано: Rmin =10 000 м; а = 40 м.
С |
|
|
|
|
|
|
|
|
|
и |
|
|
|
|
|
|
|||
Р с. 5.10. Исходные данные к дефектовке участка |
|
||||||||
с недопуст |
мой кривизной на плане в отметках |
|
|||||||
Рассч таем макс мально допустимое значение кривизны |
|||||||||
|
2 |
Н |
max |
|
a2 |
402 |
0,16 м. |
|
|
R |
|
||||||||
|
|
|
10 000 |
|
|
|
|||
|
|
|
|
|
min |
|
|
|
|
Сравнивая полученные разности превышений с максимально |
|||||||||
допустимой, можно сделать следующие выводы: |
|
|
|||||||
- кривизна в вершине В недопустима, так как |
|
||||||||
НВА+ НВС = 0,30 + 0,10= 0,40 м > 0,16 м; |
|
|
|||||||
|
|
|
|
|
Д |
||||
- кривизна в вершине С допустима, так как |
НВС – |
НСD = 0, 10 – |
|||||||
–0,05= 0,05бм < 0,16 м. А |
|
||||||||
Следующий этап проектирования рельефа – исправление участ- |
|||||||||
ков, дефектных по кривизне. Исправление дефектного по кривизне |
||
участка сводится к назначению таких проектных и рабочих отметок в |
||
|
И |
|
вершинах квадратов, при которых будет допустимой разность пре- |
||
вышений трех соседних вершин, расположенных в плане на одной |
||
прямой. |
|
|
Величина поправки рассчитывается по формуле |
|
|
|
Δy = hl + 2h2 + h3 = 2Нчерн – 2Нmах. |
(5.8) |
Подставляя численные значения в (5.8), получим |
|
|
Δy = 0,40 – 0,16 = 0,24 м.
При расчетах по (5.8) возможны три решения:
-принимая h1=h3= 0 – решение в выемке;
-hl = h2 = h3 – частный баланс;
-h2 =0 – решение в насыпи.
56
В отличие от двух предыдущих частных случаев условию (5.8) удовлетворяет множество решений. Действительно, величинам hl и h2 можно придавать бесконечное множество значений, при которых
сумма будет оставаться постоянной. |
|
|
|
||
С |
|
|
|
|
|
Для выбора однозначного решения необходимо учитывать ме- |
|||||
стные условия, в частности рабочие отметки hl и h3 |
увязывать с при- |
||||
легающ м рельефом учитывать получающиеся по сторонам квадра- |
|||||
тов проектные уклоны. |
|
|
h2 =0,12 |
|
|
При |
определяем |
м, тогда |
|||
решен |
в выемке из (5.8) |
||||
проектные отметки составят: |
|
|
|
||
НпрА=НА=14,90 м; |
НпрВ = Нв – |
h2=15,20 – |
0,12 = |
15,08 м; |
|
Нпр =Нс=15,10 м. |
НВА + |
НВС=0,18 – 0,02=0,16 м. |
|
|
|
Проверка: |
|
|
|||
Так какбАуклон участка ВС изменил направление, то рассчитаем снова НВС – НCD = 0,02 + 0,05 = 0,07 м < 0,16 м, значит дефектовка участка CD не тре уется.
Изложенные пр емы исправления кривизны поверхности применимы как для выпуклых, так и для вогнутых участков земной поверхности.
-не менее двух горизонталейД;
-не менее трех отметок точек плоскостиИ;
-хотя бы одна горизонталь и одна отметка точки, расположенной вне горизонтали.
В практике проектирования поверхности аэродромных покрытий используются все три способа задания положения плоскости в пространстве, а именно: горизонталями; отметками; горизонталями и отметками.
Рассмотрим характерные задачи на вычисление отметок и построение горизонталей поверхности покрытия, отличающиеся способом задания проектных плоскостей [6].
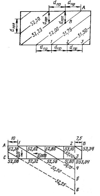
Задача 1. Положение участка поверхности искусственного покрытия задано двумя или более горизонталями (рис. 5.11). Заданы го-
57
ризонтали 52,50 и 52,25. Из условия задачи следует, что заложения dпр и dпоп, соответствующие продольному и поперечному уклонам плоскости, также известны. Тогда горизонталь 52,00 должна пройти через точки А и В, которые определяются так, как показано на рис. 5.11.
С |
|
Построение |
|
бА |
|
Р с. 5.11. |
горизонталей участка поверхности |
скусственных покрытий по двум горизонталям
Последующ е горизонтали строят аналогичным образом. Для построения достаточно наметить точки 1, 2 и т. д. и провести через них прямые, параллельные заданным горизонталям.
Задача 2. Положение участка проектной поверхности покрытия
в пространстве задано отметкой точки Н и двумя уклонами inp и inon |
|
(рис. 5.12). Требуется определить отметки угловых точек участка и |
|
построить горизонтали. |
Д |
|
|
|
И |
Рис. 5.12. Построение горизонталей и вычисление отметок поверхности покрытий по одной отметке и двум уклонам
58
Если задана отметка НА, то отметку любой точки (например НВ), которая лежит на прямой, совпадающей с направлением уклона inp, можно определить по формуле
С |
НВ |
= НА + lAB ·iпр . |
(5.9) |
Например, задано: |
отметка НА=52,38, |
продольный уклон |
|
inp=0,006, поперечный уклон inon=0,01; сечение горизонтали hгор=0,25 м
знаменатель масштаба μ=2000 (М 1:2000); lАВ=160 м; lАС=30 м.
Определ м отметки вершин заданного прямоугольника:
НВ=52,38 +16 · 0,006 =53,34; НС= 52,38 – 30 · 0,01 =52,08; HD=53,34 – 30 · 0,01 =53,04.
Для построен я горизонталей найдем местоположение точки 1, принадлежащей гор зонтали 52,50.
Расстоян е скомой точки 1 с отметкой 52,50 от точки с отмет-
кой НА=52,38 определ м |
соотношения Н1 = НА+ lA1·inp, |
|||||||||||||||
из |
|
|||||||||||||||
откуда lA1 (Hl |
HA)1000 (52,50 52,38)1000 10 мм. |
|||||||||||||||
|
|
|
|
|
|
|
|
|
iпр |
|
|
2 000 0,006 |
|
|||
Таким же путем определим расстояние точки 2, принадлежащей |
||||||||||||||||
горизонтали 53,25, от точки с отметкой НВ=53,34 |
||||||||||||||||
l |
В2 |
(HВ H2)1000 |
(53,34 53,25)1000 |
7,5 мм. |
||||||||||||
|
|
|
|
|
|
|
|
|
|
|
|
|
|
|||
|
|
|
|
|
бА |
|||||||||||
|
|
|
|
|
|
iпр |
|
|
|
2 000 0,006 |
|
|||||
Далее определим заложение горизонталей, соответствующее |
||||||||||||||||
поперечному уклону inon=0,01 |
|
|||||||||||||||
|
|
|
|
|
|
hгор 1000 |
|
0,25 1000Д |
||||||||
d |
поп |
|
|
|
|
|
|
|
|
12,5 мм. |
|
|||||
|
|
|
|
|
i |
|
2000 0,001 |
|
||||||||
|
|
|
|
|
|
поп |
|
|
|
|
|
|
|
|
||
Аналогично находим |
|
|
|
|
|
|||||||||||
|
|
|
|
|
|
hгор 1000 |
|
0,25 1000 |
|
|||||||
dпоп |
|
|
|
|
|
20,8 мм.И |
||||||||||
|
i |
|
2000 0,006 |
|||||||||||||
|
|
|
|
|
|
поп |
|
|
|
|
|
|
|
|
||
Проведем через точку 2 вспомогательный поперечник и отложим на нем вниз отрезки длиной 12,5 мм. Этим приемом условно расширяется поверхность покрытия в нужном нам направлении. Тогда через точку 3 должна проходить горизонталь 53,00, через точку 4 – горизонталь 52,75 и т. д.
59
В пределах участка поверхности покрытия отметка младшей горизонтали равна 52,25. Поэтому на поперечнике необходимо отложить вниз от точки 2 четыре отрезка. Соединив точки 1 и 5, имеющие одинаковые отметки, получим горизонталь 52,50.
Другие горизонтали будут параллельны горизонтали 52,50 и проходить через соответствующие точки, как показано на рис. 5.12.
Второй способ проведения проектных горизонталей – отложить от точки 1 вправо значение dnp и вниз – dnon (см. рис. 5.11) и через по-
лученную точку |
|
точку 1 провести проектную горизонталь 52,50. |
Все |
построения поверхности искусственных покрытий в |
|
С |
|
|
конечномзадачисчете сводятся к двум рассмотренным выше.
РассмотрбАм проектирование виража на участке поворота дву-
скатной маг стральной РД (рис. 5.13).
Пр мер. Заданный поперечный уклон РД inonРД = 0,01; ширина РД bРД = 21 м; уклон виража iB = 0,04; величина уширения РД на повороте Δ=3,5 м; рад ус закругления РД по ее внутренней кромке R = 40 м; проектная отметка поверхности покрытия НВ=НВ1=100,90.
Д И
Рис. 5.13. Вертикальная планировка симметричного виража:
1 – гребень; 2 – диагональ; 3 – линия отгона уширения; 4 – уширение РД
Примем α = 22,5°, при котором будет четыре переходных поверхности.
60