|
146 |
|
|
|
|
|
|
|
|
|
|
Касательное |
|
напряжение, |
|||
|
|
|
вызванное |
|
кручением, |
|||
|
|
|
определяется по формуле (10.23) |
|||||
|
|
|
из |
раздела |
«Сопротивление |
|||
|
|
|
материалов». |
|
|
|
||
|
|
|
|
|
M1 |
|
16M1 |
. |
|
|
|
|
|
|
|||
|
|
|
|
Wp |
|
d3 |
||
|
|
|
|
|
|
1 |
|
|
|
Эквивалентное |
напряжение по третьей |
||||||
теории прочности |
|
|
|
|
|
|||
э |
|
2 4 2 |
. |
|
|
(14.12) |
||
|
Для стандартных метрических резьб после |
|||||||
подстановки всех данных в формулу (14.12) получим
э 1,3 1,3 |
4F |
[ p]. |
(14.13) |
|
d2 |
||||
|
|
|
||
1 |
|
|
||
Если сопоставить формулы (14.2) и (14.13), то видно, что эквивалентное напряжение на 30 % больше нормального, а приближенный расчет, который не учитывает кручения, вносит погрешность 30 %:
э 100 0,3 100 30% ,
Рис.14.8
где – погрешность расчета.
Если формулу (14.13) решить относительно внутреннего диаметра резьбы d1, то получим
d |
1,3 4F |
1,3 |
F |
. |
(14.14) |
|
|
||||
1 |
[ p] |
[ p] |
|
||
|
|
||||
Теперь решим заново пп. 3 и 4 приведенного выше примера. 3. Определим внутренний диаметр резьбы болта по формуле (14.14)
d 1,3 |
F |
|
1,3 |
3164 |
6,7мм. |
|
|
|
|||||
1 |
[ p] |
|
120 |
|
||
|
|
|
||||
Сравнив с п. 3 примера, приведенного выше, определим погрешность
= 6,7 5,8 100 15% . 5,8
Таким образом, диаметр, подсчитанный без учета кручения, меньше на 15 %.
147
4. По таблицам выбираем резьбу М8 с шагом t = 1,25, внутренний диаметр которой
d1 = d - t = 8 - 1,25 = 6,75 > 6,7 мм.
В этом случае при данных исходных величинах выбран один и тот же диаметр болта М8. Но это не говорит о том, что нужно пренебрегать кручением. Например, получив в первом случае d1 = 4,9 мм, был бы выбран болт М6, у которого d1 = 6 - 1 = 5 мм > 4,9 мм. А во втором случае – на
14 % больше, т. е. d1= 1,14 · 4,9 = 5,6 мм. Для него нужно выбирать болт М8, у которого d1= 6,75 > 5,6 мм.
Для того чтобы правильно производить затяжку болтов резьбового соединения, нужно знать момент, который нужно приложить к гайке или болту, чтобы получить заданную силу затяжки F.
Вернемся к рис. 14.8. Момент, вращающий гайку или болт, должен преодолевать кроме момента М1 еще момент трения М2, предназначенный для преодоления силы трения между гайкой (или головкой винта) и поверхностью крышки или корпуса, которая равна fF, где f – коэффициент трения. Момент трения
М2 fF |
dcp |
, |
(14.15) |
|
2 |
||||
|
|
|
где dcp – средний диаметр, который равен среднему арифметическому между размером гайки или головки болта под ключ – S и наружным диаметром резьбы d:
|
dcp |
S d |
. |
|
|
|
(14.16) |
||
|
|
|
|
|
|
||||
|
|
2 |
|
|
|
|
|
|
|
Учитывая изложенное выше, определим момент затяжки болта |
|||||||||
М М1 |
М2 |
P |
d2 |
F f |
dcp |
. |
(14.17) |
||
|
2 |
||||||||
|
|
2 |
|
|
|
||||
14.3.3. Болтовое соединение нагружено поперечной силой
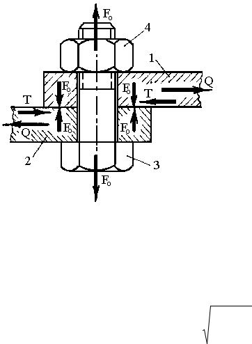
Листы 1 и 2 стянуты болтом 3 и гайкой 4 силой F0, которая растягивает болт, а болт с гайкой в свою очередь стягивают (сжимают) листы 1 и 2. Осевые силы F0 – это реакции листов, которые отжимают от себя головку болта и гайку, растягивая болт. Поверхностные силы F0 – это силы, которыми головка болта и гайка сжимают листы. Силы Q стремятся сдвинуть листы. Между болтом и отверстием в листах имеется зазор, поэтому болт не может, как заклейка, заполняющая отверстие без зазора, удерживать листы своим стержнем. Для того чтобы листы не сдвинулись,
нужна сила трения Т между листами, которая была бы больше Q. |
|
Т = f F0 Q, |
(14.18) |
где f – коэффициент трения. |
|
148
Из уравнения (14.18) определим необходимую силу затяжки болта
F0:
|
|
F0 Q / f . |
|
(14.19) |
||
|
|
Для надежности болт нужно |
||||
|
затянуть с запасом до силы F: |
|||||
|
F = 2F0= 2 Q / f . |
(14.20) |
||||
|
|
Уравнение |
(14.20) |
удов- |
||
|
летворяет |
неравенство (14. 19), |
||||
|
так как 2F0 |
всегда больше Q/f. |
||||
|
При |
затяжке |
болт |
будет |
||
|
испытывать |
совместное действие |
||||
|
растяжения и кручения, поэтому |
|||||
|
аналогично |
предыдущему |
параг- |
|||
|
рафу эквивалентное напряжение и |
|||||
|
условие |
|
прочности |
будут |
||
|
определяться определяться по |
|||||
Рис.14.9 |
формуле |
|
|
|
|
|
э 1,3 1,3 |
4F |
[ p], |
(14.21) |
|
d2 |
||||
|
|
|
||
1 |
|
|
||
из которой можно определить диаметр болта
d |
1,3 4F |
. |
(14.22) |
|
|||
1 |
[ ] |
|
|
|
p |
|
|
15. РЕМЕННЫЕ ПЕРЕДАЧИ
15.1. Общие положения
Ременная передача предназначена для передачи энергии от двигателя к другим передачам с преобразованием скорости и крутящего момента. Ременную передачу применяют в том случае, когда вал двигателя расположен на некотором расстоянии от вала следующей передачи. Ременная передача состоит (рис. 15.1) из ведущего шкива 1, ведомого шкива 2 и ремня 3. При движении ремень передает силу от ведущего шкива к ведомому за счет трения, возникающего между ремнем и шкивами. Ремень подбирают из гибкого материала, имеющего большой коэффициент трения с материалом шкивов. Наибольшее распространение получили резинотканевые ремни. Ремни выполняют в виде кольца, длина которого L стандартизирована. По форме поперечного сечения ремни
149
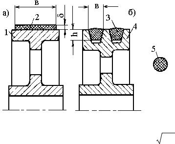
различают: плоские 2 (рис. 15.2), у которых ширина в значительно больше толщины , клиновые 3, круглые 5, поликлиновые, зубчатые.
Рис.15.1
Достоинства ременных передач: плавность и бесшумность работы, возможность передачи вращения на большие расстояния, простота конструкции и эксплуатации, гашение вибраций, предохранение от перегрузок и поломок за счет проскальзывания ремня, низкая стоимость передачи.
Недостатки ременных передач: большие габариты, непостоянство передаточного отношения из-за проскальзывания ремня, низкая долговечность ремня.
Мощность, передаваемая ременной передачей, не превышает 50 кВт. Скорость ремня v = 5...40 м/с.
Ременные передачи применяют в быстроходной ступени привода машины, где скорость велика, передаваемые крутящие моменты малы, а габариты передачи в результате этого невелики.
Наибольшее передаточное отношение ременной передачи u 7 – у передач с большим межосевым расстоянием , а обычно выбирают u 3.
Распространенной и простой является плоскоременная передача (рис. 15.2, а). Ее применяют при высоких скоростях (полиамидные ремни позволяют двигаться со скоростью v = 100 м/с) и больших расстояниях между валами.
Клиноременная передача (рис. 15.2, б) отличается от плоскоременной тем, что ремень 3 размещается в клиновой канавке шкива 4. Ременная передача передает силу через ремень, который натягивается и заклинивается в канавке, угол которой 40˚, на боковых поверхностях ремня вследствие сдавливания возникают большие силы трения, которые исключают проскальзывание и повышают тяговую способность ремня.
150
Тяговая способность клинового ремня в три раза больше, чем плоского. Поэтому в силовых приводах применяют клиноременную передачу.
Диаметры шкивов d1 и d2 определяют передаточное отношение между валами I и II (рис. 15.1)
u12 = d2 / d1 = 1 / 2 . (15.1)
Несмотря на стремление проектировщика уменьшать габариты передачи, диаметры шкивов не следует выбирать минимальные. Чем больше диаметры, тем больше скорость ремня, тем меньше его тяговая сила и выше КПД передачи. Для предварительного выбора диаметра меньшего (ведущего) шкива применяют эмпирическую формулу
Рис.15.2
d 47 3 M |
1 |
, |
(15.2) |
|
1 |
|
|
|
|
где d1 – диаметр ведущего шкива, мм; М1 – крутящий момент, Н·м. |
|
|||
Полученное значение d1 |
нужно округлить до ближайшего |
|||
стандартного. |
|
|
|
|
Диаметр большого шкива определяют по формуле |
|
|||
d2 = d1 · u12 , |
|
(15.3) |
||
а полученный результат округляют до стандартного из ряда стандартных чисел: 63, 71, 80, 90, 100, 112, 125, 140, 160, 180, 200, 224, 250, 280, 315, 355, 400, 450, 500, 560, 630, 710, 800, 900, 1000 мм.
Межосевое расстояние (см. рис. 15.1) ременной передачи определяется по формуле = с · d2,
где с – коэффициент, зависящий от передаточного отношения u12.
|
|
|
Значение коэффициента с (ГОСТ 1284-80) |
Таблица 15.1 |
|||||||
|
|
|
|
|
|||||||
|
|
|
|
|
|
|
|
|
|
|
|
u12 |
|
1 |
|
2 |
3 |
4 |
5 |
6 |
|
||
с |
|
1,5 |
|
1,2 |
1 |
0,95 |
0,9 |
0,85 |
|
||
По выбранному ориентировочному межосевому расстоянию и |
|||||||||||
диаметрам d1 |
и d2 |
определяют расчетную длину ремня по формуле |
|||||||||
|
|
|
|
|
L 2а w |
y |
, |
|
(15.4) |
||
|
|
|
|
|
|
|
|||||
а