141
вращения ключом и применяются для средних и больших деталей. Диаметр резьбы болтов от 6 до 50 мм.
Винты выполняют с круглой головкой со шлицем, которую вращают отверткой.
Винт состоит из стержня 1 с резьбовой частью 2, головки 4 и шлица 3 (рис. 14.3).
В зависимости от типа головки винты бывают с цилиндрической головкой (рис. 14.3, а), с полукруглой головкой (рис. 14.3, б) и с потайной головкой (рис. 14.3,
в).
Винты с |
шестигранной |
|
головкой |
называют болтами |
|
(рис. 14.2, а). Гайка – это |
||
деталь |
с |
резьбовым |
отверстием. По |
Рис.14.3 |
|
форме гайки бывают шестигранные (рис. 14.2, поз. 4), круглые, гайкибарашки и др. Наибольшее распространение получили шестигранные гайки.
Шпилькой называют цилиндрический стержень, у которого с двух концов нарезана резьба. Тот конец шпильки, который вворачивается в
корпус 1 (рис. 14.2, б), делают с тугой резьбой, чтобы при отворачивании гайки 4 шпилька 3 не выворачивалась из корпуса 1.
Шайба – это круглая деталь – кольцо, которую подкладывают под гайку, чтобы не задирать крышку или корпус. Зачастую шайбу используют для предотвращения самоотвинчивания гаек и винтов. На рис. 14.2, б изображена пружинная шайба 5. Ее действие основано на создании большого трения на опорных поверхностях гаек или головок болтов и поверхностью деталей, которые они прижимают.
Угол подъема резьбы винтовых соединений 3 , что обеспечивает самоторможение резьбового соединения. После затяжки резьбового соединения ни гайка, ни болт сами отвернуться не могут. При динамических и вибрационных нагрузках может произойти самоотвинчивание гаек и болтов. В этом случае применяют различные способы стопорения, один из которых – пружинная шайба.
Достоинства резьбовых соединений:
1.Простота конструкции соединения.
2.Удобство разборки и сборки соединения.
142
3.Высокая прочность соединения.
4.Широкий круг использования.
Недостаток – самоотвинчивание гаек и винтов от вибраций и ударных нагрузок.
Основным элементом винтовых соединений является резьба. Основными параметрами резьбы являются (рис. 14.4): d – наружный диаметр резьбы. Он равняется номинальному диаметру и используется для обозначения резьбы; d2
– средний диаметр резьбы; d1 – внутренний диаметр резьбы; t – шаг резьбы, расстояние между соседними гребнями резьбы; – угол профиля резьбы, угол
Рис. 14.4
между боковыми сторонами профиля; у метрической резьбы = 60 , у дюймовой – = 55 ; l – длина нарезанной части стержня болта.
Метрическая резьба с углом профиля = 60 обозначается буквой М и числами. Первое число обозначает наружный диаметр резьбы d, а второе – шаг резьбы t. Пример обозначения: М 16х2, М 12х1,75, М 6х1 и т. д.
Дюймовая резьба применяется для соединения труб, имеет = 55 . Шаг резьбы измеряется числом ниток на 1 дюйм. Например, трубная резьба труб 3/4 имеет внутренний диаметр трубы dу = 3/4 ; наружный диаметр резьбы d = 26,44 мм; шаг – 14 ниток на 1 .
14.3. Расчеты на прочность
Расчеты на прочность заклепочных и сварных соединений приведены в §9.1–9.5. Расчеты на прочность резьбовых соединений приводятся ниже. Все стандартные болты, винты, шпильки и гайки изготовляют равнопрочными на разрыв стержня по резьбе, на срез резьбы и на отрыв головки. Поэтому их рассчитывают по прочности нарезанной части стержня, которая является основным критерием работоспособности резьбового соединения.
14.3.1. Болт нагружен растягивающей силой
Дано: сила F = 30 кН; материал грузового крюка сталь Cm 3; допускаемое
143
напряжение на растяжение [ р] = 144 МПа = 144 Н/мм2.
Ре ш е н ие Опасным является сечение болта, которое
ослаблено резьбой. Расчетным диаметром является внутренний диаметр резьбы d1:
d1 = d - t , (14.1)
где d – наружный диаметр резьбы, мм; t – шаг резьбы, мм.
Расчет сводится к определению расчетного диаметра d1 из условия прочности резьбы на растяжение
= |
F |
|
4F |
[ з], |
(14.2) |
|
|
||||
|
S |
d21 |
|
||
откуда
d |
4F |
1,13 |
F |
. |
(14.3) |
|
|
||||
1 |
[ p] |
[ p] |
|
||
|
|
||||
Рис.14.5
Подставляя числовые значения из условия задачи, получим
d1 1,13 
30 103 16,3мм. 144
По таблицам подбираем резьбу М20 с шагом t = 2,5 мм, внутренний диаметр которой
d1 = d - t = 20 - 2,5 = 17,5 > 16,3 .
Расчет удовлетворяет условие прочности.
14.3.2. Болт нагружен силой затяжки
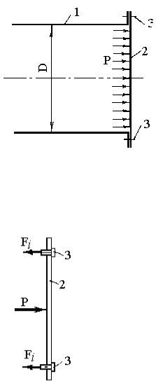
Такие резьбовые соединения применяются для крепления крышек сосудов, когда необходимо соблюдение герметичности. Пусть в цилиндрическом сосуде 1 удерживается давление р, которое давит на крышку 2, стремясь раскрыть ее. Крышка 2 удерживается болтовыми соединениями 3. Давление газа или жидкости под крышкой стремится раскрыть соединение. Это означает, что давление на крышку стремится растянуть болты как элементарные пружины в пределах упругости (закон Гука), чтобы отодвинуть крышку и образовать зазор между крышкой 2 и цилиндром 1, через который газ или жидкость будут вытекать наружу. Такое явление называют раскрытием или расгерметизацией стыка. Оно
144
недопустимо. Чтобы его предотвратить, нужно создать такую суммарную силу давления с внешней стороны крышки, которая бы превосходила силу давления газа или жидкости. На рис. 14.7 изображена крышка 2, на которую изнутри действует сила давления газа или жидкости
P p Skp р |
D |
2 |
, |
(14.4) |
|
|
|||
4 |
|
|
|
|
а снаружи на крышку действуют силы Fi |
||||
Рис.14.6 |
|
|
|
|
растянутых болтов. Условие отсутствия раскрытия стыка или расгерметизации
n |
|
Fi >Р , |
(14.5) |
1 |
|
или |
|
n |
|
Fi = k · Р , |
(14.6) |
1 |
|
где Fi – сила затяжки одного болта; n – число болтов, стягивающих крышку; Р – сила давления газа или жидкости внутри сосуда; k – коэффициент запаса герметичности или коэффициент затяжки: k = 1,3...2,5 для мягких прокладок; k = 2...3,5 для металлических плоских прокладок.
Рис.14.7
Так как болты выбирают одинакового диаметра, формулу (14.6) можно переписать в виде
n |
|
Fi n Fi kP. |
(14.7) |
1 |
|
Если обозначить силу затяжки на 1 болт F = Fi и решить уравнение (14.7) относительно F, то получим
F |
k |
P |
k |
D |
2 |
|
|
|
|
|
· р |
|
|
. |
(14.8) |
||
|
n |
|
n |
4 |
|
|
|
|
Рассмотрим пример. Пусть дано: давление сжатого воздуха в цилиндре р = 0,5 МПа = 0,5 Н/мм2; внутренний диаметр цилиндра D = 450 мм, число болтов n = 16, материал сталь Сm 3. Определить силу затяжки одного болта и его диаметр, если допускаемое напряжение
[ р] = (0,4...0,7) T . |
(14.9) |
145
Ре ш е н и е
1.Силу затяжки одного болта определим по формуле (14.8)
F |
k p D |
2 |
|
2 0,5 450 |
2 |
3164Н . |
4n |
|
4 16 |
|
|||
|
|
|
|
|
2.Определим допускаемое напряжение, которое находится по формуле (14.9). Меньшие допускаемые напряжения относятся к болтам диаметром d<18 мм, а также к соединениям с мягкими прокладками.
Предел текучести для стали Cm 3 T = 240 МПа. Коэффициент запаса выберем 0,5. Тогда допускаемое напряжение
[ р] = 0,5 T = 0,5·240 = 120 МПа .
3. Определим внутренний диаметр резьбы болта по формуле (14.3)
d 1,13 |
F |
|
1,13 |
3164 |
5,8мм . |
|
|
|
|||||
1 |
[ p] |
|
120 |
|
||
|
|
|
||||
4.По таблицам выбираем резьбу М8 с шагом t = 1,25 мм, внутренний диаметр которой
d1 = d - t = 8 - 1,25 = 6,75 > 5,8 мм .
Расчет удовлетворяет условию прочности.
Приведенный выше расчет является приближенным. Дело в том, что при затяжке болта стержень испытывает совместное действие растяжения и кручения. Кручение создают две силы: сила трения между витками резьбы (сила Т) и сила, предназначенная для преодоления подъема резьбы (угол ). На рис. 14.8, а показана развертка витка резьбы. Виток гайки представляет собой наклонную плоскость с углом подъема . По нему скользит виток винта. Сила F прижимает виток винта к витку гайки. На поверхности витка гайки возникает нормальная реакция R, которая создает силу трения Т = R · tg ; где – угол трения. Силу Р, необходимую для вращения винта или болта, найдем из прямоугольника, составленного силами F и P.
P = F · tg ( . |
(14.10) |
Чтобы вращать болт или гайку, необходимо преодолевать силы трения между витками резьбы и подъема по резьбе, которые в сумме равны
силе Р. К болту должен быть приложен момент |
|
|||
M1 |
P |
d2 |
, |
(14.11) |
|
||||
|
2 |
|
|
|
который скручивает стержень болта.
Таким образом, при затяжке стержень болта испытывает совместное действие растяжения и кручения.
Нормальное напряжение от осевой силы F определяется по формуле
(14.2)
4F
d12.