106
где [ '] – допускаемое напряжение на растяжение сварного шва.
Сварное соединение (рис.9.7, б) удобно в изготовлении, т.к. не требует подготовки кромок. Оно носит название соединения внахлестку. Сварные швы при этом называют валиковыми. Швы, которые расположены вдоль (параллельно) действия силы, называются фланговыми (обозначены цифрой 1), расположенные перпендикулярно действию силы называются лобовыми (обозначен цифрой 2).
Рис.9.7
Валиковые швы рассчитывают на прочность по срезу. Срез шва (рис.9.8) проходит по линии ав, поэтому расчетная ширина шва равна 0,7h, где h = t – высота шва, равная толщине листа (рис. 9.7, б).
Условие прочности сварного шва имеет вид
|
F |
|
F |
cp , |
(9.22) |
0,7hl |
|
||||
|
|
0,7tl |
|
||
где [ 'ср] – допускаемое напряжение на срез для сварного шва.
Рис.9.8
В соединении, изображенном на рис. 9.7, б, листы сварены 4-мя швами: 2-мя лобовыми и 2-мя фланговыми. Касательное напряжение среза всего сварного соединения определяется по формуле
|
107 |
|
|
|
F |
сp . |
(9.23) |
0,7t 2lл 2lф |
Допускаемое напряжение для материала сварного шва выбирают равным
cp 0,6 p , |
(9.24) |
где [ р] – допускаемое напряжение на растяжение для основного материала листов.
10.КРУЧЕНИЕ
10.1.Напряжения и деформации при кручении круглого вала
Рис.10.1
Если круглый вал вращать за торцы в разные стороны, то он будет скручиваться (рис.10.1). При этом продольная линия (образующая) АВ на цилиндрической поверхности вала поворачивается на угол max , а правый торец вала поворачивается относительно левого на угол .
Если взять поперечное сечение в средине вала с центром в точке О', то угол поворота сечения ' будет меньше, чем на правом торце. Чем ближе к точке А, тем угол будет еще меньше. На левом торце угол равен нулю. Если вал порезать мысленно, как колбасу, на узкие дольки, то его можно представить как систему жестких кружков, насаженных на общую ось, которые не меняют ни форму, ни размеров, а только поворачиваются один относительно другого. Таким образом, все поперечные сечения остаются плоскими, радиусы кружков прямыми, расстояние между сечениями постоянными.
Каждый тонкий кружок можно рассматривать как слой металла. Если слои металла сдвигаются друг относительно друга, то мы имеем деформацию сдвига.
108
Степень смещения слоев металла определяется углами: закручивания
– и сдвига – .
Угол закручивания характеризует величину поворота рассматриваемого сечения (тонкого кружка) относительно неподвижного сечения ОА (левого торца вала) и определяет абсолютную величину закручивания вала или его участка.
Отношение угла закручивания вала |
к его длине l называют |
относительным углом закручивания. |
|
l . |
(10.1) |
Относительный угол закручивания характеризует жесткость вала, чем меньше , тем вал более жесткий.
Угол сдвига образуется между первоначальным положением образующей АВ и после деформации – АВ'. Наибольший угол сдвига max образуется на поверхности вала, а по мере приближения к оси вала ОО1 он уменьшается до нуля. Это показывает, что сердцевина вала мало подвержена деформации, а наибольшую деформацию воспринимают внешние слои вала. На оси вала деформация равна нулю. В целях экономии металла валы делают полыми, т.к. вынутая сердцевина вала незначительно снижает его прочность, но значительно снижает его массу.
Выразим угол сдвига max на поверхности вала через угол закручивания на правом торце. Для обоих углов дуга ВВ' единая,
поэтому |
|
||
BB' = r = l max , |
(10.2) |
||
откуда |
|
||
max |
r |
. |
(10.3) |
|
|||
|
l |
|
|
Если рассмотреть цилиндр радиусом внутри вала, который изображен пунктирными линиями, то угол сдвига на поверхности этого внутреннего цилиндра и угол закручивания будут связаны соотношением
|
|
. |
(10.4) |
||
|
|
||||
|
l |
|
|||
Решив уравнение (10.3) относительно и подставив в уравнение |
|||||
(10.4), получим |
|
|
|
||
|
|
|
|||
|
|
|
|
max. |
(10.5) |
|
|
|
|||
|
|
r |
|
||
Формула (10.5) показывает, что угол сдвига металла прямо пропорционален радиусу . Чем ближе к оси вала, тем деформация кручения (сдвига) меньше.
109
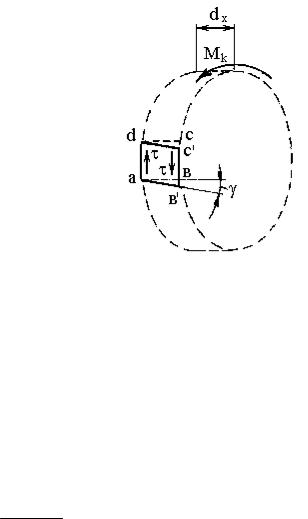
Рассмотрим тонкий кружок (диск) толщиной dx (рис.10.2). Правый его торец под действием крутящего момента Мк поворачивается относительно левого против часовой стрелки. На цилиндрической поверхности кружка выделим квадрат abcd. После деформации квадрат превращается в параллелограмм ab'c'd. Частицы
металла, принадлежащие правому торцу, смещаются относительно левого торца. При этом сторона квадрата bc смещается относительно стороны ad.
Сдвиг, при котором материал равномерно смещается в поперечном сечении и при котором возникают только касательные напряжения , называется чистым сдвигом. Величина bb' наибольшего смещения частиц материала по отношению к их первоначальному положению называется абсолютным сдвигом. Отношение абсолютного сдвига к длине участка ab, на котором происходит сдвиг, называется
относительным сдвигом.
bb |
tg = . |
(10.6) |
|
||
ab |
|
|
Угол – малая величина, поэтому тангенс угла сдвига равен углу сдвига.
Материал оказывает сопротивление. Способность упругих материалов оказывать сопротивление сдвигу характеризует модуль упругости второго рода или модуль сдвига G. Модуль сдвига находится в зависимости от модуля упругости первого рода E при растяжении
G E |
(10.7) |
2(1 ) , |
где = п/ – коэффициент поперечного сжатия (Пуассона). Для стали= 0,25. Подставив в формулу (10.7), получим
G = 0,4E. (10.8)
Модуль упругости при сдвиге меньше модуля упругости при растяжении, поэтому сдвигу материал оказывает меньшее сопротивление, чем растяжению.
Для деформации сдвига справедлив закон Гука: касательные напряжения пропорциональны относительному сдвигу в пределах упругих деформаций
= G . |
(10.9) |
Подставив значение из уравнения (10.5) в уравнение (10.4), получим
|
110 |
|
|
|
|
G max |
|
max |
|
, |
(10.10) |
|
|
||||
|
r |
r |
|
||
где max = G max – максимальные касательные напряжения на поверхности вала.
Формула (10.10) показывает, что касательные напряжения в поперечном сечении вала возрастают прямо пропорционально радиусу от центра до поверхности вала (рис.10.1, б).
Выберем произвольно на правом торце вала (рис.10.1, б) элементарную площадку dS на расстоянии от центра О1. Касательное напряжение на элементарной площадке dS равно . Элементарный крутящий момент относительно центра О1 равен
dM dS max |
|
dS |
max |
2dS . |
(10.11) |
|||||||
|
|
|||||||||||
|
|
|
|
|
r |
|
r |
|
||||
Если взять интеграл по площади круга S, то получим |
|
|||||||||||
M |
|
|
max |
2dS |
max |
|
S |
2dS . |
(10.12) |
|||
|
|
r |
||||||||||
Интеграл |
k |
S |
r |
|
|
|
|
|
||||
|
|
2dS Ip |
|
|
|
|
||||||
|
|
|
|
|
|
(10.13) |
||||||
|
|
|
s |
|
|
|
|
|
|
|
|
|
называется полярным моментом инерции.
Подставив значение Ip в формулу (10.12), получим
Mk max |
Ip |
, |
(10.14) |
|
r |
||||
|
|
|
где Ip
r Wp называется полярным моментом сопротивления. Подставив
значение Wр в формулу (10.14), получим |
|
||||||
max G max . |
(10.15) |
||||||
Это есть основное уравнение при расчете на прочность. |
|
||||||
Закон Гука для поверхностного слоя вала |
|
||||||
max = G max . |
(10.16) |
||||||
Подставив в уравнение (10.16) значение max из (10.15) |
и max из |
||||||
(10.3), получим |
|
|
|
|
|
|
|
|
Mk |
G |
r |
|
|
||
|
Wp |
l |
|
||||
|
|
|
|
|
|||
или |
|
Mkl |
|
|
|
|
|
|
|
. |
(10.17) |
||||
|
|
||||||
|
|
|
GIp |
|
|||
Это есть основное уравнение при расчете на жесткость при кручении.