Материал: 1760

Внимание! Если размещение файла нарушает Ваши авторские права, то обязательно сообщите нам

Рис.6.24. Пример настройки корректирующего звена

Рис.6.25. Переходный процесс замкнутой синтезируемой системы

Таким образом, с настройками регулятора kтп = 0,5 и Tтп = 0,035 с

111

САРЧ полностью удовлетворяет требуемым показателям устойчивости и качества. Можно попробовать уменьшить время переходного процесса, изменяя постоянную времени терристорного преобразователя, с помощью перемещения красного крестика (полюса регулятора) таким образом, чтобы наклон логарифмической фазовой характеристики уменьшался (увеличивалось значение частоты фазового сдвига). При этом увеличивается запас устойчивости по амплитуде, что позволяет увеличить коэффициент усиления регулятора.

Для примера, при настройках регулятора kтп = 0,85 и Tтп = 0,00145:

-запас устойчивости по амплитуде L = 20,1 дБ;

-запас устойчивости по фазе = 68,6 градусов;

-статическая ошибка ст = 0%;

-перерегулирование = 0,944%;

-время переходного процесса tp = 1,21 с.

Можно попробовать еще улучшить показатели качества, но следует не забывать, что настройки регулятора лежат в пределах: коэффициент усиления терристорного преобразователя – от 0,1 до 10, а постоянная времени терристорного преобразователя – от 0,001 до 0,01.

Необходимо заметить, что при любом изменении параметров корректирующего звена изменяется и график переходного процесса (если окно активно).

6.4.5. Синтез по возмущающему воздействию

Синтез по возмущающему воздействию будет заключаться в добавке в структурную схему синтезируемой системы управления по возмущению. Структурная схема САРЧ, с учетом возмущающего воздействия (изменения момента нагрузки на валу ДВС), но без управления по возмущению представлена на рис.6.26, где ОУ’ – передаточная функция объекта управления по возмущающему воздействию.

По графику переходного процесса по возмущающему воздействию (рис.6.27) определены следующие показатели влияния возмущения на частоту вращения ДВС:

-максимальный заброс частоты вращения ymax = -0,0377;

-статическая ошибка по возмущению вст = 0%;

-время переходного процесса по возмущению tвпп = 1,37 с.

Для определения изменения момента нагрузки можно воспользоваться магнитоупругим датчиком момента, передаточная функция которого при малых изменениях момента нагрузки может быть принята равной единице:

Wдм(s) = kдм = 1.

(6.13)

112

Рис.6.26. Структурная схема САРЧ без управления по возмущению

Согласно (6.11), передаточная функция управляющего устройства (регулятора) по возмущению

Wуу’(s) = 0,002951 s2 + 0,0227 s.

(6.14)

Рис.6.27. Переходный процесс по возмущающему воздействию без управления по возмущению

113

Таким образом, для того чтобы обеспечить независимость выходной величины от возмущения, необходимо ввести дополнительное управляющее воздействие в функции второй и первой производных (6.14). Структурная схема системы с таким управлением по возмущению представлена на рис.6.28.

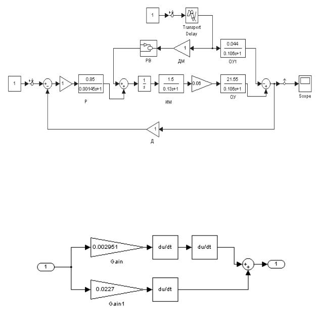
Рис.6.28. Структурная схема САРЧ с управлением по возмущению

Причем регулятор по возмущению РВ для удобства собран в блокеподмодели (рис.6.29).

Рис.6.29. Структурная схема регулятора по возмущению

Переходный процесс в системе по возмущающему воздействию с управлением по возмущению (рис.6.30) представляет собой прямую линию на нулевом уровне, что говорит о независимости выходного сигнала (частоты вращения вала ДВС) от возмущения (небольших изменений момента нагрузки).

114

Рис.6.30. Переходный процесс по возмущающему воздействию с управлением по возмущению

Небольшой скачок (ymax = −8,11 10-5) в начале переходного процесса обусловлен неточностью воспроизведения пакетом Simulink дифференцирующего звена.

Дифференцирование второго порядка (ускорение изменения сигнала) достаточно трудно осуществить физически, поэтому для упрощения можно отбросить член второго порядка, тогда управляющее устройство будет

иметь передаточную функцию:

 

Wуу’(s) = 0,0227 s.

(6.15)

Структурная схема регулятора по возмущению в этом случае будет выглядеть так, как это показано на рис.6.31, и переходный процесс по возмущающему воздействию, как это показано на рис.6.32.

Рис.6.31. Структурная схема регулятора по возмущению

115