Точка, в которой ЛФХ пересекает значение − (−180 ) спадая окончательно, называется частотой фазового сдвига и обозначается .
Для вышепринятых обозначений условия устойчивости по критерию Найквиста для ЛЧХ выглядят следующим образом:
1)если с < , то система является устойчивой;
2)если с > , то система является неустойчивой;
3)если с = , то система находится на границе устойчивости.
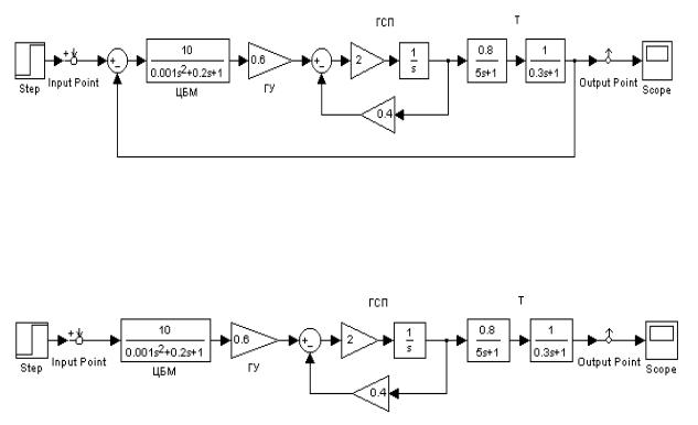
В пакете Simulink для определения устойчивости системы с наличием обратной связи (замкнутой системы) по критерию Найквиста необходимо разомкнуть цепь обратной связи, то есть превратить систему в разомкнутую. Для этого нужно удалить одну из соединительных линий в цепи обратной связи и переставить точку выхода (для пакета LTI Viewer). На рис.5.3 в качестве примера приведена структурная схема замкнутой системы стабилизации угловой скорости турбогенератора, а на рис.5.4 – структурная схема этой же системы, но в разомкнутом виде.
Рис.5.3. Пример замкнутой системы
Рис.5.4. Пример разомкнутой системы
В пакете Simulink устойчивость системы по критерию Найквиста определяется с использованием пакета расширения LTI Viewer с помощью нажатия правой кнопки на поле графика и выбора из контекстного меню:
1)для АФЧХ: Plot Type > Nyquist (рис.5.5);
2)для ЛЧХ: Plot Type > Bode (рис.5.6).
71
Рис.5.5. Определение устойчивости САУ по АФЧХ
Рис.5.6. Определение устойчивости САУ по ЛЧХ
Из рис.5.5 видно, что АФЧХ разомкнутой системы не охватывает точку с координатами (−1, j0) (обозначена на графике красным крестиком), следовательно, замкнутая система стабилизации угловой скорости турбогенератора, структурная схема которой приведена на рис.5.3 и 5.4, является ус-
72
тойчивой. Такой же вывод можно сделать из анализа ЛЧХ (см. рис.5.6), так как ЛАХ пересекает ось абсцисс раньше, чем ЛФХ, окончательно спадая, переходит за значение − (−180 ). Для данной системы c = 1,2 рад/с, а= 1,39 рад/с, то есть c < и, следовательно, система устойчива.
5.2. Определение запасов устойчивости систем автоматического управления
Вывод об устойчивости системы автоматического управления не является достаточным для определения устойчивости, поскольку существует вопрос: «Насколько устойчива система?». Для ответа на данный вопрос необходимо определить так называемые показатели запасов устойчивости.
В случае применения частотных критериев устойчивости Найквиста таких показателей два (рис.5.7):
1)запас устойчивости по амплитуде L, измеряемый в децибелах (дБ)
ипоказывающий, на сколько следует сдвинуть ЛАХ, чтобы система оказалась на границе устойчивости (см. рис.5.7, пунктирная линия);
2)запас устойчивости по фазе , измеряемый в градусах и показывающий, на сколько следует сдвинуть ЛФХ, чтобы система оказалась на границе устойчивости (см. рис.5.7, пунктирная линия).
Запасы устойчивости получаются следующим образом (рис.5.7):
1)из точки пересечения ЛФХ, при окончательном ее спаде, c линией,
проведенной на уровне −180 (частота фазового сдвига), поднимается перпендикуляр до пересечения с ЛАХ. Расстояние от этой точки до оси абсцисс даст искомое значение запаса устойчивости по амплитуде ( L, дБ);
2) из точки пересечения ЛАХ оси абсцисс (частота среза) опускается перпендикуляр до пересечения с ЛФХ, расстояние от этой точки до уровня −180 даст искомое значение запаса устойчивости по фазе ( , ).
В пакете Simulink численные значения запасов устойчивости системы автоматического управления можно определить по ЛЧХ или АФЧХ. Для получения ЛЧХ нужно в пакете LTI Viewer нажать правой кнопкой мыши на график и выбрать пункт меню Plot Type > Bode (см. рис.5.6).
Для определения запасов устойчивости необходимо щелкнуть правой кнопкой мыши на поле графика, и выбрать пункт контекстного меню Characteristics > Stability Margins (Min).
Для получения численных значений запасов устойчивости необходимо подвести курсор мыши к выделенным на графике точкам (рис.5.8 и 5.9) для системы, представленной на рис.5.4.
При этом в появляющихся окошках указаны численные значения запасов и частота в соответствующих точках логарифмических частотных характеристик:
73
L, дБ
0 |
|
|
с |
L, дБ |
lg , рад/с |
lg , рад/с 0 
,
-180 





- ,
Рис.5.7. Определение запасов устойчивости
Рис.5.8. Определение запасов устойчивости по ЛЧХ
74
Рис.5.9. Определение запасов устойчивости по АФЧХ
Gain margin (dB) – запас устойчивости по амплитуде, дБ;
Phase margin (deg) – запас устойчивости по фазе, градусы;
At frequency (rad/sec) – “на частоте”, рад/с.
Кроме того, делается вывод об устойчивости замкнутой системы Closed-loop stable? (Замкнутая система устойчива?), который может принимать два значения: Yes (Да) и No (Нет).
5.3.Показатели качества переходных процессов
Оценку правильности выбора структуры и параметров спроектированной линейной системы можно проводить сравнением вычисленных показателей качества и точности процессов регулирования, полученных аналитическими или автоматизированными методами с аналогичными данными технических условий. Если определенные показатели качества полностью удовлетворяют заданным, то улучшение показателей качества, как правило, приводит к снижению точности системы. Поэтому при проектировании приходится прибегать к компромиссным решениям, что намного увеличивает затраты труда проектировщика при исследовании системы.
Ранее, при построении характеристик систем автоматического управления аналитически, с целью сокращения затрат времени пользовались
75