Материал: 1740

Внимание! Если размещение файла нарушает Ваши авторские права, то обязательно сообщите нам

66

первой ступени модуляции:

1)включить на вход шифратора имитаторы датчиков (постоянное напряжение в третий и напряжение от звукового генератора в четвертый каналы). Убедиться в нормальном функционировании системы;

2)просмотреть на осциллографе форму напряжения в контрольных точках лабораторного макета, начиная с группового сигнала (гнездо Б7). Проследить за характером их изменения в зависимости от напряжений, имитирующих датчики.

3)измерить частоту тактового генератора, величину канального интервала, длительности синхронизирующих и информационных импульсов;

4)измерить, пользуясь осциллографом, величину шага квантования по времени t, то есть расстояние между соседними отсчетами конкретного канала в групповом сигнале (фактически, это длительность кадра). Найти частоту квантования

Fк=1/ t. Уточнить измеренное значение, наблюдая характерные особенности ВИМ-импульса четвертого канала и изменения частоты гармонического сигнала на выходе этого канала на частотах, кратных частоте квантования;

5)зарисовать форму напряжений в контрольных точках макета. Переключатель ПI-8 в приемнике поставить в положение, соответствующее четвертому каналу.

Осциллограммы должны быть сфазированы во времени. Осуществить внешнюю синхронизацию осциллографа с гнезда лабораторного макета СИНХР. ОСЦ.

4.4. Исследовать некоторые характеристики системы передачи:

1)снять модуляционную характеристику в третьем канале

t 1 (U дат ) ,

где t – временной интервал между опорным и информационным импульсами (измерять с помощью калибратора осциллографа),

Uдат – напряжение, снимаемое с переменного резистора и

имитирующее сигнал датчика;

2) на частоте f=100 Гц снять амплитудную характеристику системы шифратор-дешифратор в четвертом канале

67

U вых 2 (U вх ) .

(Входное напряжение измеряется вольтметром звукового генератора Г3-I8, выходное напряжение измеряется вольтметром автоматического измерителя нелинейных искажений С6-7. Измеряемое напряжение с выхода ФНЧ подается на клеммы прибора ВХОД. НЕСИММЕТРИЧНЫЙ с входным сопротивлением (0,1-1) МОм. Переключатель РОД РАБОТЫ прибора С6-7 в положении ВОЛЬТМЕТР. При снятии характеристики одновременно следить за формой выходного напряжения по осциллографу, не допуская перемодуляции);

3) снять характеристику верности (зависимость напряжения на выходе от частоты модулирующего сигнала) в четвертом ка-

нале U вых

3 ( f мод ) , при этом амплитуду модулирующего

напряжения

Uдат выбрать по амплитудной характеристике

тракта. Частоту входного напряжения изменять в пределах от 20 Гц до Fк, при этом следить по осциллографу за изменениями частоты гармонического сигнала на выходе этого канала. Определить частоту среза системы связи Fс на уровне –3 дБ;

4) снять характеристику нелинейных искажений при передаче сообщений от входа шифратора до выхода ФНЧ в зависи-

мости от частоты при постоянной амплитуде, для этого поста-

вить переключатель РОД РАБОТЫ прибора С6-7 в положение ИСКАЖЕНИЯ.

4.5 Отчет должен содержать:

1)функциональные схемы шифратора;

2)осциллограммы напряжений в характерных точках схе-

мы;

3)результаты измерений, графики;

4)необходимые выводы.

5.Контрольные вопросы

5.1.Составьте функциональную схему шифратора МСПИ с ВРК с ВИМ.

5.2.Перечислите возможные способы и схемы получения модулированных сигналов с ВИМ.

68

5.3. Нарисуйте спектр сигнала с ВИМ. Укажите его особенности.

5.4. Поясните работу шифратора с помощью временных диаграмм.

5.5. Составьте функциональную схему дешифратора МСПИ с ВРК с ВИМ поднесущих.

5.6. Поясните работу дешифратора с помощью временных диаграмм.

5.7. Сравните два способа передачи, используемые в МСПИ

сВИМ:

1)при наличии импульса только кадровой синхронизации;

2)при наличии опорных канальных импульсов.

5.8. Изложите принцип синхронизации приемного устройства при наличии опорных импульсов в каждом канале.

5.9. На основе анализа спектра сигнала о ВИМ поясните особенности его демодуляции.

5.10. Укажите причины переходных искажений в МСПИ с ВРК. Какой характер имеют эти искажения?

5.11. Как оценить демодуляционные искажения в системе? 5.12. При каких условиях частота сигнала на выходе демо-

дулятора не соответствует частоте входного гармонического сигнала?

 

69

 

 

Лабораторная

Исследование системы связи

работа 4

с дельта-модуляцией

1.Введение

В1948 году предложен новый способ цифровой передачи непрерывных (аналоговых) сигналов, получивший название “дель- та-модуляция” (ДМ). По сравнению с другими методами импульсной модуляции ДМ обладает рядом достоинств, которые проявляются в том случае, когда частота квантования передаваемого сигнала во времени намного превышает значение, определенное теоремой отсчетов.

Целью настоящей работы является ознакомление с принципом ДМ, особенностями построения систем связи с ДМ и исследование некоторых характеристик системы связи с дельта-модуляцией.

2.Принцип дельта-модуляции

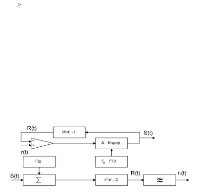
При ДМ передается не функция сообщения, а знак приращения функции сообщения. Принцип действия системы связи с применением ДМ можно пояснить функциональной схемой (рис. 4.1) и графиками напряжений в характерных точках, приведенными на рис. 4.2.

Модулирующее напряжение r(t) и напряжение с выхода интегрирующего каскада R(t) подаются на два входа вычитающего устройства, то есть на выходе последнего имеем их разность

ε(t) = R(t)–r(t).

Генератор импульсов вырабатывает периодическую последовательность коротких тактовых импульсов, задающих тактовые моменты времени. Период следования этих импульсов определяет шаг квантования по времени ∆t.

При подаче на вход кодирующего устройства k-ro короткого тактового импульса в момент t=kt оно вырабатывает прямоугольный импульс с фиксированными значениями амплитуды и длительности. Полярность этого импульса зависит только от знака разности ε(t) в тактовый момент времени. Если ε(kt) 0, т.е

70

r(kt) R(kt), то на выходе кодирующего устройства появляется положительный импульс. Если же ε(kt)>0, т.е. r(kt)<R(kt), то полярность импульса отрицательна.

Интегратор 1 выполняет математическую операцию интегрирования поступающих на его вход кодовых импульсов и работает по следующим правилам:

1)если с выхода кодирующего устройства на вход интегратора подается импульс положительной полярности, то напряжение на выходе интегратора скачком возрастает на величину ∆r и затем остается неизменным до прихода следующего импульса;

2)если с выхода кодирующего устройства на вход интегратора подается импульс отрицательной полярности, выходное напряжение интегратора скачком уменьшается на ∆r и затем

также остается неизменным до прихода следующего импульса. Рис. 4.1 – Функциональная схема системы связи с ДМ

Поскольку на выходе кодирующего устройства в тактовые моменты времени обязательно возникают импульсы той или иной полярности, напряжение на выходе интегратора обязательно возрастает либо уменьшается на одну ступеньку и вследствие этого приобретает ступенчатую форму, показанную на рис. 4.2а. Очевидно, что величина ∆r определяет шаг квантования по амплитуде при таком аналого-цифровом преобразовании сигнала.

Из приведенного анализа работы дельта-модулятора следует, что в вычитающем устройстве сравнивается истинное значение модулирующего напряжения r[kt] с квантованным