Материал: Земляные работы 2

Внимание! Если размещение файла нарушает Ваши авторские права, то обязательно сообщите нам

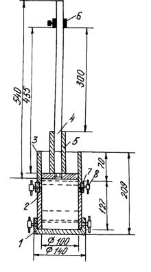
1000 см3, диаметром 100 мм и высотой 127 мм; верхнего стакана (насадки) 3; стойки с уплотнителем 4 (вес стойки с уплотнителем 1,4 кг); груза 5 весом 2,5 кг; ограничительного кольца 6 с винтом и зажимного кольца 7 с зажимными винтами 8.

Заполнение прибора рыхлым грунтом

 

 

 

 

производится в три приема равными пор-

 

 

циями и таким

образом, чтобы толщина

 

 

уплотненного слоя составляла 1,3 высоты

 

 

стакана. Повышение уплотненного грунта

 

 

над кромкой разъемного стакана после уп-

 

 

лотнения трех слоев не должно быть бо-

 

 

лее 1 см.

 

 

 

Уплотнение

грунта в приборе произ-

 

 

водится ударами груза весом 2,5 кг, свободно

 

 

падающего по штоку с высоты 30 см. При

 

 

этом каждый слой уплотняется числом уда-

 

 

ров, равным 1/3 от общего числа ударов, на-

 

 

значенного для уплотнения.

 

 

Общее число ударов для песка и супе-

 

 

сей – 75, для пылеватых супесей, суглинков

 

 

и глин –120.

 

 

 

После этого определяются влажность и

 

 

объемный вес грунта в стакане. Далее опера-

 

 

Рис. 4.1. Прибор стандартного

 

ции по уплотнению повторяются, причем

уплотнения

 

каждый раз увеличивается влажность грунта.

 

 

 

 

Влажность

грунта определяется по двум пробам, отбираемым в

 

бюксы из внутренней части уплотненного образца.

Испытание повторяется до тех пор, пока объемный вес влажного грунта не станет уменьшаться. После окончания опыта и определения влажности вычисляется объемный вес скелета грунта (плотность δ), г/см3:

δ = γ / (1+ 0,01∙ W),

где γ – объемный вес влажного грунта; W влажность, %.

На основании данных, полученных в результате испытаний, вычерчивается кривая зависимости плотности грунта от влажности (рис. 4.2). По этой кривой определяется максимальная стандартная плотность. Соответствующая этой плотности влажность является оптимальной влажностью грунта.

В дополнение к основному методу при текущем контроле качества уплотнения грунта можно ориентировочно определять максимальную стандартную плотность и оптимальную влажность расчетным методом, не прибегая для всех образцов к стандартному уплотнению их в приборе.

51

Рис. 4.2. Кривая стандартного уплотнения

В этом случае максимальную плотность δmax определяют по формуле, г/ см3:

δmax = ( – (1 – 0,01∙V)) / (1 + ∙ 0,01∙ Wo / в),

где – удельный вес минеральной части, г/ см3, который при такого рода расчетах может быть принят равным для супесей 2,68, для суглинков 2,7, для глин 2,74;

в – удельный вес воды;

V – объем содержащегося в грунте воздуха при оптимальной влажности, % (обычно принимают 3–5 %);

Wo – оптимальная влажность, %.

Ориентировочно значение оптимальной влажности Wo, %, может быть определено следующим образом:

по известному значению влажности на границе раскатывания Wр:

Wo = Wр a,

где a – поправка для глинистых грунтов, равная 1–2%;

по известному значению влажности на границе текучести Wт:

Wо = ∙ Wт ,

где – переходный коэффициент; ориентировочно для суглинистых чер-

ноземов = 0,65.

Уплотнение грунта до установленных норм приводит к тому, что плотность грунта в насыпи иногда оказывается выше плотности грунта в резервах или карьерах. В связи с этим в забое потребуется разработать объем грунта больший, чем в насыпи после уплотнения. Таким образом,

52

при установлении фактического рабочего объема земляных работ следует учитывать коэффициент относительного уплотнения грунта К1 , определяемый как отношение грунта, взятого из резерва (карьера, выемки), Vрез к объему этого же грунта, который он занял после уплотнения в теле насы-

пи, Vнас:

К1 = Vрез / Vнас

или

К1 = δнас / δрез,

где δнас – средняя плотность грунта в насыпи; δрез – средняя плотность грунта в карьере или разрезе.

Среднюю плотность грунта определяют на основании отбора проб грунта в насыпи и в резервах в процессе сооружения земляного полотна.

Для участка насыпи средняя плотность может быть определена по формуле:

i n

 

δнас = i n ,

i 1

 

где δi – фактически замеренные плотности грунта в насыпи, г см3; n – общее число замеров плотности.

Для определения средней плотности грунта в резерве (карьере) предварительно вычисляется средняя плотность грунтов в одном шурфе:

 

j n

 

j n

 

ш

 

 

hj

,

i

= jhj

 

 

j 1

 

j 1

 

где iш – средняя плотность i-го шурфа, г/см3;

j плотность отдельных слоев грунта i-го шурфа, г/см3;

hj толщины соответствующих слоев, см;

j = 1, 2,…, n – количество слоев грунта i-го шурфа.

Средняя плотность грунта в резерве (карьера) по данным нескольких шурфов:

 

i n

 

рез =

iш n ,

 

i 1

 

где n – число шурфов (обнажений), которые должны размещаться равномерно по всей площади разрабатываемого резерва (карьера).

Подставляя полученные средние значения δнас и рез в выражение для К1, получим коэффициент относительного уплотнения грунта и фактический объем земляных работ:

Vрез = К1Vнас.

53

Для ориентировочного определения рабочей кубатуры при заданном коэффициенте уплотнения коэффициент относительного уплотнения К1 может быть принят по табл. 4.1.

 

 

 

Т а б л и ц а 4.1

 

 

 

 

Заданный

Коэффициент относительного уплотнения

коэффициент

 

 

 

песков, супеси,

 

лѐссовидных

уплотнения

 

суглинков, глин

грунтов, лѐссов,

насыпи

пылеватых суглинков

 

черноземов

 

 

 

1,00

1,10

1,05

1,20

0,95

1,05

1,00

1,15

0,90

1,00

0,95

1,10

4.2. Производство работ по уплотнению насыпных земляных сооружений

Технология возведения железнодорожных насыпей должна обеспечивать прочность и устойчивость насыпей, а также необходимые их размеры, должна исключать неравномерные осадки и деформации основной площадки земляного полотна.

Как правило, насыпи отсыпаются послойно в такой последовательности: разбивка насыпи на уровне отсыпаемого слоя (через 10–20 м колышками отмечаются точки оси и бровок), выгрузка грунта, его разравнивание, уплотнение.

Как видно из предыдущего, наибольшая плотность достигается при уплотнении грунтов оптимальной влажности, поэтому грунты незначительной влажности перед уплотнением необходимо увлажнять.

Рекомендуемая влажность для грунтов в процентах составляет: глин – 23…28; тяжелых суглинков – 22…23; легких суглинков и супесей –

15…17; чернозема – 25…35; лѐссов – 19…21.

Искусственное уплотнение грунта повышает модуль деформации и сопротивление грунта сдвигу, благодаря чему повышается устойчивость откосов и насыпей. Уплотненный грунт становится более водонепроницаемым и водоустойчивым.

Послойное уплотнение грунта в насыпных сооружениях и обратных засыпках котлованов и траншей осуществляется укаткой – с помощью самоходных, полуприцепных и прицепных катков, транспортных средств (автомобилей и прицепов-землевозов), а также землеройно-транспортных машин (бульдозеров и скреперов); трамбованием – специальными трамбующими машинами, навесными трамбующими плитами, а также пневматическими и электрическими трамбовками (для стесненных условий); виб-

54

рованием – подвесными, прицепными и самоходными вибраторами; комбинированным способом – виброкатками-агрегатами.

Основные параметры, характеризующие процесс уплотнения, зависят от свойств грунтов, способов уплотнения и типов применяемых грунтоуплотняющих машин и оборудования.

Трамбующие машины и оборудование служат для уплотнения связных и глинистых грунтов, отсыпаемых слоями толщиной 1…1,5 м. Несвязные песчаные грунты, как правило, не трамбуют, так как вблизи от места удара грунт разуплотняется.

В строительстве используют трамбующие плиты на экскаваторах и трамбующие машины непрерывного действия.

Трамбующие плиты, навешиваемые на канат экскаватора-драглайна, применяют для уплотнения грунтов в местах с узким фронтом работ, недоступных для уплотняющих машин других типов.

Свободно падающую плиту массой 0,8…1,5 т из чугуна или железобетона круглой или квадратной формы в плане прикрепляют на трехчетырех цепях или канатных стропах к концу подъемного каната драглайна. Вспомогательный канат с легким оттяжным грузом служит для исключения вращения плиты и закручивания основного подъемного каната. При ручном управлении подъемами-сбросами плиты и поворотами стрелы в плане частота ударов не превышает 3…5 мин –1, что обуславливает невысокую производительность трамбующих плит на экскаваторах и ограниченное их применение.

Трамбующие машины непрерывного действия выпускаются в двух модификациях: ДУ-12Б и ДУ-12В – для агрегатирования с гусеничными тракторами Т-100М и Т-130.

Рабочим органом машины служат две плиты, подвешенные рядом на подъемных канатах сзади трактора. Плиты поочередно поднимаются канатами и свободно падают на поверхность грунта, осуществляя его трамбование на полосе, равной по ширине захвату обеих плит.

Во время работы трактор движется с замедленной ходоуменьшителем скоростью, которая выбирается соответственно необходимому числу ударов плит по одному месту. При транспортных передвижениях машины плиты поднимаются в верхнее положение, где удерживаются крюками. При работе крюки переводят в нерабочее положение с помощью механизма, управляемого из кабины водителя.

Глубина уплотняющего воздействия, определяющая толщину отсыпаемого слоя, зависит от массы катка, типа его рабочего органа и числа проходов по одному следу.

Область применения катков по разновидностям грунтов определяется типом рабочего органа. По типу рабочего органа катки статистического действия разделяют на катки с гладкими кулачковыми, ребристыми, ре-

55