Материал: Земляные работы 2

Внимание! Если размещение файла нарушает Ваши авторские права, то обязательно сообщите нам
tгод

6. РАСЧЕТ ТЕХНИКО-ЭКОНОМИЧЕСКИХ ПОКАЗАТЕЛЕЙ

Основными технико-экономическими показателями технологий производства земляных работ при возведении железнодорожного земляного полотна являются:

срок производства работ на участке, смен; производительность строительных процессов, м3/смена; единичная себестоимость, руб./м3; единичная трудоемкость (профильного объема), чел.-ч/100 м3;

единичная машиноемкость (профильного объема), машино-ч/100 м3.

Срок производства работ на участке Тсм определяется календарным графиком работ.

При нахождении производительности строительного процесса Ппр

следует учитывать все связи и все комплекты, которые работают на данном массиве. (Например, выемки разрабатываются сначала скреперным комплектом в кавальер, а затем – экскаваторным комплектом в насыпь, либо насыпь отсыпается из трех различных поставщиков экскаваторным комплектом.) С учетом сказанного производительность строительного процесса по возведению данного массива можно найти как средневзвешенную производительность комплектов, работающих на всех связях массива:

 

n

 

n

Ппр

Пij

Vij

Vij ,

 

1

 

1

или, подставив выражение для Пij,

 

 

 

 

 

П

 

n

 

/ t

 

n

 

 

V

 

V

 

пр

1

ij

ij

1

ij .

Здесь Vij – объем грунта, отводимый (доставляемый) по связи ij; tij – срок доставки грунта по связи ij;

n – число связей по возведению массива, полученное в результате решения задачи распределения земляных масс.

Для механизированных земляных работ себестоимость работы одной машины можно найти так:

С = 1,08 ∙ (Е + (Эгод tпл) / tгод + Эсм tпл) + 1,5∙Зр,

где С – себестоимость строительного процесса, руб.;

tпл – плановая расчетная продолжительность работы машины в строительном процессе;

– нормативная продолжительность работы машины, занятой в строительном процессе, в течение года [6, прил. 1];

61

Е – входящие в стоимость машино-смены единовременные затраты, связанные с перебазированием, монтажом и демонтажом машины на объекте, руб. [6, прил. 1];

Эгод – входящие в стоимость машино-смены эксплуатационные годовые затраты, руб. [6, прил. 1];

Зр – заработная плата рабочих, занятых в технологическом процессе (без зарплаты рабочих, учтенной в стоимости машино-смен), руб.;

1,08 и 1,5 – коэффициенты, учитывающие накладные расходы соответственно на механизированные и ручные работы.

Как правило, при возведении железнодорожного земляного полотна величина Зр значительно меньше себестоимости механизированных работ, поэтому в расчетах без больших погрешностей может быть опущена. С другой стороны, процесс возведения насыпей и устройства выемок осуществляется комплектами машин.

С учетом сказанного можно значение себестоимости механизированных работ комплекта выразить так:

n

C 1,08 Ei Эгодi tплi / tгодi Эсмi tплi .

1

(Здесь обозначения те же, что и в предыдущих формулах. Под индексом i подразумеваются значения для какой-то одной машины; n – число машин в комплекте.)

Таким образом, n машин в комплекте за время Тпл отсыпают и уплотняют или разрабатывают какой-то объем грунта V.

В этом случае единичная себестоимость грунта (себестоимость разработки и перемещения или планировки и уплотнения, или др. одного кубометра грунта) может быть определена как, руб./м3:

C 1,08 Ei Эгодi tплi / tгодi Эсмi tплi / Vi .

Затраты труда, чел.-ч, на 1 м3 грунта Tp1 при осуществлении технологии, предусмотренной технологической картой, могут быть найдены как

Tp1 nмitплi nрitплi Vi ,

здесь nмi и npi – количество рабочих, занятых в строительном процессе, соответственно занятых управлением машин и на ручных работах.

Единичная машиноемкость может быть найдена из выражения, ма- шино-ч/100 м3:

M1 Nмitплi Vi ,

где Nмi – число машин, занятых в i-м строительном процессе; Vi – соответствующий i-му процессу объем грунта, сотни м3.

62

7. КАРТА ОПЕРАЦИОННОГО КОНТРОЛЯ КАЧЕСТВА РАБОТ ПО УСТРОЙСТВУ ВЫЕМОК И НАСЫПЕЙ

Карты операционного контроля качества работ включают указания о допусках при сооружении земляного полотна, содержании и структуре операционного контроля, а также возможные дополнительные требования, предусматриваемые строительными нормами [3], [5].

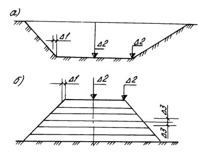
7.1. Основные допуски при разработке выемки и отсыпке насыпи

 

Возможные отклонения от проектных размеров приведены

в

табл. 7.1.

 

 

 

 

Т а б л и ц а

7.1

 

 

 

 

Контролируемые параметры

Предельные отклонения

п/п

 

 

 

1

Ширина земляного полотна

1 = +15 см

 

2

Отметки по оси и бровкам земляного полотна

2 = +5 см

 

3

Толщина отсыпаемого слоя h

3 = 0,15h

 

4

Плотность грунта в насыпи по абсолютной величине

0,04 г/см3

 

Схемы поперечного сечения выемки и насыпи с указанием предельных отклонений представлены на рис. 7.1.

Рис. 7.1. Схемы поперечного сечения выемки (а) и насыпи (б)

Примечания к карте по данному виду работ

1.Увеличение крутизны откосов выемки и насыпи не допускаются.

2.Объем недобора грунта на откосах выемки не должен превышать

8–10%.

63

3.Недобор грунта до проектной отметки в основании выемки должен быть равным 0,2 м с учетом высоты сливной призмы и допуска на отклонение.

4.Уплотнение до нормируемой плотности грунтов насыпи и в необходимых случаях – под основной площадкой выемки – должно производиться согласно требованиям строительных норм [5, прил. 2].

5.При возведении насыпи следует предусматривать запас на осадку

впроцентах от проектной высоты насыпи для грунтов:

глинистых переувлажненных – 2–3; скальных и крупнообломочных при послойном возведении с применением уплотняющих машин – 3;

песчаных и глинистых при коэффициенте уплотнения К = 0,95 – 0,5;

при К = 0,90 – 1–2,5.

6. При возведении насыпи из неоднородных грунтов должны соблюдаться следующие условия:

поверхность слоев из менее дренирующих грунтов, располагаемых под слоями из более дренирующих, должна иметь уклон в пределах 0,04–0,1 от оси насыпи к откосам; поверхность слоев из более дренирующих грунтов, располагаемых

под слоями менее дренирующих грунтов, устраивается горизонтальной.

7.2. Содержание и структура операционного контроля качества

 

 

Основные операции, подлежащие контролю

 

 

Разработка

 

 

Структура

выемки

Отсыпка грунта

Уплотнение насы-

п/п

контроля

с погрузкой

в насыпь и его раз-

пи

 

 

грунта

равнивание

 

 

 

 

 

на автосамосвалы

 

 

1

2

3

4

5

1

Состав контроля

Крутизна откосов,

Толщина слоя, пра-

Плотность грунта,

 

 

величина

вильность разме-

число проходов

 

 

недобора

щения разнородных

уплотняющих

 

 

в основании

грунтов в теле

средств, степень

 

 

выемки и на

насыпи, равномер-

уплотнения

 

 

откосах

ность отсыпки сло-

верхней части

 

 

 

ев по всей ширине

насыпи

 

 

 

насыпи, запас

 

 

 

 

на осадку насыпи,

 

 

 

 

крутизна откосов

 

2

Метод и средства

Измерительный,

Измерительный,

Оборудование

 

контроля

инвентарные

визуальный, инвен-

грунтовой

 

 

откосники,

тарные откосники,

лаборатории

 

 

нивелир,

уклономер, метр

мехколонны

 

 

метр стальной

стальной

 

64

 

 

 

 

 

 

 

Продолжение

 

 

 

 

 

 

 

 

1

2

3

 

4

 

5

3

Режим и объем

Продольное

 

 

 

 

Количество

 

контроля

нивелирование,

 

 

 

 

отбираемых проб –

 

 

промеры через

 

То же

 

одна на каждые

 

 

50 м, откосники

 

 

300 м3 грунта

 

 

устанавливаются

 

 

 

 

 

 

 

через 25–50 м

 

 

 

 

 

4

Лицо,

 

 

 

 

 

Мастер, лаборант

 

контролирующее

Мастер

 

Мастер

 

мехколонны

 

операцию

 

 

 

 

 

 

5

Лицо, ответст-

 

 

 

 

 

 

 

венное за органи-

Главный инженер мехколонны

 

зацию и осущест-

 

 

 

 

 

 

 

 

вление контроля

 

 

 

 

 

 

6

Привлекаемые

 

 

 

 

Грунтовая лаборатория

 

для контроля

Геодезическая группа

 

 

мехколонны

 

службы

 

 

 

 

 

 

7

Где регистриру-

 

 

 

Журнал контроля качества

 

ются результаты

Общий журнал работ

 

 

уплотнения насыпи

 

контроля

 

 

 

 

 

 

Библиографический список

1.Технология железнодорожного строительства / Э.С.Спиридонов,

А.М.Призмазонов, А.Ф.Аккуратов, Т.В.Шепитько. – М., 2002. – 631 с.

2.Проектирование производства земляных работ. Ч. 1. Распределение

земляных масс. Способы разработки грунтов: Метод. указания / Сост. Ю.А. Верженский, А.И. Кистанов. – СПб.: ПГУПС, 2000. – 51 с.

3.Пособие по технологии сооружения земляного полотна железных дорог

(в развитие СНиП 3.06.02-86). – М., 1987.

4.ЕНиР. Сборник Е-2. Земляные работы. Вып. 1. Механизированные и ручные земляные работы. – М., 1989. – 224 с.

5.Строительно-технические нормы СТН Ц-01-95. Железные дороги

1520 мм. / МПС РФ. – М., 1995. – С.19–26.

6.Канторер С.Е. Методы обоснования эффективности применения машин

встроительстве. – М., 1969. – 293 с.

65