Материал: Рулевое управление автомобиля КамАЗ-5311

Внимание! Если размещение файла нарушает Ваши авторские права, то обязательно сообщите нам

Рис. 11 Съёмник рулевого колеса:

1-винт; 2-захват; 3-наконечник.

Для проверки, регулирования и ремонта предохранительного клапана рулевого механизма при отказе или нестабильной работе:

слейте масло из системы гидроусилителя рулевого управления;

сняв пломбу и расшплинтовав пробку гнезда предохранительного клапана, промойте ветошью, смоченной керосином или дизельным топливом, бобышку корпуса клапана управления гидроусилителем, в которой размещен предохранительный клапан;

отверните пробку гнезда предохранительного клапана и, вынув неисправный клапан, закройте отверстие в корпусе клапана гидроусилителя чистой бумагой или салфеткой;

промойте клапан керосином и проверьте отсутствие забоин и посторонних частиц на его корпусе, посадочных кромках игольчатого клапана, на седле и на внутренних поверхностях отверстия в корпусе клапана управления. Посторонние частицы удалите. Проверьте также целостность резинового уплотнительного кольца и пружины клапана;

если внешним осмотром клапана неисправность выявить не удается, проверьте предохранительный клапан (эту проверку можно выполнять только в специализированных мастерских, приспособленных для работ с гидроаппаратурой) в специальном приспособлении, позволяющем подвести масло под давлением к входному отверстию предохранительного клапана, таком, как, например, нагрузочно-измерительный стенд МТ-60 производства "STOLECZNE ZAKLADY BYDOWY MASZYN I KI” (Польша).

При давлении масла до 6377 кПа (65 кгс/см2) утечки из-под предохранительного клапана недопустимы. Если утечки имеются, клапан осторожно разберите и продуйте детали струей сжатого воздуха. Клапан должен открываться полностью при давлении 7357,5.7848 кПа (75.80 кгс/см2).

При отсутствии специального приспособления допускается проверку правильности регулирования предохранительного клапана проводить на автомобиле.

Клапан отрегулируйте вращением резьбовой пробки. После регулирования резьбовую пробку законтрите. Зашплинтуйте контргайку проволокой и поставьте пломбу.

Для облегчения сборки и во избежание защемления уплотнительного кольца посадочное место в отверстии корпуса клапана управления и само кольцо смажьте смазкой; промойте и заправьте систему.

Для снятия рулевого механизма: наклоните кабину в первое положение (42°); расшплинтовав и отвернув гайки, выньте стяжные болты сошки 9 или отогнув усики стопорной шайбы, отверните гайку верхней головки сошки; съемником снимите сошку, вворачивая винт 3 (рис.12) в захват 1 съемника и упираясь наконечником 2 в торец вала сошки (выколачивание сошки может вызвать поломку деталей); выверните магнитную пробку и слейте масло из картера рулевого механизма, для более полного слива поверните рулевое колесо два-три раза из одного крайнего положения в другое; отсоедините трубопроводы высокого и низкого давления от рулевого механизма и слейте оставшееся в насосе масло; отсоедините карданный вал рулевого управления от рулевого механизма, дли этого выньте шплинт, отверните гайку клина и выбейте клин; выверните болты, крепящие картер рулевого механизма к кронштейну передней рессоры, и снимите рулевой механизм; очистите и промойте наружную поверхность рулевого механизма; слейте остатки масла, перевернув рулевой механизм клапаном вниз и поворачивая вал ведущей шестерни углового редуктора два-три раза из одного крайнего положения в другое.

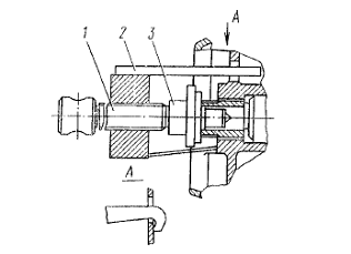
Рис. 12 Съемник сошки руля:

1 - захват; 2 - наконечник; 3 - винт

При установке рулевого механизма на автомобиль:

установите механизм на передний кронштейн левой передней рессоры и закрепите его болтами с моментом затяжки 275.314 Н. м (28.32 кгс. м);

подсоедините нагнетательный и сливной трубопроводы к клапану управления гидроусилителем;

присоедините карданный вал рулевого управления к рулевому механизму, предварительно совместив отверстие в вилке кардана и лыску под клин на вале ведущей шестерни, забейте клин, заверните и зашплинтуйте гайку с моментом затяжки гайки крепления клина 13,7.16,7 Н. м (1,4.1,7 кгс. м);

залейте масло и прокачайте систему гидроусилителя (см. раздел "Для СМЕНЫ масла");

предварительно разжав клином прорезь верхней головки сошки, наденьте сошку рулевого управления на вал рулевого механизма, вставьте стяжные болты, наверните на болты гайки, затяните их и зашплинтуйте с моментом затяжки 177.196 Н. м (18.20 кгс. м). Гайки болтов должны быть расположены с противоположных сторон головки сошки;

проверьте герметичность соединений и шлангов гидросистемы рулевого управления. Подтекание масла из соединений не допускайте.

Разборку и проверку рулевого механизма проводите в следующем порядке:

1. Вывернув болты крепления, снимите боковую крышку вместе с валом сошки. При извлечении вала сошки предварительно очистите его шлицевой конец.

. Проверьте осевое перемещение регулировочного винта в вале сошки. Если перемещение превышает 0,15 мм, отрегулируйте осевой зазор путем подбора регулировочной шайбы. Регулировочный винт должен иметь осевое перемещение относительно вала сошки 0,02.0,08 мм и вращаться при этом плавно, без заеданий. Стопорное кольцо должно полностью входить в канавку вала сошки. Это необходимо для надежного соединения деталей данного узла.

При необходимости замените уплотнительное кольцо регулировочного винта, применяя оправку. После сборки с боковой крышкой вал сошки должен свободно проворачиваться от руки, а регулировочный винт оставаться неподвижным (проверять без контргайки).

. Вывернув болты крепления, снимите переднюю крышку. При всех последующих операциях разборки и сборки помните, что выворачивание винта рулевого механизма из шариковой гайки более чем на два оборота от среднего положения может привести к выпаданию шариков и заклиниванию винта.

. Отверните гайки крепления корпуса клапана управления гидроусилителем и осторожно выдвиньте корпус вперед настолько, чтобы его можно было провернуть относительно винта, не касаясь шпилек корпуса углового редуктора.

. Проверьте затяжку гайки упорных подшипников и плавность вращения корпуса клапана управления относительно винта. Момент, необходимый для проворачивания корпуса клапана управления, должен быть равен 98,1.122,6 Нем (10.12,5 кгссм) (в ходе эксплуатации допускается падение момента вращения до 34,3 Нем (3,5 кгссм). При несоответствии момента указанной величине отрегулируйте затяжку гайки упорных подшипников.

Если вращение корпуса клапана не плавное (сопротивление вращению переменно), замените подшипники. Для регулировки затяжки или замены подшипников необходимо отжать буртик гайки, вдавленный в паз винта, и отвернуть гайку, удерживая от проворота ведущую шестерню углового редуктора

При снятии корпуса клапана управления следите, чтобы золотник и реактивные плунжеры не выпадали, так как при заводской сборке каждый из них индивидуально подобран к своему отверстию.

Не допускайте смешивания колец упорных подшипников, сохраните их комплектность.

. Проверьте рукой плавность перемещений реактивных плунжеров и золотника в корпусе клапана управления гидроусилителем. Если ощущаются заедания, изменение усилия, необходимого для перемещения упомянутых деталей, поочередно выньте заедающие детали. Устраните причину заедания, промойте и установите их на место.

. Проверьте герметичность обратного клапана, для чего залейте в его отверстие масло. Утечка масла допустима только в виде отдельных капель.

. Вывернув болты крепления и отвернув две гайки, снимите угловой редуктор вместе с винтом и поршнем-рейкой.

. Выньте щипцами стопорное кольцо 3 и осторожно снимите с винта угловой редуктор.

. Проверьте, нет ли осевого перемещения шариковой гайки относительно поршня-рейки. При необходимости подтяните или замените два установочных винта и раскерните их.

. Проверьте посадку шариковой гайки на средней части винтовой канавки винта. Гайка должна вращаться на винте без заеданий, а осевой люфт ее относительно винта не должен превышать 0,3 mm.

Если вращение винта в шариковой гайке не плавное, при условии, что осевой люфт не превышает 0,3 mm, замените комплект шариков.

Для замены комплекта шариков предварительно выполните следующее:

специальным ключом с достаточно большим плечом вывернуть установочные винты шариковой гайки;

вынуть из поршня-рейки шариковую гайку с винтом, придерживая от выпадения желобки и шарики;

вынуть желобки, осмотреть их и, если язычки повреждены, заменить;

затем, поворачивая винт относительно гайки в ту или другую сторону, удалить шарики и положить их в отдельную коробку.

Не допускается установка шариков, у которых разность размеров по диаметру более 0,002 мм. При несоблюдении указанного требования может произойти разрушение шариков и заклинивание рулевого механизма.

Дорожки качения на винте и гайке не должны иметь повреждений. Если дорожки качения повреждены (имеют вмятины, заусенцы и т.п.), замените весь комплект "винт - шариковая гайка - шарики".

. Осмотрите рабочие поверхности гидроусилителя. Если есть отдельные задиры на зеркале цилиндра, удалите их шабером. Отдельные продольные риски и царапины на зеркале цилиндра (без заусенцев) не являются браковочным признаком.

. Проверьте регулировку бокового зазора между зубьями шестерен углового редуктора. Боковой зазор между любыми парами зубьев должен находиться в пределах 0,02.0,07 мм, а момент вращения ведущей шестерни в угловом редукторе не должен превышать 49,1 Нсм (5 кгсюм).

Регулирование бокового зазора в зубьях шестерен редуктора производится перемещением узла ведущей шестерни путем подбора пакета прокладок под фланцем корпуса ведущей шестерни. При этом должно быть установлено не менее трех прокладок толщиной 0,05 тт.

При правильном зацеплении конических шестерен отпечаток пятна контакта должен иметь эллиптическую форму и располагаться ближе к внутренней узкой части зуба. Выход пятна контакта на кромки зуба недопустим.

В случае разборки углового редуктора не нарушайте комплектность корпуса углового редуктора и пары конических шестерен.

Сборку механизма рулевого управления производите в условиях, обеспечивающих чистоту, в порядке, обратном разборке, в соответствии со следующими указаниями:

. Все детали разобранного механизма промойте и просушите, внутренние каналы и отверстия после промывки продуйте сухим сжатым воздухом. Не протирайте детали ветошью, оставляющей на них нитки, ворс и т.п.

. Все соприкасающиеся поверхности деталей рулевого механизма перед сборкой смажьте маслом Турбинное Тн-22 или маслом марки Р.

. Все резиновые уплотнительные детали осмотрите и замените. Фторопластовые кольца уплотнений поршня и винта не должны иметь повреждений. Для облегчения установки резиновых колец и во избежание защемления их при сборке допускается применять смазку ПВК ТОСТ 19537-74.

. В случае замены манжет вала сошки и вала ведущей шестерни углового редуктора запрессовывайте их плавно и без перекосов, применяя оправки. Окончательно указанные манжеты запрессовывайте пакетом вместе с наружной манжетой и другими деталями, входящими в упомянутые сборочные единицы уплотнений - до упора в корпус механизма. При установке манжет вала сошки рабочие кромки их должны быть защищены от повреждений шлицами вала.

. Момент затяжки болтов М8 должен быть равен 20.6.27,5 Нм (2,1.2,8 кгс-м), болтов и гаек М10 - 34.3.41,2 Н. м (3,5.4,2 кгс. м). Упорная крышка сборочной единицы ведомой шестерни редуктора должна быть затянута с моментом 43,2.60,8 Н. м (4,4.6,2 кгс. м) и застопорена раскерниванием ее края в паз на корпусе углового редуктора.

Гайка крепления подшипников ведущей шестерни углового редуктора должна быть затянута с моментом 39,2.58,9 Н. м (4.6 кгс. м) и застопорена путем вдавливания буртика гайки в паз на вале ведущей шестерни.

После сборки ведомая и ведущая шестерни углового редуктора должны свободно вращаться и не иметь ощутимого осевого зазора.

Сливную магнитную пробку (с конической резьбой и цилиндрическим магнитом) затягивайте с моментом 33,4.39,2 Н. м (3.4 кгс. м).

. Сборку шарико-винтовой пары и установку собранного комплекта в поршень-рейку производите в следующем порядке:

наденьте на винт со стороны его винтовой канавки плавающую уплотнительную втулку;

установите гайку на нижнем конце винта, совместив отверстия гайки, в которые входят желобы, с винтовой канавкой винта;

заложите двадцать три шарика через обращенное к угловому редуктору отверстие в гайке, поворачивая винт против часовой стрелки;

заложите восемь шариков в сложенные вместе желобы и предотвратите их выпадание, замазав выходы желоба смазкой ПВК ГОСТ 19537-74;

вложите желобы с шариками в гайку, поворачивая при необходимости винт, и обвяжите гайку, чтобы предотвратить выпадание желобов;

проверьте момент вращения гайки на средней части винта (должен быть равным 29,4.78,5 Н. см (3.8 кгс. см); при несоответствии момента указанной величине замените комплект шариков, не допуская перемешивания комплектов;

запрессуйте гайку с винтом в отверстие поршня-рейки, ввернув и раскернив установочные винты в двух местах против канавок в поршне-рейке. Момент затяжки установочных винтов должен быть равен 49,1.58,9 Н. м (5.6 кгс. м). В случае совпадения канавки в поршне-рейке со шлицем винта последний замените.

Выступание винтов над цилиндрической поверхностью поршня-рейки недопустимо. Это вызовет задир рабочей поверхности цилиндра гидроусилителя.

. При сборке углового редуктора с винтом и плавающей уплотнительной втулкой убедитесь в надежности установки стопорного кольца последней в канавку упорной крышки углового редуктора. Стопорное кольцо должно полностью входить в упомянутую канавку.

. Устанавливайте поршень-рейку в картер с помощью оправки без перекосов.

. При сборке клапана управления гидроусилителем проследите, чтобы выточка на торце золотника была обращена к угловому редуктору, а фаски на реактивных плунжерах - наружу. После сборки золотник, обратный клапан, а также реактивные плунжеры должны перемещаться в соответствующих отверстиях корпуса клапана управления плавно, без заеданий.

. При сборке клапана управления гидроусилителем с винтом упорные подшипники устанавливайте так, чтобы их большие кольца были обращены к золотнику. Пружинная шайба упорных подшипников должна быть установлена вогнутой поверхностью в сторону подшипника. После регулировки момента, необходимого для проворачивания корпуса клапана управления (98,1.122,6 Н. см (10.12.5кгс. см), гайку крепления упорных подшипников застопорите вдавливанием буртика гайки в канавку винта рулевого механизма.

. При сборке регулировочного винта и вала сошки обеспечьте осевое перемещение винта относительно вала сошки 0,02.0,08 мм подбором регулировочной шайбы. При необходимости замените уплотнительное кольцо регулировочного винта, применяя оправку.

. Отрегулируйте зубчатое зацепление в паре "поршень - рейка - зубчатый сектор вала сошки" в соответствии с указаниями, изложенными выше. После окончания регулирования зацепления регулировочный винт сошки закерните, затянув контргайку с моментом 58.9.63,8 Н. м (6.6,5 кгс. м), удерживая при этом регулировочный винт от поворота.

После сборки рулевой механизм должен соответствовать следующим требованиям:

1. Полный угол поворота вала сошки должен быть не менее 90°.

. После вращения винта рулевого механизма до упора поршня и приложения к ведущей шестерне дополнительного вращающего момента не менее

.6Н. м (2 кгс. м) центрирующие пружины должны обеспечить его четкий возврат в исходное положение. Указанное условие должно соблюдаться при поворотах как вправо, так и влево.