Материал: Рулевое управление автомобиля КамАЗ-5311

Внимание! Если размещение файла нарушает Ваши авторские права, то обязательно сообщите нам

Рулевое управление автомобиля КамАЗ-5311

Содержание

 

Введение

1. Рулевое управление автомобиля Камаз-5311

1.1 Назначение рулевого управления

1.2 Классификация рулевых механизмов

1.3 Устройство рулевого управления автомобиля Камаз-5311

1.4 Принцип работы рулевого управления автомобиля Камаз-5311

1.5 Техническое обслуживание

1.6 Ремонт

1.7 Техника безопасности при ТО и ремонте

1.8 Охрана труда на предприятии (СТО)

Заключение

Литература

Введение

Автомобильный транспорт имеет крупнейшее значение в общей транспортной системе нашей страны. Он широко применяется во всех отраслях народного хозяйства. Преимущества автомобильного транспорта - более высокие скорости, возможность использования его при перевозках "от двери до двери", без дополнительных перегрузок. На большие расстояния перевозятся скоропортящиеся и срочные грузы.

Автомобильный транспорт служит для подвоза к железнодорожным станциям, морским портам и речным пристаням важнейших грузов (зерно, строительные материалы и пр.), для доставки грузов, прибывших на станции, в порты и на пристани, к потребителям.

Здесь, по сравнению с другими видами транспортных средств, предъявляются менее жесткие условия к упаковке товара.

Большая мобильность, возможность оперативно реагировать на изменения пассажиропотоков ставят автотранспорт "вне конкуренции" при организации местных перевозок пассажиров. автотранспорт отличают сравнительно небольшие капиталовложения в оборудование терминалов (погрузочно-разгрузочных мощностей) и использование автодорог общего пользования.

Недостатком является высокая себе стоимость перевозки грузов, что связано с небольшой грузоподъемность автомобилей.

В автотранспорте величина переменных издержек (оплата труда водителей, затраты на горючее, шины и ремонт) в расчете на один километр пути велика. Постоянные же расходы (накладные расходы, амортизация автотранспортных средств) наоборот невелики.

Вследствие этого, автомобильный транспорт в основном используется для перевозки небольших потоков грузов на короткие расстояния.

1. Рулевое управление автомобиля Камаз-5311


1.1 Назначение рулевого управления


Предназначено для обеспечения движения автомобиля в заданном водителем направлении.

1.2 Классификация рулевых механизмов


Рулевой механизм является основой рулевого управления, где он выполняет следующие функции: увеличение усилия, приложенного к рулевому колесу; передача усилия рулевому приводу; самопроизвольный возврат рулевого колеса в нейтральное положение при снятии нагрузки.

По своей сути рулевой механизм является механической передачей (редуктором), поэтому основным его параметром является передаточное число. В зависимости от типа механической передачи различают следующие типы рулевых механизмов: реечный, червячный, винтовой.

Реечный рулевой механизм:

Рис. 1 Схема реечного рулевого механизма

. пыльник; 2. уплотнение; 3. гидроцилиндр; 4. шестерня; 5. золотник; 6. вал рулевого колеса; 7. игольчатый клапан; 8. трубопровод; 9. поршень; 10. рулевая рейка; 11. шарнир рулевой тяги

Реечный рулевой механизм является самым распространенным типом механизма, устанавливаемым на легковые автомобили. Реечный рулевой механизм включает шестерню и рулевую рейку. Шестерня устанавливается на валу рулевого колеса и находится в постоянном зацеплении с рулевой (зубчатой) рейкой.

Работа реечного рулевого механизма осуществляется следующим образом. При вращении рулевого колеса рейка перемещается вправо или влево. При движении рейки перемещаются присоединенные к ней тяги рулевого привода и поворачивают управляемые колеса.

Реечный рулевой механизм отличает простота конструкции, соответственно высокий КПД, а также высокая жесткость. Вместе с тем, данный тип рулевого механизма чувствителен к ударным нагрузкам от дорожных неровностей, склонен к вибрациям. В силу своих конструктивных особенностей реечный рулевой механизм устанавливается на переднеприводных автомобилях с независимой подвеской управляемых колес.

Червячный рулевой механизм

Червячный рулевой механизм состоит из глобоидного червяка (червяка с переменным диаметром), соединенного с рулевым валом, и ролика. На валу ролика вне корпуса рулевого механизма установлен рычаг (сошка), связанный с тягами рулевого привода.

Вращение рулевого колеса обеспечивает обкатывание ролика по червяку, качание сошки и перемещение тяг рулевого привода, чем достигается поворот управляемых колес.

Червячный рулевой механизм обладает меньшей чувствительностью к ударным нагрузкам, обеспечивает большие углы поворота управляемых колес и соответственно лучшую маневренность автомобиля. С другой стороны червячный механизм сложен в изготовлении, поэтому дорог. Рулевое управление с таким механизмом имеет большое число соединений, поэтому требует периодической регулировки.

Червячный рулевой механизм применяется на легковых автомобилях повышенной проходимости с зависимой подвеской управляемых колес, легких грузовых автомобилях и автобусах.

Винтовой рулевой механизм:

1. вал рулевого колеса;

. винт;

. циркулирующие шарики;

. канал циркуляции шариков;

. гайка с зубчатой рейкой;

. рулевая сошка;

. зубчатый сектор (секторная шестерня)

Рис. 2 Схема винтового рулевого механизма

Винтовой рулевой механизм объединяет следующие конструктивные элементы: винт на валу рулевого колеса; гайку, перемещаемую по винту; зубчатую рейку, нарезанную на гайке; зубчатый сектор, соединенный с рейкой; рулевую сошку, расположенную на валу сектора. Особенностью винтового рулевого механизма является соединение винта и гайки с помощью шариков, чем достигается меньшее трение и износ пары.

Принципиально работа винтового рулевого механизма схожа с работой червячного механизма. Поворот рулевого колеса сопровождается вращением винта, который перемещает надетую на него гайку. При этом происходит циркуляция шариков. Гайка посредством зубчатой рейки перемещает зубчатый сектор и с ним рулевую сошку.

Винтовой рулевой механизм в сравнении с червячным механизмом имеет больший КПД и реализует большие усилия. Данный тип рулевого механизма устанавливается на отдельных легковых автомобилях представительского класса, тяжелых грузовых автомобилях и автобусах.

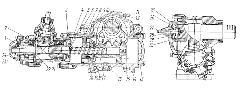
1.3 Устройство рулевого управления автомобиля Камаз-5311


Рис. 3 Схема устройства рулевого управления автомобиля Камаз-5311

1 - колесо рулевое; 2 - рулевая колонка; 3 - вал карданный; 4 - радиатор; 5 - клапан управления гидроусилителем; 6 - редуктор угловой; 7 - гидроусилитель с рулевым механизмом; 8 - тяга продольная; 9 - сошка; 10 - трубопровод низкого давления; 11 - трубопровод высокого давления; 12 - насос гидроусилителя руля; 13 - бачок гидросистемы

Рулевое колесо воспринимает от водителя усилия, необходимые для изменения направления движения, и передает их через рулевую колонку рулевому механизму.

Рулевая колонка обеспечивает соединение рулевого колеса с рулевым механизмом. Рулевая колонка представлена рулевым валом, имеющим несколько шарнирных соединений. В конструкции рулевой колонки предусмотрена возможность складывания при сильном фронтальном ударе, что позволяет снизить тяжесть травмирования водителя.

Рис. 4 Рулевая колонка Камаз-5311

1 - вал колонки;

. кольцо стопорное; 3 - кольцо разжимное; 4 - подшипник шариковый; 5 - труба колонки; 6 - обойма с уплотнением; 7 - шайба стопорная; 8 - гайка регулировки подшипников

Кардан рулевого вала обеспечивает передачу крутящего момента при углах поворота до 70 градусов относительно оси.

Рис. 5 Кардан рулевого вала Камаз-5311

1 - вилка; 2, 9 - кольца упорные; 3 - крестовина; 4 - подшипник игольчатый; 5,8 - кольца уплотнительные; 6 - вилка со шлицевым стержнем; 7-обойма уплотнительного кольца; 10 - вилка со шлицевой втулкой

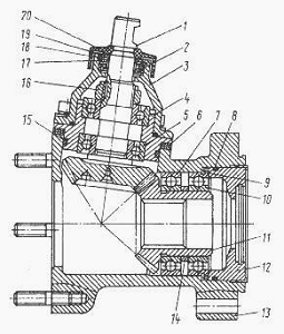
Угловой редуктор предназначен для изменения по направлению усилия, прикладываемого водителем к рулевому колесу.

Рис. 6 Редуктор угловой рулевого управления Камаз-5311

1 - вал ведущей шестерни; 2 - манжета; 3 - крышка корпуса; 4 - корпус ведущей шестерни; 5, 7, 10 - шарикоподшипники; 6 - прокладки регулировочные; 8, 15,19 - кольца уплотнительные; 9 - кольцо стопорное; 11 - шестерня ведомая; 12 - крышка упорная; 13 - корпус редуктора; 14 - втулка распорная; 16 - гайка крепления подшипников; 17 - шайба; 18 - кольцо упорное; 20 - крышка защитная

Ведущая шестерня углового редуктора Камаз выполнена заодно с валом 1 и установлена в корпусе 4 на шариковых подшипниках 5. Шарикоподшипники напрессованы на вал шестерни и удерживаются от осевого перемещения гайкой 16.

Для предотвращения самопроизвольного отворачивания буртик гайки вдавлен в паз на валу шестерни. Ведомая шестерня 11 вращается в двух шариковых подшипниках 7, 10, посаженных на хвостовик шестерни с натягом. От продольных смещений ведомая шестерня редуктора рулевого управления Камаз удерживается стопорным кольцом 9 и упорной крышкой 12. Зацепление конических шестерен регулируют прокладками 6, установленными между корпусами ведущей шестерни и углового редуктора.

Механизм рулевого управления преобразует вращение рулевого колеса в поступательное перемещение тяг привода, вызывающее поворот управляемых колес. При этом усилие, передаваемое водителем, от рулевого колеса к поворачиваемым колесам, возрастает во много раз.


Рис. 7 Механизм рулевого управления Камаз со встроенным гидроусилителем

1 - крышка передняя; 2 - клапан управления гидроусилителем; 3, 29 - кольца стопорные; 4 - втулка плавающая; 5, 7 - кольца уплотнительные; 6, 8 - кольца распорные; 9 - винт установочный; 10 - вал сошки; 11 - клапан перепускной; 12 - колпачок защитный; 13 - крышка задняя; 14 - картер рулевого механизма; 15 - поршень-рейка; 16 - пробка сливная магнитная; 17 - винт; 18 - гайка шариковая; 19 - желоб; 20 - шарик; 21 - редуктор угловой; 22 - подшипник упорный; 23 - шайба пружинная; 24 - гайка; 25 - шайба упорная; 26 - шайба регулировочная; 27 - винт регулировочный; 28 - контргайка регулировочного винта; 30 - крышка боковая

Насос гидроусилителя служит для создания давления рабочей жидкости. В системе гидроусилителя используется лопастной насос двойного действия с максимальным давлением 8,5 до 9,0 МПа. Он установлен в развале блока цилиндров двигателя и приводится в действие через шестерни распределительного механизма.

рулевое управление автомобиль ремонт

Рис. 8 Насос гидроусилителя

- шестерня; 2-вал; 3-кольцо; 4 - сальник; 5 - игольчатый подшипник 6 - крышка; 7 - указатель уровня масла; 8-предохранитольный клапан; 9 - прокладка; 10 - бачок; 11 - сетчатый фильтр; 12 - коллектор; 13 - крышка; 14 - предохранительный клапан; 15 - перепускной клапан; 16-распределитсльный диск; 17 - лопасть; 18 - статор; 19 - корпус; 20 ротор; К - Калиброванное отверстие.

Рис.9 Схема работы рулевого управления

Рулевой привод состоит из сошки 12 (см. рис.3) продольной тяги, поперечной тяги, трех поворотных рычагов.


1.4 Принцип работы рулевого управления автомобиля Камаз-5311


l-движение прямо, ll-поворот направо, lll-поворот налево, А-линия нагнетания, В-линия слива 1-вал сошки с зубчатым сектором, 2-поршень рейка, 3-шариковая гайка 4-винт, 5-корпус, 6-предохранительный клапан, 7-корпус клапана, 8-золотник, 9-пружина, 10-радиатор, 11-насос

При прямолинейном движении автомобиля винт 4 (рис. 9.) и золотник 8 находятся в среднем положении. Линии нагнетания А и слива В, а также обе полости С и Д гидроцилиндра соединены между собой.

Масло свободно проходит от насоса 11 через клапан управления и возвращается в бачок. Сопротивление, возникающее при поворачивании колес посредством рулевого привода, создает силу, стремящуюся сдвинуть винт в осевом направлении в соответствующую сторону. Когда эта сила превысит усилие предварительного сжатия центрирующих пружин 9, винт смещает жестко связанный с ним золотник. При этом одна полость цилиндра гидроусилителя сообщается с линией нагнетания и отключается от линии слива, а другая, оставаясь соединенной с линией слива, отключается от линии нагнетания.

Рабочая жидкость, поступающая из насоса в соответствующую полость цилиндра, оказывает давление на поршень-рейку 2 и, создавая дополнительное усилие на зубчатом секторе вала 1 сошки рулевого механизма, способствует повороту управляемых колес. Давление в рабочей полости цилиндра усилителя увеличивается до значения, пропорционального сопротивлению повороту колес. Одновременно возрастает давление в полостях под реактивными плунжерами. При изменении сопротивления повороту колес, а следовательно, и давления в рабочей полости цилиндра меняется усилие, с которым золотник стремится вернуться в среднее положение, и усилие на рулевом колесе, что обеспечивает водителю "чувство дороги".

При прекращении поворота рулевого колеса золотник под действием центрирующих пружин и увеличивающегося давления в реактивных полостях сдвигается к среднему положению настолько, что открывается щель для прохода подаваемого насосом масла в линию слива. Размер щели устанавливается так, чтобы в находящейся под напором полости цилиндра поддерживалось давление, необходимое для удержания управляемых колес в повернутом положении. Если переднее колесо при прямолинейном движении автомобиля начнет резко поворачиваться, например, при наезде на препятствие, вал сошки, поворачиваясь, будет перемещать поршень-рейку. Поскольку винт не вращается (водитель удерживает рулевое колесо в одном положении), он тоже переместится в осевом направлении вместе с золотником. При этом полость цилиндра, внутрь которой движется поршень-рейка, будет соединена с линией нагнетания насоса и отделена от линии слива. Давление в этой полости цилиндра повышается, что уравновешивает (смягчает) удар.

Когда гидроусилитель не работает, рулевой механизм по-прежнему обеспечивает поворот колес, но на детали действуют уже полные нагрузки. При этом резко возрастает изнашивание деталей и возможны их поломки.

1.5 Техническое обслуживание


При ежедневном техническом обслуживании проверьте состояние привода рулевого управления (без применения специального инструмента).

При То 1:

проверьте уровень масла в бачке насоса гидроусилителя рулевого управления, при необходимости долейте масло до нормы;

смажьте шарниры рулевых тяг через пресс-маслёнки до появления свежей смазки в зазорах.

Уровень масла в бачке насоса проверяйте указателем, вмонтированным в пробку заливной горловины бачка, передние колеса при этом установите прямо. Перед снятием пробки тщательно вытрите ее и заливную горловину бачка ветошью, смоченной дизельным топливом или керосином.