Материал: Разработка схемы устройства для контроля цепи в действующей схеме энергоснабжения

Внимание! Если размещение файла нарушает Ваши авторские права, то обязательно сообщите нам

а) Микросхема серии К155ЛА3.

Рисунок 2.8 - Размеры микросхемы серии К155ЛА3

Рисунок 2.9 - Расположение выводов микросхемы серии К155ЛА3

Таблица 2.3 - Назначение выводов микросхемы серии К155ЛА3.

№ вывода

Назначение

№ вывода

Назначение

1

Вход Х1

8

Выход Y3

2

Вход Х2

9

Вход Х5

3

Выход Y1

10

Вход Х6

4

Вход Х3

11

Выход Y4

5

Вход Х4

12

Вход Х7

6

Выход Y2

13

Вход Х8

7

Общий

14

Ucc


Таблица 2.4 - Технические характеристики микросхемы серии К155ЛА3.

Функциональные особенности

4 элемента 2И-НЕ

Т, С

0…+70

Iсс, мА

22

ТрHL max, нc

15

ТрLH max, нc

22

Корпус

DIP14

Фирма производитель

СНГ


3) Делитель частоты на 10 Гц реализуется на микросхеме К155ИЕ1.

Рисунок 2.10 - Делитель частоты на 10 Гц.

Микросхема К155ИЕ1 является декадным счетчиком с фазоимпульсным представлением информации. Эта микросхема - делитель частоты на 10. Установка триггеров микросхемы в 0 осуществляется подачей лог. 1 одновременно на два объединенных по схеме И входа R. Рабочая полярность входных счетных импульсов, подаваемых на входы С, отрицательная. Импульсы можно подавать или отдельно на каждый из входов (на второй вход должна при этом подаваться лог. 1), или одновременно на оба входа. Одновременно с каждым десятым входным импульсом на выходе формируется равный ему по длительности выходной импульс отрицательной полярности. Многокаскадные делители частоты можно строить, соединяя входы С последующих каскадов с выходами предыдущих.

Технические характеристики:

I’вх≤0,04 мА;

Iвх0≤1,6 мА;

Uвых0≤0,4 В;

Uвых’≤2,4 В;fmax=19 МГц;

Коэффициент разветвления = 4.

) Делитель частоты на 100 Гц также реализуется на микросхеме К155ИЕ1.

Рисунок 2.11 - Делитель частоты на 100 Гц.

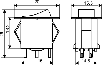
) Переключатель частоты 10 или 1 Гц выполнен на основе переключателя ПТ73-2-3.

Рисунок 2.12 - Переключатель частоты 10 или 1 Гц.

Переключатель клавишный ПТ-73-2-3 предназначен для коммутации электрических цепей переменного тока в бытовой радиоэлектронной аппаратуре, в том числе в аппаратуре общепромышленного применения.

Рисунок 2.13 - Внешний вид переключателя ПТ73-2-3.

Рисунок 2.14 - Размеры переключателя ПТ73-2-3.

Таблица 2.5 - Технические характеристики переключателя ПТ73-2-3

Параметр

Значение

Ток, А

0,001-6

Напряжение, В

0,1-250

Мощность, мах. ВА

660

Количество коммутационных циклов, В.О.

50000

Сопротивление электрического контакта, Ом, не более

0,02

Сопротивление изоляции, МОм, не менее

1000

Электрическая прочность изоляции, В

1500

Температура окружающей среды, °С

-45…+55

Масса, г, не более

10


6) Коммутатор импульсов выполнен на основе транзистора КТ815А.

Рисунок 2.15 - Коммутатор импульсов.

Рисунок 2.16 - Размеры транзистора КТ815А.

Таблица 2.6 - Технические характеристики транзистора КТ815А

Материал

Si

Ik max, A

1,5

Ik и max, A

3

Uкэо гр (Uкэо, и max) (Uкэг max), В

25

5

Рк max (Рк, ср max) (Рк , и max), Вт

10

при Тк (Т), С

25

Тк max (Т max), С

100

h21э (h21э) (S21 тип)

40

при Uкэ (Uкб), В

2

Uкэ нас, В

1

Ikб0 (Ikэг) (Ikэо),мА

0,6

fгр (fh21), МГц0,005


Ск, пф

3

Сэ, пф

60

Rт п-к (Rт п-с), С/Вт

10


7) Блок «обмотки трансформатора» реализован на трансформаторе ТП1-2.

Рисунок 2.17 - Обмотки трансформатора.

Рисунок 2.18 - Внешний вид трансформатора ТП1-2.

Рисунок 2.19 - Габаритные размеры, мм вид сбоку.

Рисунок 2.20 - Габаритные размеры, мм вид сверху.

Рисунок 2.21 - Посадочные размеры, мм.

Основные технические характеристики:

·        Номинальная индуктивность обмоток, на частоте f = 1 кГц: L1, L2 > 2.0 Гн;

·              Коэффициент трансформации: Ктр = 1+5% ;

·              Активное сопротивление обмоток: R1 = 60 Ом, R2 = 80 Ом;

·              Рабочий диапазон частот: fраб = 300 - 3400 Гц.

В качестве магнитопровода используется сердечник КВ6:ТРС-1-1, КВ5:ТРС-2-1, КВ: ТРС-2-1 из феррита с высокой магнитной проницаемостью.

) Блок «симмисторный ключ» выполнен на основе симмистора серии ТС161-160.

Рисунок 2.22 - Симмисторный ключ.

Рисунок 2.23 - Размеры симмистора серии ТС161-160.

Таблица 2.7 - Технические характеристики симмистора серии ТС161-160

Предельные значения параметров режима

 при Тп мах

Iос, д мах, А

160

Тк, 0С

85

Uзс,п,В

200

Iос, удр, А при tи=10 мс; Uобр=0

2100

(dUзс/dt)ком, В/мкс

1…50

(diос/dt)кр,А/мкс

6,3

Тп мах,0С

125

Электрические и временные параметры, при Тп=250С

Iвкл, мА

500

Iуд, мА

200

Uос, и (Uос), В при Iос, и(Iос)=ос, д мах1,75


Iу, от, мА

400

Uу, от, В

5

tвкл, мкс

20

tзд, мкс

10


9) Индикатор частоты импульсов реализуется на основе светодиода серии АЛ310Б.

Рисунок 2.24 - Индикатор частоты импульсов.

Рисунок 2.25 - Размеры светодиода серии АЛ310Б.

Таблица 2.8 - Электрические и световые параметры светодиода АЛ310Б

Цвет свечения

Красный

Сила свечения, при Iпр =10 мА

0,25…0,6 мкд

Длина волны излучения в максимуме спектральной плотности

0,67 мкм

Постоянное прямое напряжение при Iпр=10 мА, не более

2 В

 Предельные эксплутационные данные

Постоянный прямой ток

12 мА

Температура окружающей среды

-60…+70 0С


2.3 Разработка схемы электрической принципиальной. Принцип действия

Схема электрическая принципиальная представлена в ПРИЛОЖЕНИИ А.

Принцип действия.

Генератор одиночных импульсов (ГОИ) и индикатор прохождения тока (ИПТ) позволяют, не отключая сеть, разобраться в схеме электроснабжения.

ГОИ состоит из схемы запуска, мощного симмистора или тиристора и мощного резистора. Силовой трансформатор генератора Т1 имеет 2 вторичные обмотки (22 В и 4 В). Т2 можно изготовить из Ш-образного или кольцевого магнитопровода М2000 площадью сечения порядка 1 см2. Первичная обмотка содержит 400 витков, вторичная - 200 витков провода ПЭЛ диаметром 0,24 мм. На микросхемах DD1.1 и DD1.2 собран формирователь импульсов частотой 100 Гц. ИМС DD2 и DD3 делят частоту на 10 и на 100.

На вход ИМС DD1.3 можно подать импульсы частотой 10 Гц или 1 Гц через переключатель SА1. Эти импульсы коммутируют транзисторный ключ на VТ1, в коллектор которого включен импульсный трансформатор Т2. Импульсы со вторичной обмотки Т2 подаются на управляющий электрод симмистора VS1. Открываясь один или десять раз в секунду, симмистор вызывает в проверяемой сети, к которой подключен генератор, ток величиной до 10 А - в зависимости от номиналов R8 и R9. Автоматические выключатели с тепловой защитой от такого тока не срабатывают, с электромагнитной - выключаются. Поэтому на время проверки цепи их необходимо закоротить.

Индикатор прохождения тока состоит из раздвижного магнитопровода из электротехнической стали площадью сечения 1...1.5 см2 и двух обмоток по 3000 витков провода ПЭЛ диаметром 0.12 мм. Можно использовать готовые конструкции из токоизмерительных клещей (Ц-90, Ц-95 и им подобных). Обмотки L1 и L2 соединены последовательно и нагружены на светодиод НL1.

Методика контроля сети с помощью ГОИ и ИПТ очень проста. Подключив генератор к нулевому и фазному проводу, его включают. В проводах возникают мощные импульсы тока, которые легко наблюдаются индикатором (ИПТ) по вспыхиванию светодиода. Перемещая индикатор по схеме электрической проводки, можно легко определить нужную цепь автоматов, предохранителей и т.д.

Генератор размещен в металлическом ящике, разделенном на два отсека. В одном находится схема запуска, в другом - нагрузочные резисторы. Следует учитывать, что при запуске в положении переключателя "10 Гц" на нагрузочных резисторах выделяется значительное количество тепла.

Индикатор можно вмонтировать в корпус токоизмерительных клещей Ц-90 или сделать оригинальный корпус. В целях электробезопасности корпус обязательно должен быть из диэлектрического материала.

.4 Предварительный расчет надежности устройства. Полный расчет элемента схемы.

Надежность - свойство изделия выполнять заданные функции, сохраняя свои эксплуатационные показатели в заданных пределах в течение требуемого промежутка времени или требуемой наработки.

Надежность - один из важнейших показателей качества изделия.

Расчет надежности сводится в основном к определению вероятности безотказной работы, средней наработки до отказа и интенсивностью отказов.

Отказ - это событие, после появления, которого изделие теряет работоспособность, т.е. какой-либо один или несколько основных параметров не соответствует требованиям, установленных в КД.

Интенсивность отказов показывает, какое число изделий (элементов) по отнесению к числу работающих, выходит из строя за единицу времени (обычно за 1 час). Интенсивность отказов - это отношение числа отказавших элементов за промежуток времени t к среднему числу исправно работающих элементов на продолжительность рассматриваемого отрезка времени.

Вероятность безотказной работы - вероятность того, что в определенных условиях эксплуатации в пределах заданной продолжительности времени отказа не произойдет.

Средняя наработка до отказа - это время работы изделия до первого отказа.

При расчете надежности системы определяются следующие показатели:

·    интенсивность отказов изделий λ(t) или системы,

·        вероятность P(t) безотказной работы системы за время проверок подготовки и заключительного этапа использования аппаратуры.

·        среднее время Тср наработки на отказ системы.

Исходными данными при расчете надежности являются:

·    принципиальные блок-схемы и входящих в нее устройств с параметрами функционирования:

·        принципиальные схемы всех функциональных узлов с указанием типов изделий, входящих в узлы;

·        режимы работы резервных устройств (нагруженный, ненагруженный, облегченный),

·        электрические режимы работы изделий коэффициенты их нагрузки;

·        величины интенсивности отказов изделий;

·        непрерывное время работы;

·        температура окружающей среды;

·        условия эксплуатации.

Этапы выполнения расчета надежности:

. Проведение структурного анализа, влияние каждого элемента на работоспособность системы и характер их взаимосвязи, состав и число элементов, которые должны быть учтены при расчете.

. Составление структурной схемы расчета надежности. Сложная система расчленяется на отдельные части - элементы.

З. Проведение расчета надежности.

. Оформление расчета-надежности.

Расчет производится по известным интенсивностям отказов элементов, входящих в блок. На различных стадиях проектирования выполняются два вида расчета надежности: