Материал: Проект грузового автотранспортного предприятия смешанного типа на 127 автомобилей с детальной проработкой аккумуляторного участка

Внимание! Если размещение файла нарушает Ваши авторские права, то обязательно сообщите нам

Не плотности и трещины обнаруживают по просачиванию электролита или внешним осмотром. Ремонт батарей обычно осуществляется с использованием готовых деталей (пластин, сепараторов баков).

4. КОНСТРУКТИВНАЯ РАЗРАБОТКА

Достоинства конструкции современных двигателей внутреннего сгорания (ДВС) оцениваются не только их мощностными и экономическими показателями. Здесь нельзя не брать в расчет количество выбросов токсичных компонентов в атмосферу с отработавшими газами (ОГ). При катастрофическом ежегодном росте парка автомобилей в крупных городах уровень загрязнения воздушного бассейна приблизился к критическому и стал главной причиной частых болезней и низкой продолжительности жизни населения, деградации окружающей среды. Поэтому сегодня крайне необходимо создавать устройства, снижающие уровень выбросов токсичных веществ ДВС в атмосферу.

Одним из основных вредных веществ, выделяемых автотракторными дизелями, является сажа, определяющая своим присутствием дымность ОГ. Кроме неприятного запаха, частицам сажи свойственно адсорбировать и переносить на своей поверхности особо токсичные вещества, приносящие большой вред здоровью людей, даже при очень малых их концентрациях.

Учитывая, что современный уровень развития двигателестроения, существующие конструкции дизельных двигателей не обеспечивают выполнения жестких норм Евро III и тем более Евро IV, просто нельзя не оснащать выпускную систему дизельного двигателя сажевым фильтром.

Очистить ОГ от частиц сажи с помощью механических фильтров (ловушек) можно сравнительно легко. Однако фильтры при этом быстро забиваются, а противодавление на выпуске сильно возрастает. Очистка самих фильтров представляет собой очень сложную проблему. Ее можно решать или путем замены фильтрующих элементов, или путем их регенерации на борту автомобиля. В последнем случае используется электроэнергия или специальные горелки, обеспечивающие выжигание отложений на фильтре. Сложность и стоимость таких систем регенерации высоки, а надежность недостаточна.

В последнее время делается все больше попыток создать устройства для улавливания сажевых частиц, принцип работы которых заключается в использовании электрического поля высокой напряженности (электрофильтры) и центробежных сил (циклоны), а также их комбинации.

Применение циклонов в роли сажеуловителей связано с рядом трудностей. Во-первых, циклоны способны улавливать частицы, размеры которых превышают 10 мкм, а сажевые частицы дизельного выхлопа, кроме очень малой массы, редко превышают размер в 5 мкм.

Во-вторых, диапазон скоростей газа на входе в циклон, определяющий процесс эффективного отделения частиц, достаточно узкий, и поддержать его в условиях часто изменяющихся скоростных и нагрузочных режимов работы двигателя довольно сложно. При меньших скоростях движения ОГ величина центробежной силы будет недостаточна для отделения сажевых частиц от потока газа, а при больших - резко увеличивается сопротивление циклона, что способствует вторичному уносу сажи в атмосферу и ухудшению топливно-экономических показателей работы двигателя.

По сравнению с циклонами электрические фильтры обладают большей степенью очистки ОГ от сажи и оказывают незначительное сопротивление выхлопу двигателя. Работа электрофильтра основана на явлении коронного разряда. Очищаемые ОГ дизельного двигателя, поступая внутрь фильтра, подвергаются воздействию электрического поля высокой напряженности, образованного горением коронного разряда между коронирующим и некоронирующим электродами. Необходимо отметить, что оптимальная производительность электрофильтра достигается уменьшением расстояния между электродами, увеличением длины электродов электрофильтра, уменьшением скорости выхлопных газов и увеличением скорости перемещения частиц сажи за счет увеличения напряженности электрического поля между электродами. Поэтому производительность электрофильтра будет тем выше, чем больше времени ОГ находятся под действием поля.

Испытания работы электрофильтров выявили две главные проблемы, оказывающие большое влияние на эффективность очистки дизельного выхлопа от сажи: → быстрое загрязнение поверхности коронирующего электрода и электроизолятора сажей, что ведет к нарушению режима горения коронного разряда; → вторичный унос значительной части сажевых частиц с поверхности осадительного электрода потоком ОГ двигателя.

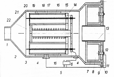
Для решения этих проблем была создана следующая конструкция электрофильтра. Устройство состоит из замкнутого стального корпуса 2 цилиндрической формы, крепящегося к штатной трубе глушителя двигателя и образующего две зоны 3 и 8. Зона ионной обработки 3 отработавших газов содержит впускной канал 1, коронирующие 16 и некоронирующий 15 электроды, подключенные через диэлектрические втулки 4 к источнику высоковольтного питания 5. Некоронирующий электрод 15 установлен в направляющих 18 и состоит из двух коаксиально расположенных цилиндров, соединенных между собой планками 20 и крышкой 14, которые выполнены из диэлектрического материала. Напротив впускного канала установлен подвижный диск 22, соединенный штоком 19 с шайбой 6. диск поджат к крышке пружиной. Коронирующие электроды 16 закреплены на диэлектрической шайбе б и снабжены очистителями сажи, имеющими форму пружины.

В зоне 8 осаждения сажи установлен сажесборник 7, закрепленный болтами 12 к крышке корпуса 10, через диэлектрические пластины 11. По оси крышки расположен выпускной канал 13, выполненный в виде патрубка. Крышка 10 отделена от корпуса 2 устройства и соединяется с ним через уплотнительную прокладку 9. Сажесборник 7 имеет форму большого и малого цилиндров с общей торцевой перегородкой и подключается к источнику высоковольтного питания 5.

Для повышения числа заряженных частиц сажи в конструкции устройства установлены четыре коронирующих электрода, равномерно расположенных в объеме очищаемых газов. С этой же целью скорость отработавших газов снижена на участке горения коронного разряда, путем установки напротив впускного канала подвижного диска. Для предотвращения загрязнения сажей наружных поверхностей коронирующих электродов последние проходят внутри очистителей и могут перемещаться в них за счет действия на подвижный диск давления потока отработавших газов двигателя.

Устройство работает следующим образом. Отработавшие газы через впускной канал 1 поступают в зону ионной обработки 3. Ввиду того, что подвижный диск 22 располагается напротив впускного канала 1 происходит заметное снижение скорости выхлопных газов двигателя на участке горения коронного разряда, что является необходимым условием для эффективного протекания процесса электрической зарядки частиц сажи. При подаче высокого напряжения к коронирующим электродам 16 между ними и некоронирующим электродом 15 зажигается коронный разряд, в результате чего межэлектродный промежуток будет заполнен в основном отрицательно заряженными ионами газа.

Отработавшие газы двигателя ионизируются в поле отрицательной короны, те. частицы сажи приобретают отрицательный заряд (вследствие адсорбции на них отрицательных ионов). Это обусловленно тем, что подвижность отрицательных ионов выше, чем положительных.

С потоком отработавших газов сажевые частицы поступают в зону осаждения. Для более полного улавливания частиц сажи в зоне осаждения сажесборник изготовлен в форме большого и малого цилиндров с общей торцевой перегородкой и располагается в зоне выпускного канала. Такая конструкция не будет способствовать вторичному уносу частиц сажи, осевших на поверхности сажесборника, так как поток газов при выходе в атмосферу совершает разворот на 1800. При этом частицы прижимаются струей газов к торцевой перегородке сажесборника. Так как сажесборник 7 подключен к положительному полюсу высоковольтного источника питания 5, частицы сажи осаждаются на его поверхности, а очищенные отработавшие газы двигателя выходят в атмосферу через выпускной канал 13. По мере накопления сажи необходимо очищать сажесборник 7. Для этого в конструкции устройства предусмотрена съемная крышка, вместе с которой он вынимается наружу и очищается от сажи и других отложений.

Разработанная конструкция устройства позволяет увеличить до 70% степень очистки ОГ дизельных двигателей от сажи, экономить топливо до 5-8% и обеспечить стабильность процесса электрической зарядки сажевых частиц (подобные фильтры опробованы в РГСХА, г. Рязань на тракторных ДВС)

Рисунок 4.1 Электрофильтр

- выпускной канал: 2 - корпус: 3,8 - зоны обработки: 4

- втулка: 5 - источник питания: 6- шайба. 7 - сажесборник: 9- прокладка. 10 -корпус крышки; 11 -диэлектрическая пластина: 12 - болт; 13 - выпускной канал: 14 - крышка; 15 --некоронирующий электрод; 16 -коронирующий электрод: 17 -пружина; 18 - направляющая; 19- шток; 20-планка: 21 - пружина: 22 - диск .

.1 Расчет крепления фильтра

Целью расчета является определение напряжений и коэффициента запаса прочности в резьбовом соединении крепления кронштейна фильтра.

Материал резьбового пальца (рисунок 4.2) - сталь 20 ГОСТ 1050-88,

σт= 750 МПа; σ-1= 5 МПа.

Диаметр резьбы М16×1,5.

Соединение затягивается моментом затяжки М3 = 170 Н-м.

Для определения коэффициента трения воспользуемся данными тензометрирования соединения при моменте затяжки М3 = 285 Н·м, согласно которому установлено, что напряжение в резьбовой части

σ1 = 501,6 МПа и

τ1 = 350 МПа.

Коэффициент трения на торце гайки определяется по формуле:

=(4.1.1)

где М3 - момент затяжки, Н-м;

Н - коэффициент определяющий d/d1

 - напряжение в резьбовой части, МПа;

d - наружный диаметр резьбы, см.;

 - касательное напряжение в резьбовой части, МПа;

1 - внутренний диаметр резьбы, см.

=

Коэффициент сопротивления в резьбе пальца

k=-(4.1.2)

где  - коэффициент, определяющий отношение D/d = 0,778

k =-0,778·0,086=0,1635.

Коэффициент соотношения момента сопротивления в резьбе и момента трения на торце гайки при затяжке:

=βТ ·µт/k =0,778·0,086/0,1635=0,41

Напряжение затяжки

σ=(4.1.3)

σ31=

Приведенное напряжение после снятия ключа определяется по формуле:

σn31(4.1.4)

σn31

Статический запас прочности определяется по формуле:

nТ=(4.1.5)

nT1=

Приведенное напряжение после затяжки (ω= 1)

σn131(4.1.6)


Рисунок 4.2 Резьбовое соединение

Коэффициент запаса прочности при затяжке вычислим по формуле:

nM=(4.1.7)

nM===1,68

Отношение коэффициентов nTi/nM = 1,6, показывает, что статический запас прочности после затяжки повысился на 60%.

Максимальное напряжение при переменной нагрузке определяется по формуле:

=(4.1.8)

где - приведенное напряжение при переменной нагрузке, = 58 МПа [ ]

=230=383МПа

Статический запас прочности по максимальному напряжению находится по формуле:

n==1,95

Это значение выше допускаемого, равного 1,5.

4.2 Расчет пружины фильтра

rо - внутренний радиус барабана, мм.

r - радиус вала пружины, мм.

r1 - внешний радиус заведенной пружины, равный внутреннему радиусуспущенной, мм.

S - толщина пружины, мм.

¥ - рабочее число оборотов барабана

n1 - число витков свободной пружины

n2 - число витков заведенной пружины

np - расчетное число витков пружины

L - длина развернутой пружины, мм

в - ширина пружины, мм

Мmax - максимальный момент на валу пружины, кг*с*мм

Мmin - минимальный момент на валу пружины, кгс*мм

[ό] - допустимое напряжение, кгс/мм²

E - модуль упругости, кгс/мм²

ŋ- КПД пружины

Заводная пружина должна иметь:

r о = 165 мм; Мmin = 1000 кгс*мм; ¥ = 16 об.

Материал пружины сталь 65 Г, модуль упругости Е = 2,1*10 кгс/мм²

смазка пружины: смазка масло касторовое с графитом, ŋ = 0,704

.        Берем пружину с нормальным отношением r/ r0

r = 1/3 rо = 1 165= 55 мм.

.        Толщина пружины

S = 0,157 rо

¥

Учитывая, трение в начале и конце работы добавляем один оборот, следовательно, ¥ = 16+1 = 17, тогда имеем

S = 0,157 * 165 = 1,5мм

Толщина пружины должна быть менее, чем r/15 то есть

,5<55 = 3,66

3.      Число витков спущенной пружины в барабане

n = 0,255* rо =0.255*165 = 28

S 1.5

4.      Число витков пружины заведенной в барабане

n = 0,412* rо =0,412*165 = 45,3

S 1.5

5.      Число витков пружины в свободном состоянии (вне барабана)

n1 = (0,3-0,372 n2)

Принимаем n1 = 0,32*45,3 = 14,5

6.      Длина пружины

L = П rо (1,745n + 0,67) = П*165 (1,745*28+0,67) = 25674 мм

. Расчетное число витков

np max = n2 - n1 =45.3-14.5 =20.8

np min = n- n1 = 28-14,5 =13,5

. Ширина пружины.

в = 6 М min* L = 73 мм

Пnp min *Е*S³*n

Принимаем материал на ленту сталь