Материал: Организация ремонта вагонов в депо

Внимание! Если размещение файла нарушает Ваши авторские права, то обязательно сообщите нам

Под тележки модели 18-100 подкатываются колесные пары трех типов (таблица 2.1).

Таблица 2.1 - Типы колесных пар

Тип  колесной пары

Тип оси

Тип подшипников и способ их крепления

Номинальный диаметр колес, мм

РУ1 - 950

РУ1

Роликовые на горячей посадке с торцовым  креплением гайкой

950

РУ1Ш - 950

РУ1Ш

Роликовые на горячей посадке с торцовым  креплением шайбой

950

РУ - 950

РУ

Роликовые на втулочной посадке с торцовым креплением гайкой

950


Рессорное подвешивание предназначено для упругого восприятия динамических сил, действующих со стороны пути на обрессоренные части вагона и гашения энергии колебаний, возникающих при движении вагона по рельсовому пути.

Рессорное подвешивание тележки включает два рессорных комплекта, каждый из которых состоит из семи двухрядных пружин и двух фрикционных клиньев гасителя колебаний. На нижней опорной поверхности клина имеется кольцевая бонка, которая входит внутрь поддерживающей пружины. Фрикционные клинья располагаются в гнездах надрессорной балки и своими наклонными поверхностями взаимодействуют с наклонными поверхностями балки, а вертикальными поверхностями с фрикционными планками, укрепленными на боковой раме.

В соответствии с ГОСТ 9246-79 для тележек модели 18-100 установлены следующие сроки службы:

- назначенный до списания боковых рам и надрессорных балок - 32 года;

- назначенный до предельного состояния (до восстановления капитальным ремонтом) - 8 лет;

- назначенный до первого деповского ремонта - 4 года.

Гарантийный срок службы тележки кроме быстро изнашиваемых деталей, установлен два года.

Тележка модели 18-100М.

Для повышения межремонтных пробегов тележек грузовых вагонов была проведена модернизация тележки модели 18-100 по проекту М1698. Суть данной модернизации заключается в защите основных пар трения тележки от износов в эксплуатации (рисунок 2.4).

В буксовый проем боковой рамы тележки устанавливается сменная прокладка толщиной 6 мм (в, рисунок 2.4). В соответствии с проектом типовые фрикционные планки заменяют составными (д, рисунок 2.4). Составную фрикционную планку устанавливают во фрикционный узел гашения колебаний. Она состоит из двух элементов: неподвижной фрикционной планки (толщиной 10 мм), которая приклепывается к боковой раме, и контактной (подвижной) фрикционной планки (толщиной 6 мм), свободно размещенной между неподвижной планкой и вертикальной поверхностью фрикционного клина.

Рисунок 2.4 - Тележка модели 18-100 М

Стальные фрикционные клинья тележки модели 18-100 заменяют на чугунные (г, рисунок 2.4).

В подпятник надрессорной балки устанавливается износостойкий элемент из стали 30ХГСА в виде плоской прокладки (диска) (а, рисунок 2.4). Скользуны оборудуют износостойким колпаком (б, рисунок 2.4). Тележка 18-100, прошедшая данную модернизацию, имеет обозначение 18-100М. На тележках, признанных годными после ремонта с установкой износостойких элементов ставятся клейма букв "РМ", высотой 70 мм, которые наносятся белой краской в прямоугольник (100×100мм) на верхнем поясе консольной части надрессорной балки, рядом с клеймами о производстве плановых видов ремонта. Данные тележки должны обеспечить пробег вагона по узлам и деталям, с установленными износостойкими элементами в узлах трения, до следующего планового вида ремонта, но не менее 160 тыс. км. (порожний + груженый).

Тележка модели 18-578.

Тележка модели 18-578 (рисунок 2.5) с увеличенной гибкостью рессорного подвешивания и износостойкими элементами предназначена для подкатки под грузовые вагоны с измененной конструкцией скользунов на раме вагона. Тележка обеспечивает пробег до первого деповского ремонта 500 тыс. км.

Тележка состоит из двух колесных пар с буксами 1; двух боковых рам 2; подпятника 3; рессорного подвешивания 4; надрсссорной балки 5; устройства отвода колодок 6; тормозной рычажной передачи 7.

Рисунок 2.5 - Тележка модели 18-578

На опорных поверхностях буксовых проемов боковых рам установлены сменные износостойкие скобы с приваренными износостойкими планками. В отверстия кронштейнов для валиков подвесок триангелей установлены сменные износостойкие втулки. На верхнем поясе надрессорной балки расположены опорные площадки с резьбовыми отверстиями для установки скользунов и подпятниковое место для опоры пятника вагона.

Для зашиты от износа подпятниковое место оборудуется износостойкими элементами в двух вариантах:

на опорную поверхность подпятникового места устанавливается износостойкая прокладка толщиной 6.5 мм из низколегированной стали 30ХГСА твердостью 25-341 НВ;

в подпятниковое место свободно устанавливается чаша, предохраняющая от износа внутреннюю поверхность наружного бурта и опорную поверхность пятника. Чаша изготовлена из стали 30ХГСА твердостью 320...400 НВ.

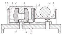
Скользун упругокаткового типа (рисунок 2.6) постоянного контакта служит для гашения боковых колебании кузова, ограничения виляния тележки и повышения устойчивости вагона.

депо вагон ремонт тележка

Рисунок 2.6 - Скользун упругокаткового типа

Упругокатковый скользун состоит из износостойкого элемента 1; корпуса 2; колпака 3; прокладки 4; упругого элемента 5 (демпфера); ролика 6; вкладыша 7; стопорных шайб 8; болта 9.

Демпфер имеет бочкообразную форму, изготовлен из полиуретана ННЦ ПУ-5, устанавливается в литой корпус и служит для гашения вертикальных колебаний. На демпфер установлен колпак 3, который находится в постоянном контакте со скользуном рамы вагона. В местах контакта колпака с корпусом установлены два смежных износостойких элемента 1. Ролик 6 перекрывается по вкладышу 7 и ограничивает прогиб демпфера 5. Скользуны устанавливаются на опорные поверхности надрессорной балки и крепятся болтами 9 и стопорными шайбами 8.

Размер А (30 "+2,5 -1,5") регулируется в свободном состоянии прокладками 4 между колпаком и демпфером, а под тарой вагона прокладками скользуна рамы (8±2).

В колесной паре применены колеса из стали повышенного качества и твердости и оси, изготовленные методом непрерывного разлива стали в условиях вакуумирования. Буксовые узлы оборудованы цилиндрическими подшипниками или двухрядными коническими типа TBV 130×250, которые установлены на типовые корпуса букс. Посадка конических подшипников - прессовая. Торцевое крепление подшипников позволяет выполнять обточку колес по кругу катания без демонтажа крепления.

Рессорное подвешивание включает два рессорных комплекта, установленных в центральных проемах боковых рам. Рессорный комплект включает семь двойных витых цилиндрических пружин и два фрикционных гасителя колебаний. По сравнению с тележкой 18-100 рессорный комплект имеет увеличенную гибкость за счет увеличения высоты пружин, которая составляет 259 мм, среднего диаметра витка (для наружной пружины 172 мм вместо 170 мм у тележки 18-100, для внутренней - 115 мм вместо 111 мм у тележки 18-100). Диаметр прутка наружной пружины уменьшен до 28 мм. Изготовлены пружины из стали 60С2ХФА. Фрикционные планки имеют сменные контактные планки толщиной 6 мм твердостью 320...412 НВ, устанавливаемые свободно. Фрикционные клинья отлиты из высокопрочного чугуна. Для защиты от износа наклонных поверхностей клина и надрессорной балки на наклонной поверхности клина устанавливается сменная износостойкая полимерная накладка. Тормозная передача тележки 18-578 оборудована устройством направленного отвода колодок от колес при отпущенном тормозе, обеспечивающим равномерный износ колодок.

.1.2 Анализ дефектов тележек

Тележка модели 18-100.

Дефектация узлов и деталей тележек грузовых вагонов производят после проведения неразрушающего контроля визуальным и инструментальным способами. Наличие трещин во всех деталях тележек не допускается, кроме трещин, которые устраняются при плановых видах ремонтов в соответствии с действующей ремонтной документацией.

Размеры узлов и деталей тележек, которым они должны соответствовать, при плановых видах ремонта приведены в таблице 2.2.

Таблица 2.2 - Размеры узлов и деталей тележки 18-100

Наименование неисправностей

При деповском ремонте с установкой износостойких элементов

При капитальном ремонте с установкой износостойких элементов

Глубина подпятника для балок, изготовленных до 1986 г. (25), мм, не более 2525



Глубина подпятника для балок, изготовленных после 1986 г. (30), мм, не более 3030



Размер наклонных поверхностей надрессорной балки, мм, не более

175175


Размер упорных поверхностей (челюстей) боковой рамы, мм,

не более 342

335

Износ колпака скользуна, мм, не более

2

не допускается

Износ скользунов соединительной балки: центральных, не более концевых, не более

2 2

не допускается

 Остаточная высота прилива опорной поверхности буксового проема боковой рамы, мм

не более 3

не более 3

Клин фрикционный из чугуна. Суммарный износ рабочих поверхностей, мм

не более 3 или 2 на сторону

новый

Глубина подпятника соединительной балки, мм, не более

47,5

47,5

Диаметр подпятника, надрессорной балки на глубине 10 мм, мм, не более

302,5+1,5 при конусности 1:12,5

302,5+1,5 при конусности 1:12,5


Литые детали тележек, имеющие износы, превышающие допустимые, подлежат ремонту сваркой и наплавкой в соответствии с инструкциями разработанными ВНИИЖТ и утверждёнными установленным порядком, с последующей механической обработкой до чертежных размеров и заданной твёрдости.

Твёрдость измеряется твердомером типа ТЭМП 3 по ГОСТ 9012-59, ГОСТ 9013-59 или другого типа.

Триангели рычажной передачи тележек испытывают на растяжение при их изготовлении вновь, периодических видах ремонта вагонов и ремонте сваркой, согласно Руководства по ремонту триангелей Р 001 ПКБ ЦВ-97 РК и Методике испытаний на растяжение 656-2000 ПКБ ЦВ.

Нетиповые чеки крепления тормозных колодок, шайбы крепления рычажной передачи тележек заменяют типовыми, а шплинты - новыми.

Шарнирные соединения рычажной передачи должны соответствовать требованиям "Инструкции по ремонту тормозного оборудования вагонов" ЦВ-ЦЛ-945.

Шкворень, имеющий трещины или изгиб более 5 мм, подлежит замене. Износ шкворня по диаметру при деповском ремонте допускается не более 3 мм, при капитальном ремонте износ шкворня не допускается.

Разница баз боковых рам допускается не более 2 мм.

Осмотр, освидетельствование и ремонт колесных пар производить в полном соответствии с требованиями "Инструкции по осмотру, освидетельствованию, ремонту и формированию вагонных колесных пар" ЦВ/3429.

Осмотр и ревизию буксовых узлов колесных пар производить в соответствии с требованиями "Инструктивных указаний по эксплуатации и ремонту вагонных букс с роликовыми подшипниками" 3-ЦВРК.

Размеры, которым должна соответствовать соединительная балка четырехосной тележки, приведены в "Типовом технологическом процессе на ремонт соединительной балки четырехосной тележки" ТК-232 ПКБ ЦВ.

Балка опорная для авторежима должна быть установлена на специальные полки боковых рам тележки согласно требованиям "Инструкции по ремонту тормозного оборудования вагонов" ЦВ-ЦЛ-945.

Тележка модели 18-578.

Размеры узлов и деталей тележек, которым они должны соответствовать, при плановых видах ремонта приведены в таблице 2.3.

Таблица 2.3 - Размеры узлов и деталей тележек

Наименование параметра

При деповском ремонте

При капитальном ремонте

1 Балка надрессорная

1.1 Размеры подпятникового места с прокладкой, мм - диаметр - глубина 1.2 Размеры подпятникового места с чашой, мм - диаметр - глубина 1.3 Размеры чаши, мм - внутренний диаметр - наружный диаметр - глубина 1.4 Суммарный износ наклонных поверхностей клиновых проемов, измеренный с одного края надрессорной балки, мм     не более 305 (вдольвагона) не более 303 (поперек вагона) 37

+2,0

+2,0

не более 140

не более 2


-0,5

+4

0


 

2 Рама боковая

2.1 Ширина буксового проема,мм 2.3 суммарные зазоры в буксовом проеме между челюстями буксы и боковой рамы, мм

не более 338  не менее 157

335±1  160

Продолжение таблицы 2.3

- вдоль оси вагона - поперек оси вагона 2.4 Разность базовых размеров боковых рам в тележке, не более, мм 2.5 Расстояние между фрикционными планками, не более, мм

5 … 14 5 … 13  2,0  650

5 … 12 5 … 11  2  648

3 Колесная пара

3.1 Разность диаметров колес по кругу катания, мм: в одной колесной паре в одной тележке в двух тележках, подкаченных под вагон

  не более 1 не более 12 не более 24

  не более 1 не более 6 не более 12

4 Буксовый узел

4.1 назначенный ресурс кассетного подшипника по пробегу, тыс.км. (лет) 4.2 Назначенный ресурс буксового узла с цилиндрическими подшипниками до полного освидетельствования тыс. км (лет) 4.3 Размеры челюстей корпуса буксы, мм: - вдоль оси вагона; - поперек оси вагона 4.4 Износ опорных поверхностей корпуса буксы, мм      450 (4)     не менее 324 не более 171  1         800 (8)      328


0

 

5 Передача тормозная рычажная

5.1 Диаметральный зазор в шарнирных соединениях, мм 5.2 Толщина тормозной колодки, мм: - композиционной; - чугунной             не более 2 50+10, 65


+10, 65

60


 

Окончание таблицы 2.3

5.3 Износ подвески триангеля в местах сопряжения с башмаком, мм 5.4 Износ тормозного башмака в местах сопряжения с колодкой, подвеской, швеллером триангеля, мм 5.5 Наклон вертикальных рычагов, градусов 5.6 Изгиб опорной балки для авторежима 5.7 Отсутствие установочных болтов опорной балки или крепления контактной планки под авторежим

 не более 1  не более 3  не более 30 в сторону тормозного цилиндра   не допускается  не допускается

 не допускается  не допускается  от вертикали в сторону надрессорной балки 5 …25 не допускается  не допускается