Материал: Организация и планирование производства. конспект лекций. Уколова А.В., Чернушкин О.А

Внимание! Если размещение файла нарушает Ваши авторские права, то обязательно сообщите нам

35

Рис. 4.4. Пример графика производственного процесса изготовления ж/б изделий конвейерным способом на восьми рабочих постах с ритмом выпуска 20 мин., ТВО – 9 час.

36

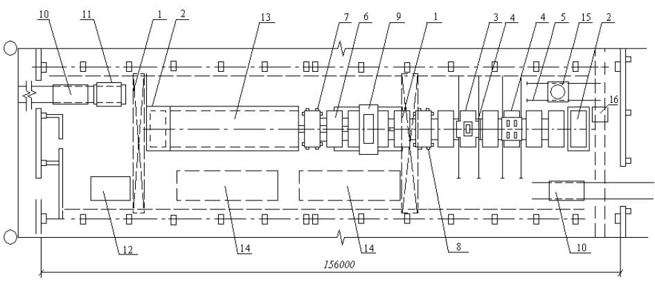
1 - кран мостовой электрический; 2 - подъемник – снижатель; 3 - виброплощадка; 4 – бетоноукладчик; 5 - механизм передвижения форм - вагонеток; 6 - форма - вагонетка; 7 - механизм открывания бортов; 8 - механизм закрывания бортов; 9 – установка для электронагрева стержней; 10 – тележка самоходная; 11 – штабелер; 12 – стенд сборочно – контрольный; 13 – камера ТВО; 14 – площадка для промежуточного складирования предметов труда; 15 – самоходная тележка с бункером для бетонной смеси; 16 – раздатчик бетонной смеси.

Рис. 4.5. Пример компоновки технологической линии по производству комплексных плит покрытий (по конвейерной технологии)

Рис. 4.6. Пример компоновки одного из пролетов завода железобетонных изделий и конструкции для сельскохозяйственного строительства

Однако практически в процессе производства (и на этапе конструкторской, и на этапе технологической подготовки производства) возникает необходимость различных экспериментальных работ.

Конструктор не может запустить в серию изделия, не проверив свои решения и расчеты на опытных образцах и выполнить их доводки. В ходе проверки, как правило, обнаруживаются конструктивные недостатки и имеется возможность их устранения, что при серийном выпуске привело бы к большим потерям.

Чрезвычайно важна также опытная проверка новых или усовершенствованных технологических процессов. Без этого этапа удлиняется цикл освоения и увеличиваются затраты живого труда. Конечно, экспериментальным проверкам предшествует этап научно-исследовательских разработок.

5.2.Организация научно-исследовательских работ

НИР подразделяются на следующие:

-теоретические поисковые, в которых не ставятся конкретные практические задачи. Они предназначены для создания новых идей;

-теоретические фундаментальные - целенаправленные исследования, в которых кроме основной цели часто достигаются побочные результаты;

-прикладные, имеющие целью обеспечить создание конкретных изделий. Теоретические и экспериментальные исследования состоят из несколь-

ких этапов. Основные из них следующие:

1теоретические разработки, в процессе которых проверяют научные и технические идеи, для чего изучают и анализируют существующую документацию, литературные источники, аналоги и др., разрабатывают методику исследований, схемы, теоретические обоснования, расчеты, выявляют необходимость экспериментальных работ, составляют методику их проведения. Большую роль в успешном проведении исследований, требующих экспериментальной проверки, играет планирование эксперимента;

2проектирование, изготовление макетов и экспериментальных образцов;

3экспериментальные работы, осуществляются, как правило, в экспериментальных цехах или опытном производстве. В результате экспериментов устанавливается степень соответствия полученных данных расчетам и теоретическим выводам, по результатам вносятся исправления в разработанные схемы, расчеты, проекты.

Важным этапом в научно-исследовательских разработках является оформление НИР. Составляется отчетная документация, включая материалы по новизне и целесообразности использования результатов НИР, по экономической эффективности разработок. На этой стадии может быть создан проект на опытно-конструкторские работы (ОКР) по итогам проведенных исследований.

Заключительным этапом НИР является приемка темы. Проводится, как правило, путем обсуждения и утверждения результатов (технического

38

отчета) на научно-техническом совете данной организации и подписании акта заказчиком о принятии НИР.

5.3.Организация изобретательской и рационализаторской работы

В обеспечении высоких темпов научно-технического прогресса немалая заслуга изобретателей и рационализаторов.

Изобретательство и рационализаторство - важные факторы научнотехнического прогресса повышения производительности труда, совершенствования средств производства и выпускаемой продукции.

Действующие у нас и во всем мире законы предусматривают систему мер по охране авторских прав, патентных открытий и изобретений. Законы предусматривают также выдачу награждений и поощрений авторам.

Изобретением признается новое и обладающее существенным отличием техническое решение задачи, дающее положительный эффект. В качестве положительного эффекта может выступать как экономический, так и другой - улучшение условий труда, эксплуатационных качеств, повышение надежности и т. д.

Идея не может быть изобретением, должно быть разработано конкретное воплощение ее, обеспечивающее подтвержденную воспроизводимость эффекта. Изобретение может относиться к новым способам, веществам, конструкциям или новому их использованию (неизвестному в мировой практике). Не могут считаться изобретением методы, системы организации и управления хозяйством, правила поведения, проекты сооружений, зданий, методы обучения и т. д. Автор изобретений имеет право на предоставление ему льгот, предусмотренных законодательством.

Рационализаторским считается предложение, улучшающее производственный процесс или его экономическую эффективность. Сюда относятся предложения по усовершенствованию техники, продукции, технологии, организации производства, способов контроля, техники безопасности и охраны труда.

Рацпредложение должно относиться к области производственнотехнических задач, давать их решение, предоставлять либо результат самостоятельной разработки авторов, либо переработку заимствованного решения для конкретных условий, не повторять ранее поданных на данном предприятии предложений (или уже использованных), быть полезным для предприятия.

5.4.Организация конструкторской подготовки производства

Эта подготовка включает стадии разработки технического задания, технического проекта и рабочих чертежей.

В техническом задании обосновываются целесообразность и эффективность создания нового изделия, новой технологической линии. Оно устанавливает

39