Материал: Общая физика_под ред. Белокопытова_2016 -506с

Внимание! Если размещение файла нарушает Ваши авторские права, то обязательно сообщите нам

ракцией на щели, по аналогии с формулой (27.4), вводится отношение b2 / (Lλ). Оно приближенно равно числу открытых зон Френеля m

для точки, лежащей против середины щели: m = b2 / (Lλ).

При небольших расстояниях экрана от щели (когда m >> 1) картина подчиняется экранам геометрической оптики — на экране получается равномерно освещенное изображение щели.

Если щель открывает малую долю первой зоны Френеля (m << 1, что соответствует п. в) наблюдается дифракция Фраунгофера.

Если щель открывает небольшое число зон Френеля (m ≈ 1, а каждое из отношений b/λ и L/b равно, например, 100, что соответствует п. г), на экране присутствует изображение щели. На краю изображения наблюдаются очень узкие чередующиеся светлые и темные полосы.

2. На щель падает белый свет.

В этом случае каждый максимум дифракционной картины кроме центрального представляет собой спектр, в котором ближе к центру всей картины наблюдаются цвета, соответствующие более коротким длинам волн видимого диапазона. На ближнем к центру краю максимума присутствует фиолетовый цвет, на дальнем — красный.

Пример 27.3. На круглое отверстие радиусом R = 1 мм в непрозрачной тонкой пластине падает нормально плоская световая волна (λ = 500 нм). На пути лучей, прошедших отверстие, помещают экран. Определите максимальное расстояние b от отверстия до экрана, при котором в центре дифракционной картины (в точке Р ) еще будет наблюдаться темное пятно.

Результат дифракции для центра дифракционной картины (точки Р) зависит от того, сколько зон Френеля для данной точки наблюдения Р уложится на отверстии (рис. 27.31). Если число зон m нечетное, в точке Р присутствует максимум, если число зон m четное — минимум. Чем дальше точка Р находится от отверстия, тем больше радиус

 

Пластина

 

 

 

 

λ

Экран

R

b+2

λ

A

 

2

b+ 2

 

 

b

P

O

Рис. 27. 31

396

вспомогательных сфер, разбивающих волновую поверхность в пределах отверстия на зоны Френеля, и тем меньше зон Френеля уложится на отверстии.

Условие задачи требует минимальности числа зон m и максимальности значения b для наблюдения минимума в точке Р. Этому усло-

вию отвечает m = 2. Из

ОАР имеем:

 

 

 

R

2

+ b

2

=

 

b + 2

λ

 

2

 

 

 

----

 

.

 

 

 

 

 

 

2

 

Решая уравнение относительно b и полагая, что λ2 ≈ 0, получаем: b = R 2 / λ = 2 м.

Пример 27.4. На круглое отверстие диаметром d = 2R = 4 мм в тонкой непрозрачной пластине падает нормально плоская световая волна (λ = 500 нм). Точка наблюдения Р находится на оси отверстия на расстоянии b = 1 м от него. Сколько зон Френеля укладывается на отверстии. Что будет наблюдаться в центре дифракционной картины (в точке Р ) — максимум или минимум дифракции?

На рис. 27.32 представлены: кратчайшее расстояние b от отверстия до точки наблюдения Р, радиус отверстия R (он же радиус самой последней m-й зоны, укладывающейся на волновой поверхности в

пределах отверстия), и радиус

 

λ

 

самой большой вспомога-

 

b + m ----

 

 

2

 

тельной сферы, разбивающей отверстие (волновую поверхность) на зоны Френеля. Три отрезка прямых ОР, ОА и АР, которые представ-

 

 

Пластина

 

A

R

b+m

λ

 

2

 

 

 

O P b

Рис. 27. 32

397

ляют собой вышеперечисленные параметры, образуют

ОАР. Из него

следует:

 

 

 

 

 

 

 

 

 

R

2

+ b

2

=

 

λ

 

2

(27.15)

 

 

 

b + m ----

 

,

 

 

 

 

 

2

 

 

Решение уравнения (27.15) (с учетом, что λ2 ≈ 0) приводит к результату

m =

R

2

=

d 2

= 8 .

------

---------

 

b

λ

 

4bλ

 

Число зон m четное. Поэтому в центре дифракционной картины наблюдается минимум.

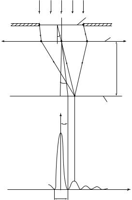
Пример 27.5. На щель шириной b = 0,15 мм падает нормально плоская волна (λ = 450 нм). С помощью линзы, оптическая сила которой D = 5 дптр, дифракционная картина проецируется на экран, находящийся в фокальной плоскости линзы. Определите ширину центрального максимума и угловое положение первого максимума. Какое число максимумов теоретически включает дифракционная картина и какое число из них можно наблюдать практически?

Из рис. 27.33, а видно, что дифрагирующие под углом ϕ лучи ВD и ЕК параллельны один другому и побочной оси СА. Именно под этим углом ϕ в точке А наблюдается первый максимум, интенсивность которого равна I1. В общем случае положение максимума при

дифракции на щели определяет формула (27.13)

b sin ϕ

λ

 

 

= ± (2m + 1) ---- ,

 

 

 

2

 

 

где по условию задачи m = 1. Поэтому sin ϕ =

(находим положе-

------

 

 

2b

 

ние максимума по одну сторону от центрального максимума — максимума нулевого порядка, поэтому знак «–» в формуле (27.13) опускаем), или

=

0,26°.

ϕ = arcsin ------

2b

 

 

Полное число максимумов, которое теоретически можно получить из формулы (27.13) при условии, что | sin ϕ | = 1:

m =

b

1

---- ---- ≈ 333 .

 

λ

2

Но практически наблюдать их все невозможно, так как уже интенсивность третьего максимума составляет 8/1000 интенсивности центрального максимума (рис. 27.33, б) I0 : I1 : I2 : I3 = 1 : 0,045 : 0,016 : 0,008,

398

 

b

B

Щель

 

 

E

ϕ С

Линза

K

D

 

F

ϕ1

М

N

A

а)

Экран

I

 

h

 

I0

 

I1

I2 I3

б)

X

H

Рис. 27. 33

где I0, I1, I2, I3 соответственно интенсивности центрального, первого, второго и третьего максимумов.

Для определения ширины центрального максимума Н рассмотрим МСN (рис. 27.33, а). Из треугольника получаем :

h = F tg ϕ1,

где F — фокусное расстояние собирающей линзы (предполагается, что линза вплотную располагается к щели, поэтому F является одновременно и расстоянием от щели до экрана, а угол ϕ1 является углом,

под которым наблюдается первый минимум).

В силу симметрии картины

H = 2h = 2F tg ϕ1.

(27.16)

399

Для малых углов дифракции

 

 

tg ϕ1 ≈ sin ϕ1.

(27.17)

Условием минимума является соотношение (27.14):

b sin ϕ

 

λ

,

1

= ± 2k ----

 

2

 

здесь по условию k = 1.

Из уравнений (27.14), (27.16), (27.17) с учетом, что F = 1 / D, имеем (знак « – » в формуле (27.14) опускаем):

H = -bD------ = 1,2 мм.

27.8. Дифракция от N щелей (дифракционная решетка)

Прозрачная дифракционная решетка, работающая на пропускание света, представляет собой чередование большого числа прозрачных и непрозрачных промежутков — щелей (рис. 27.34). Расстояние между серединами соседних, прозрачных щелей называется периодом решетки d.

Предположим, что на дифракционную решетку падает плоская монохроматическая волна. Рассмотрим соответственные лучи, дифрагирующие под углом ϕ и идущие от одинаковых точек щелей. Эти лучи собираются линзой на экране в точке наблюдения Р. Так как колебания, приходящие в точку наблюдения являются когерентными,

Дифракционная

 

 

решётка

b

d

=dsinϕ

ϕ

Линза

ϕ

Экран

P

0

Рис. 27. 34

400