Материал: Москатов Электроника 2010

Внимание! Если размещение файла нарушает Ваши авторские права, то обязательно сообщите нам

76Москатов Е. А. Электронная техника. Начало. http://moskatov.narod.ru

5.Полевые транзисторы

5.1.Общие сведения о полевых транзисторах

Полевым транзистором именуют такой компонент, через который под влиянием продольного электрического поля протекает ток, обусловленный движением носителей заряда сугубо одного типа. Так как принцип действия полевых транзисторов основан на перемещении основных носителей заряда одного типа проводимости, такие компоненты ещѐ называют униполярными.

Затвором называют вывод полевого транзистора, к которому подводят напряжение от устройства управления. Следует подчеркнуть, что управление полевыми транзисторами осуществляют напряжением, а биполярными транзисторами – током. Истоком именуют вывод, который обычно служит источником поступления в транзистор носителей заряда от устройства электропитания. Стоком называют вывод компонента, через который носители заряда покидают транзистор. Перемещение основных носителей заряда от истока к стоку происходит по области, которая носит название канала полевого транзистора. Каналы у полевых транзисторов могут быть как электронного, так и дырочного типов проводимостей. Носителями заряда в полевых транзисторах n-типа выступают электроны, а в приборах p-типа – дырки. Полевые транзисторы классифицируют на приборы с управляющим переходом и с изолированным затвором, причѐм последние подразделяют на транзисторы со встроенным каналом и приборы с индуцированным каналом.

К основным параметрам полевых транзисторов причисляют входное сопротивление, внутреннее сопротивление транзистора, также называемое выходным, крутизну стокозатворной характеристики, напряжение отсечки и другое. Входное сопротивление тран-

77 Москатов Е. А. Электронная техника. Начало. http://moskatov.narod.ru

зистора – это отношение приращения напряжения затвор-исток и приращению тока затвора. Внутреннее сопротивление транзистора – это отношение приращения напряжения сток-исток к приращению тока стока при заданном напряжении затвор-исток. Крутизна стокозатворной характеристики – это отношение приращения тока стока к приращению напряжения затвор-исток при фиксированном напряжении сток-исток.

5.2. Полевые транзисторы с управляющим переходом

5.2.1. Конструкция полевых транзисторов с управляющим переходом

Первый полевой транзистор с управляющим переходом теоретически были рассчитан Уильямом Шокли в 1952 году. Одна из разновидностей таких транзисторов – унитрон – представляет собой полупроводниковую пластину дырочного или электронного типов проводимостей. На еѐ торцы наносят токопроводящие плѐнки, к которым подключают выводы стока и истока, а широкие грани легируют для получения противоположного типа проводимости относительно проводимости пластины и подсоединяют к этим граням вывод затвора. Другая разновидность полевых транзисторов с управляющим переходом – текнетрон – может быть образован, например, стержнем из германия, к торцам которого подсоединяют выводы истока и стока, а вокруг стержня внесением индия выполняют кольцеобразный затвор [169, с. 67].

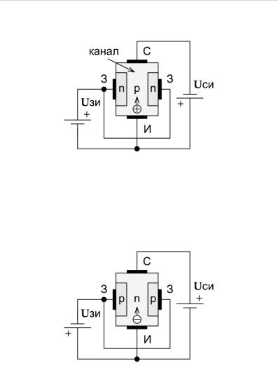
Упрощѐнная конструкция полевого транзистора с управляющим переходом и каналом p-типа проводимости изображена на рис. 5.1.

78 Москатов Е. А. Электронная техника. Начало. http://moskatov.narod.ru

Рис. 5.1. Конструкция полевого транзистора с управляющим переходом и каналом p-типа

Из рисунка видно, что канал возникает между двумя p-n переходами. Конструкция компонентов с каналом n-типа не имеет отличий от конструкции полевых транзисторов с каналом p-типа, что видно на рис. 5.2.

Рис. 5.2. Конструкция полевого транзистора с управляющим переходом и каналом n-типа.

79 Москатов Е. А. Электронная техника. Начало. http://moskatov.narod.ru

Но в полевых транзисторах с каналом n-типа полупроводник, в котором возникает канал, обладает электронным типом проводимости, а области затвора имеют дырочную проводимость. Полевые транзисторы с каналом n-типа могут обладать лучшими частотными и температурными свойствами и образовывать шумы меньшей амплитуды, чем приборы с каналом p-типа.

5.2.2. Принцип действия полевых транзисторов с управляющим переходом

Принцип действия полевых транзисторов с управляющим переходом заключѐн в изменении площади сечения канала под воздействием поля, возникающего при подаче напряжения между затвором и истоком. Упрощѐнная структура полевого транзистора с управляющим переходом и каналом p-типа приведена на рис. 5.3.

Рис. 5.3. Структура транзистора с управляющим переходом и каналом p-типа

Пока между затвором и истоком не подано напряжение управления, под воздействием внутреннего поля электронно-дырочных переходов они заперты, сечение канала наиболее велико, его сопротивление низко, и ток стока транзистора максимален. Напряжение затвор-исток, при котором ток стока наиболее велик, называют напряжением насыщения.

80 Москатов Е. А. Электронная техника. Начало. http://moskatov.narod.ru

Если между затвором и истоком приложить небольшое напряжение, ещѐ немного закрывающее p-n переходы, то зоны, к которым подсоединѐн затвор, будут обеднены носителями заряда, размеры этих зон объѐмного заряда возрастут, частично перекрывая сечение канала, сопротивление канала возрастѐт, и сила тока стока станет меньше. Обеднѐнные носителями заряда области почти не проводит электрический ток, причѐм эти области неравномерны по длине пластины полупроводника. Так, у торца пластинки, к которому подключен вывод стока, обеднѐнные носителями заряда области будут наиболее существенно перекрывать канал, а у противоположного торца, к которому подсоединѐн вывод истока, снижение площади сечения канала будет наименьшим.

Если приложить ещѐ большее напряжение между затвором и истоком, то области, обеднѐнные носителями заряда, станут столь велики, что сечение канала может быть ими полностью перекрыто. При этом сопротивление канала будет наибольшим, а ток стока будет практически отсутствовать. Напряжение затвор-исток, соответствующее такому случаю, именуют напряжением отсечки.

К важнейшим характеристикам полевых транзисторов относят стокозатворную характеристику и семейство стоковых характеристик. Стокозатворная характеристика отражает зависимость силы тока стока от приложенного к выводам затвор-исток напряжения при фиксированном напряжении сток-исток. Это показано на рис. 5.4 для полевых транзисторов с управляющим переходом и каналами p-типа и n-типа проводимостей.