Материал: Моделирование и изготовление высокочастотного усилителя на МОП транзисторе

Внимание! Если размещение файла нарушает Ваши авторские права, то обязательно сообщите нам

С помощью современных программных обеспечений можно не только просчитывать готовые схемы, но синтезировать прибору внутри программ, использую электродинамические свойства приближенные к реальности. Развитие методов исследования нелинейных устройств позволяет быстро и точно просчитывать многие электродинамические эффекты возникаемые в высокочастотных схемах. Одним из наиболее мощных инструментов моделирования высокочастотных и сверхвысокочастотных схем является AWR Microwave Office.

Внешний вид программы имеет стандартный стиль Windows программ. Сам проект содержит электрические схемы, подсхемы, графики измеренных параметров, топологию и другие данные, рисунок 2.2.1.

Рис. 2.2.1. Внешний вид программы Awr Microwave office

Панели разбиваются на три пункта: Project - содержит все данные и файлы проекта, Elements - содержит все элементы для формирования схем, Layout - содержит в себе топологию проекта.

В папке Circuit Schematics хранится файл созданной схемы. В папке Graphs - находится графики и измеренные параметры. Графики могут быть представлены в различных форматах: прямоугольные, полярные, в виде диаграммы Смита и другие. Во вкладке меню Project Options есть возможность изменить диапазон частот, на которых будет происходить измерение, рисунок 2.2.2.

В данной программе используются метод объединения матриц, которые рассчитываются с помощью теории цепей, что позволяет программе стать на новый уровень. Программа позволяет просчитывать и строить графики для многих параметров таких как:

.        Матрицы S, Z,H,Y,G параметров;

.        Коэффициенты усиления и устойчивости;

.        Электродинамические параметры и др.

Рис 2.2.2 Вкладка меню Project Options

Также следует описать те элементы, которые будут использоваться для моделирования усилителя. Описания элементов взяты с сайта #"902724.files/image088.gif">

Рис 2.2.3 Символ элемента TLIN

Таблица 2.2.1 Параметры элемента TLIN

Имя

Описание

Тип данных

По умолчанию

ID

Имя

Текст

TL1

Z0

Импеданс линии

Сопротивление

50 Om

EL

Электрическая длина на частоте F0

Угол

900

F0

Используемая частота для EL

Частота

10 GHz


·        MLIN - элемент моделирует реальную линию, которая учитывает потери на диэлектрике и емкостные потери. Параметры элементра представлены в таблице 2.2.2.

Таблица 2.2.2 Параметры элемента MLIN

Имя

Описание

Тип данных

По умолчанию

ID

Имя

Текст

TL1

W

Ширина линии

Длина

W

L

Длина линии

Длина

L

MSUB

Подложка

Текст

MSUB#


Рис. 2.2.4 Символ и топология элемента TLIN

·        MSUB - элемент моделирующий подложку на которой находится микрополосковая линия. Параметры приведены в таблице

Таблица 2.2.3 Параметры элемента MSUB

Имя

Описание

Тип данных

По умолчанию

Er

Относительная диэлектрическая проницаемость

Число

Er

H

Толщина подложки

Длина

H

T

Толщина проводника

Длина

T

Rho

Объемное сопротивление, приведённое к золоту

Число

Rho

Tand

Тангенс угла потерь диэлектрика

Число

0

Номинальная относительная диэлектрическая проницаемость

Число

Er

Name

Имя подложки

Текст

SUB


Рис 2.2.5 Символ и описание параметров элемента MSUB

·        MTEE$ - элемент для разветвления микрополосковых линий. Как видно по рисунку 2.2. 6, этот элемент имеет три узла, к которым подключаются микрополосковые линии. Ширина каждого узла принимается в зависимости

Рис 2.2.6 Символ элемента MTEE$

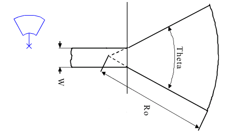
·        MRSTUB2W - элемент моделирует высокочастотные заглушки, которые завершают микрополосковые линии.

Имя

Описание

Тип данных

По умолчанию

ID

Номер элемента

Текст


W

Ширина контактирующей линии

Длина


R0

Внешний радиус

Длина


Theta

Угол заглушки

Угол


MSUB

Подложка

Текст



Рис 2.2.6 Символ и топология элемента MRSTUB2W

Программа AWR предоставляет широкий спектр инструментов по оптимизации. Параметры элемента можно оптимизировать вручную. Для этого необходимо воспользоваться инструментом Tune Tool, который выбирает те параметры что будут оптимизироваться в панели инструментов. Следующим шагом является использование инструмента Tune, который выводим ползунки для каждого выбранного параметра. Изменяя положения ползунка, меняется значение параметра с выбранным шагом, рисунок 2.2.7. Программа просчитывает автоматически схемы и результаты выводит на графики, с помощью которых подбирается необходимые параметры схемы.

Рис 2.2.7 Ручная оптимизация в AWR Microwave Office

В программе реализован расчет волнового сопротивления микрополосковых линий. Эта функция появляется после установки улиты TXLine. В TXLine есть возможность просчитывать волновое сопротивление таких элементов как симметричные микрополосковые линии, несимметричные микрополосковые линии, копланарные линии, копланарные круглые коаксиальные линии, щелевые линии и др. Общий вид программы представлен на рисунке 2.2.8.

Рис. 2.2.8 программа для расчета волнового сопротивления TXLine

 позволяет зная параметры линии, такие как импеданс, рабочая частота, электрическая длина линии, находить параметры реальной микрополосковой линии.

2.3 Описание тестового транзистора


В качестве тестового МОП транзистора была взята модель BF998. Описание МОП транзистора взято из технической спецификации[15]. Транзистор произведен компанией NXP Semiconductor. Он имеет короткий канал и высокий прямой адмиттанс по отношению к входной емкости. Вплоть до 1 ГГц транзистор имеет низкий уровень шумов. Область применения этого транзистора: ВЧ и СВЧ приборы с питание до 12 В, такие как профессиональное коммуникационное оборудование и телевизионные тюнеры. Транзистор помещен в пластмассовый корпус типа SOT143B. Транзистор защищен от скачков напряжений с помощью интегрированных диодов, которые направлены друг к другу между затвором и истоком, рисунок 2.2.1.

Рис. 2.2.1 Схема транзистора BF998, вид сверху

Таблица 2.2.1 Номера пинов

PIN

Символ

Описание

1

s, b

Исток

2

d

Сток

3

g1

Затвор 1

4

g2

Затвор 2

Таблица 2.2.2 Общие характеристики BF998

Символ

Параметры

TYP.

MAX.

Ед. измерения






VDS

Напряжение сток истока


12

V

ID

Ток стока


30

mA

Ptot

Общая потребляемая мощность


200

mW

yfs

Адмитанс прямой передачи

24


mS

Cig1-s

Входная емкость на затворе 1

2.1


pF


Таблица 2.2.2 Ограничения BF998

Символ

Параметры

MIN.

MAX.

Ед. измерения

IG1

Ток на затворе 1


10

mA

IG2

Ток на затворе 2


10

mA

Ptot

Максимальная мощность


200

mW


Таблица 2.2.3 Статические характеристики BF998

SYMBOL

Параметры

УСЛОВИЯ

MIN.

MAX.

Ед. изм.







V(BR)G1-SS

Напряжение пробоя на затворе 1

VG2-S = VDS = 0; IG1-SS = 10 mA

6

20

V

V(BR)G2-SS

Напряжение пробоя на затворе 2

VG1-S = VDS = 0; IG2-SS = 10 mA

6

20

V

V(P)G1-S

Напряжение отсечки на затворе 1

VG2-S = 4 V; VDS = 8 V; ID = 20 A


2.0

V

V(P)G2-S

Напряжение отсечки на затворе 2

VG1-S = 0; VDS = 8 V; ID = 20 A


1.5

V

IDSS

Ток сток истока

VG2-S = 4 V; VDS = 8 V; VG1-S = 0

2

18

mA

IG1-SS

Ток отсечки на затворе 1

VG2-S = VDS = 0; VG1-S = 5 V


50

nA

IG2-SS

Ток отсечки на затворе 2

VG1-S = VDS = 0; VG2-S = 5 V


50

nA


Таблица 2.2.4 Динамические характеристики

SYMBOL

PARAMETER

УСЛОВИЯ

MIN.

TYP.

MAX.

Ед. Изм.








yfs

forward transfer admittance

f = 1 kHz

21

24


mS

Cig1-s

Входная емкость затора 1

f = 1 MHz


2.1

2.5

pF

Cig2-s

Входная емкость затора 2

f = 1 MHz


1.2


pF

Cos

Выходная емкость

f = 1 MHz


1.05


pF

Crs

Обратная передаточная емкость

f = 1 MHz


25


fF


Таблица 2.2.1 S параметры МОП транзистора BF998


S параметры модели разработаны компанией SIEMENS AG Semiconductor Group, таблица2.2.2.

2.4 Измерение характеристик и параметров КМОП элемента


Для измерения статический характеристик bf998 был разработан и произведен тестовый образец, рисунок 2.4.1. Этапы подготовки:

·        Создание топологии тестового образца в программе Layout Sprint 6;

·        Перевод этой топологии на подложки из текстолита;

·        Травление платы;

·        Монтаж МОП транзистора на подложку и проводов для выхода на измерительные приборы.

Рис. 2.4.1 (а) Протравленный образец, (б) Спаянная плата

Для измерения статических характеристик был использован прибор Keytley 2400. Он позволяет одновременно подавать и снимать напряжение и ток с двух каналов. Генератор постоянного тока был подключен ко второму затвору и подавал напряжение 4 В на затвор 2. Сток-затворная и выходная характеристики представлены на рисунках 2.4.2 и 2.4.3 соответственно.

Условия измерения сток-затворной характеристики:

·        Напряжение на затворе 1: от -0.5 В до 0.5 В с шагом 0.1;

·        Напряжение на затворе 2: 4 В;

·        Напряжение стоке: от 0 В до 7 В с шагом 0.1 В;

·        Ограничения по мощности: 200 Вт;

·        Температура измерения: 300 K.

Рис. 2.4.2 Сток-затворная характеристика BF998

Условия измерения выходной характеристики:

·        Напряжение на затворе 1: от -1 В до 0.6 В с шагом 0.05;

·        Напряжение на затворе 2: 4 В;

·        Напряжение стоке: от 0.05 В до 4 В с шагом 0.79 В;

·        Ограничения по мощности: 200 Вт;

·        Температура измерения: 300 K.

Рис. 2.4.2. Выходная характеристика BF998

2.5 Проектирование высокочастотного усилителя на МОП транзисторе с использованием S-параметров


При проектировании усилителя необходимо учитывать параметры МОП транзистора, на котором будет работать эта схема, поэтому для этого необходимы S параметры МОП транзистора, которые описаны в таблице 2.2.1. Максимум усиления будет приходиться на частоту 0.5 ГГц. Разработка будет проходить в программе AWR Microwave Office.

Для начала проектирования возьмем принципиальную схему, рисунок 2.5.1. Необходимо согласовать входной и выходные цепи с четырехполюсником, который является набором S параметров. Согласование может быть сделано двумя способами или введение в схему емкостных и индуктивных элементов или с помощью подбора микрополосковых линий, которые обеспечивают такой же эффект как и дискретные элементы. В данной работе будет использован усилитель на микрополосковых линиях. Схема усилителя взята из статьи “Design Of Low Noise Amplifier using AWR Microwave Office”[6].

Для того чтобы согласовать выходной импеданс кабеля и входной импеданс необходимо подобрать параметры микрополосковых линий усилителя. Для этой цели я воспользовался инструментами Tune и Tune Tools, которые были описаны в главе посвященной AWR Microwave Office.