|
|
МИНИСТЕРСТВО НАУКИ И ВЫСШЕГО ОБРАЗОВАНИЯ РФ |
|
|
|||||||||||||||||||||||||||||||||
Снежинский физико-технический институт – филиал ФГАОУ ВО «Национальный исследовательский ядерный университет «МИФИ» |
|||||||||||||||||||||||||||||||||||||
|
|
|
|
|
|
|
|
|
|
|
|
|
|
|
|
|
|||||||||||||||||||||
|
|
|
|
|
|
|
|
|
|
|
|
|
|
|
|
||||||||||||||||||||||
|
|
|
|
|
|
|
|
|
|
|
|
|
|
|
|
||||||||||||||||||||||
|
|
|
|
|
|
|
|
|
|
|
|
|
|
|
|
||||||||||||||||||||||
|
|
|
|
|
|
|
|
|
|
|
|
|
|
|
|
|
|
|
|
||||||||||||||||||
|
|
|
|
|
|
|
|
|
|
|
|
|
|
|
|
|
|
|
|
||||||||||||||||||
|
Кафедра технической механики |
|
|||||||||||||||||||||||||||||||||||
|
|
|
|
|
|
|
|
|
|
|
|
|
|
|
|
|
|
|
|
||||||||||||||||||
|
|
|
|
|
|
|
|
|
|
|
|
|
|
|
|
|
|
|
|
||||||||||||||||||
|
|
|
|
|
|
|
Паршукова Н.Ю. |
|
|
|
|
|
|
|
|||||||||||||||||||||||
|
|
|
|
|
|
|
|
|
|
|
|
|
|
|
|
|
|
|
|
||||||||||||||||||
|
|
Методическое пособие по курсу “Детали машин и основы конструирования”
Пример выполнения курсовой работы
|
|
|
|||||||||||||||||||||||||||||||||
|
|
|
|
||||||||||||||||||||||||||||||||||
|
|
|
|
||||||||||||||||||||||||||||||||||
|
|
|
|
||||||||||||||||||||||||||||||||||
|
|
|
|
||||||||||||||||||||||||||||||||||
|
|
|
|
|
|
|
|
|
|
|
|
|
|
|
|
|
|
|
|
||||||||||||||||||
|
|
|
|
|
|
|
|
|
|
|
|
||||||||||||||||||||||||||
|
|
|
|
|
|
|
|
|
|
|
|
|
|
|
|
|
|
|
|
||||||||||||||||||
|
|
|
|
|
|||||||||||||||||||||||||||||||||
|
|
|
|
|
|
|
|
|
|
|
|
|
|
|
|
|
|
|
|
||||||||||||||||||
|
|||||||||||||||||||||||||||||||||||||
|
|
|
|
|
|
|
|
|
|
|
|
|
|
|
|
|
|
|
|
||||||||||||||||||
|
|
|
|
|
|
|
|
|
|
|
|
|
|
|
|
|
|
|
|
||||||||||||||||||
|
|
|
|
|
|
|
|
Снежинск 2018 |
|
|
|
|
|
|
|
|
|||||||||||||||||||||
|
|
|
|
|
|
|
|
|
|
|
|
|
|
|
|
||||||||||||||||||||||
|
|
|
|
|
|
|
|
|
|
|
|
|
|
|
|
||||||||||||||||||||||
|
|
|
|
|
|
|
|
|
|
|
|
|
|
|
|||||||||||||||||||||||
УДК 531.8
Паршукова Н.Ю. Методическое пособие по курсу “Детали машин и основы конструирования” Пример выполнения курсовой работы. - Снежинск: СФТИ НИЯУ МИФИ. 2018.- 38 с.
|
|||||||||||||||||||||||||||||||||||||
Представлен пример выполнения курсовой работы по курсу “Детали машин и основы конструирования”. Рассмотрено типовое задание расчета привода транспортера.
|
|||||||||||||||||||||||||||||||||||||
Рецензент: зав.лабораторией Жарков В.В.
|
|||||||||||||||||||||||||||||||||||||
Утверждено на заседании кафедры технической механики 04.04.2016 . |
|||||||||||||||||||||||||||||||||||||
Одобрено учебно-методическим советом СФТИ НИЯУ МИФИ 15.04.2016г. |
|||||||||||||||||||||||||||||||||||||
|
|
|
|
|
|
|
|
|
|
|
|
|
|
|
|
|
|
|
|
||||||||||||||||||
|
|
|
|
|
|
|
|
|
|
|
|
|
|
|
|
|
|
|
|
||||||||||||||||||
|
|
|
|
|
|
|
|
|
|
|
|
|
|
|
|
|
|
|
|
||||||||||||||||||
|
|
|
|
|
|
|
|
|
|
|
|
|
|
|
|
|
|
|
|
||||||||||||||||||
|
|
|
|
|
|
|
|
|
|
|
|
|
|
|
|
|
|
|
|
||||||||||||||||||
|
|
|
|
|
|
|
|
|
|
|
|
|
|
|
|
|
|
|
|
||||||||||||||||||
|
|
|
|
|
|
|
|
|
|
|
|
|
|
|
|
|
|
|
|
||||||||||||||||||
© СФТИ НИЯУ МИФИ, 2018 |
|||||||||||||||||||||||||||||||||||||
Введение……………………………………………………………………… 4
Техническое задание…………………………………………………….….... 5
1 Выбор электродвигателя и расчет силовых и кинематических парамет-ров цепного транспортера……………………………………………….……6
2 Расчет быстроходной цилиндрической косозубой передачи редуктора.. 9
3 Расчет тихоходной цилиндрической косозубой передачи редуктора…. . 18
4 Расчет быстроходного вала………………………………………………... 27
5 Расчет промежуточного вала……………………………………………… 28
6 Расчет тихоходного вала…………………………………………………... 29
7 Подбор смазки……………………………………………………………... 30
Заключение…………………………………………………………………… 31
Список литературы…………………………………………………………... 32
Приложение А ………..………………………………………………... 33
Приложение Б …………………………………………………………… 34
Цель курсовой работы: спроектировать привод цепного транспортера, а именно: разработать общий вид привода, редуктор. Объем графической части зависит от специальности и оговаривается при выдаче технического задания.
Привод состоит из электродвигателя, муфты, редуктора, рамы, муфты предохранительной и тяговых звездочек.
Расчет редуктора включает в себя:
- Выбор электродвигателя и расчет силовых и кинематических параметров цепного транспортера;
- Расчет передачи:
- Расчет быстроходной цилиндрической косозубой передачи редуктора;
- Расчет тихоходной цилиндрической косозубой передачи редуктора;
- Расчет валов:
- Расчет быстроходного вала;
- Расчет тихоходного вала;
- Расчет промежуточного вала.
С
проектировать
привод цепного транспортера
1. Электродвигатель;
2. Муфта;
3. Редуктор;
4. Рама;
5. Муфта предохранительная;
6. Тяговые звездочки.
(
Р-шаг;
Z-число
зубьев звездочки)
Ц
епь
№-2-р-1 (ГОСТ 588-74)
F1 – Натяжение ведущих ветвей цепи;
F2 – Натяжение ведомых ветвей цепи;
Ft=F1-F2 – Окружное усилие на двух звездочках;
V – Скорость цепи транспортера.
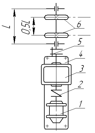
С
хема
редуктора
(валы в вертикальной плоскости)
F2≈0,25F1; L≈2Н
Срок службы – 5 лет.
Типовой режим нагружения №
Коэф. использования: Ксут. = 0,33
Кгод. = 0,82
В муфте 5 предусмотреть предохранительное устройство. Tmax≈1,25Tпуск.
Окружное усилие на двух звездочках Ft=4,5 кН; скорость цепи транспортера V=0,6 м/с; шаг тяговой цепи Р=125 мм; число зубьев звездочки Z=8; № цепи М20.
Разработать:
1. Общий вид привода;
2. Редуктор;
3. Рабочие чертежи деталей.
Примечание: Проанализировать влияние на массу редуктора передаточного отношения, его распределения между ступенями, твердости рабочих поверхностей и относительной ширины колес.
1.1 Потребляемая мощность цепного транспортера
(1.1)
где Ft=4,5×103 Н – окружное усилие на двух звездочках;
V=0,6 м/с – скорость цепного транспортера.
1.2 Определение КПД привода цепного транспортера
(1.2)
где ηм=0,98 – КПД муфты;
ηц.п=0,92 – КПД цепной передачи;
ηп.к=0,99 – КПД подшипников качения;
ηз.п=0,96 – КПД зубчатой передачи.
1.3 Определение требуемой мощности электродвигателя
(1.3)
где Pзв=2,7 кВт – мощность на цепи транспортера;
ηобщ=0,79 – общий КПД привода.
1.4 Предварительное определение частоты вращения приводного вала
(1.4)
где V=0,6 м/с – скорость цепи транспортера.
(1.5)
где D0 – диаметр делительной окружности звездочки;
Р=125 мм - шаг тяговой цепи;
z=8 - число зубьев.
Подставим полученные данные в формулу (1.4):
1.5 Выбор передаточных чисел для тихоходной и быстроходной ступеней редуктора в соответствии с твердостью зубьев ([2] табл.5 прил.Л)
iт.рек=3,8 – рекомендуемое передаточное число тихоходной ступени;
iб.рек=5,6 – рекомендуемое передаточное число быстроходной ступени.
т.е. ориентировочная частота вращения электродвигателя равняется:
1.6 Выбор электродвигателя производится согласно предварительному расчету
Выбираем двигатель АИР 112МВ6/950 ТУ 16 – 525.564 – 84 ([1] табл.24.9.)
Мощность двигателя – 4 кВт;
Синхронная частота вращения – 1000 мин-1;
Номинальная частота вращения – 950 мин-1;
Tmax/Tmin=2,2
1.7 Уточняющий расчет общего передаточного числа редуктора
(1.6)
где nдв=950 об/мин – номинальная частота вращения двигателя;
nв=35,1 об/мин – частота вращения приводного вала транспортера.
1.8 Определение вращающих моментов на валах привода
- частота вращения вала быстроходной ступени:
nдв= nб =950 об/мин
- передаточное число быстроходного вала:
- частота вращения промежуточного вала редуктора:
- передаточное число тихоходного вала:
- частота вращения тихоходного вала:
1.9 Определение вращающих моментов на валах
- на приводном валу:
(1.7)
где Ft=4,5×103 Н – окружное усилие на двух звездочках;
D0=326,63 мм – диаметр делительной окружности звездочек.
- на тихоходном валу редуктора:
(1.8)
где ηм=0,98 – КПД муфты;
ηц.п=0,92 – КПД цепной передачи;
ηп.к=0,99 – КПД подшипников качения;
ηз.п=0,96 – КПД зубчатой передачи.
- на промежуточном валу:
(1.9)
где iт=4,23 - передаточное число тихоходной ступени.
- на быстроходном валу:
(1.10)
где iб=6,4 - передаточное число быстроходной ступени.
- на валу электродвигателя:
(1.11)