Материал: Механика материалов. Методы и средства экспериментальных исследований

Внимание! Если размещение файла нарушает Ваши авторские права, то обязательно сообщите нам

Рис. 5.14. Проведение испытания с использованием цифровой оптической системы

Перед началом испытания необходимо произвести калибровку камер. Процесс калибровки включает в себя сбор серии снимков калибровочной таблицы в различных положениях (повороты вокруг трех осей).

II. Проведение испытаний с видеофиксацией Механические испытания образцов на одноосное растя-

жение проводить со скоростью удлинения 3,3 103 мм/с на испытательной машине совместно с использованием цифровой оптической системы анализа полей перемещений и деформаций Vic-3D с максимальной частотой кадров.

III. Обработка полученных результатов

С помощью цифровой оптической системы необходимо получить поля продольных εyy, поперечных εxx, сдвиговых εxy деформаций и интенсивности εи для пластин с проточками раз-

136

личных ориентаций, зафиксировать процесс эволюции трещины и момент макроразрушения пластин.

Таблица 5 . 8

Значения компонент деформаций εxx, εyy, εxy в точке возникновения трещины

для пластин с проточкой различной ориентации

Номер образца

Угол α

εyy, %

εxx, %

εxy, %

1

 

 

 

 

2

 

 

 

 

3

 

 

 

 

 

 

 

 

В результате проведения испытаний записать в табл. 5.8 значения компонент деформаций εxx, εyy, εxy, соответствующие напряженно-деформированному состоянию в точке возникновения трещины для пластин с проточкой различной ориентации.

5.5. ИССЛЕДОВАНИЕ ХАРАКТЕРИСТИК УСТАЛОСТНОЙ ДОЛГОВЕЧНОСТИ

Цель работы

Знакомство с методикой проведения испытаний на малоцикловую усталость (МЦУ).

Объект исследования

При проведении экспериментов на малоцикловую усталость используются сплошные цилиндрические образцы. Для обеспечения фиксации и исключения возможности проскальзывания образцов при испытаниях захватные части образцов выполняются в виде резьбовых головок. При выборе размеров образца следует учитывать, что при малоцикловой усталости помимо растягивающих усилий на него действуют сжимающие, которые могут приводить к потере устойчивости образца во время эксперимента. Чертёж образцов, предназначенных для испытаний на малоцикловую усталость, представлен на рис. 5.15.

137

Рис. 5.15. Чертёж образца для испытаний на малоцикловую усталость

Испытательная установка

Испытания на малоцикловую усталость проводятся на сервогидравлической испытательной системе Instron 8801 или на универсальной двухосевой испытательной системе Instron 8850 с использованием осевого экстензометра.

Содержание работы

Перед началом экспериментов следует произвести замеры диаметра образца, как минимум, в трёх зонах рабочей части, выбрать из них минимальное значение, которое будет использоваться в дальнейших расчётах. Занести полученные данные в приведённую ниже табл. 5.9.

Таблица 5 . 9

Размеры образцов для испытаний на малоцикловую усталость

Номер

Маркировка

Диаметр

Диаметр

Диаметр

Наименьший

верхнейчасти

среднейчасти

нижнейчасти

диаметр

образца

образца

образцаd1, мм

образцаd2, мм

образцаd3, мм

dmin, мм

1

 

 

 

 

 

2

 

 

 

 

 

3

 

 

 

 

 

Выполнение эксперимента включает в себя четыре основных этапа:

1)подготовка к работе испытательного оборудования,

2)создание метода испытания намалоцикловуюусталость,

138

3)проведение испытания,

4)обработка результатов и подготовка отчёта.

Подготовка и проведение испытаний выполняются

только в присутствии инженера, обслуживающего испытательную систему.

I. Подготовка к работе испытательного оборудования Для подготовки к работе необходимо включить компьютер

иконтроллер испытательной машины, запустить программу управления Console, убедиться, что все датчики системы (датчики силы, экстензометр) подключены и откалиброваны. Затем включить маслостанциюипрогретьиспытательнуюмашинувтечениеодногочаса.

Перед проведением серии циклических испытаний для минимизации изгибных деформаций (изгибная деформация не должна превышать 5 % амплитуды минимальной деформации) необходимо проверить соосность силовой цепи с помощью устройства AlignPRO, юстировочного устройства и соответствующего программного обеспечения, позволяющего провести корректировку

посредством управления с графического дисплея компьютера. На рис. 5.16 представлена фотография юстировочного устройства сдатчиками осевых на-

пряжений Alignment Cell.

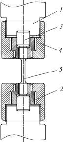
На следующем этапе подготовки к эксперименту образец необходимо установить в испытательную машину, как показано на рис. 5.17. Установку образцов нужно проводить в следующемпорядке:

Рис. 5.16. Юстировочное

– образец 5 вкручивается

в адаптер 2,

 

устройствоAlignment Cell

устанавли-

– в паз тяги 1

 

вается сухарь 3,

139

Рис. 5.17. Схема установки образца в захватах: 1 – тяга, 2 – адаптер, 3 – сухарь, 4 – накидная гайка, 5 – образец

– на установленный сухарь 3 надевается адаптер 2 с ввёрнутым в него образцом,

– адаптер 2 с образцом 5 и сухарь 3 фиксируется с помощью накидной гайки 4 на тяге 1.

В экспериментах на малоцикловую усталость в качестве параметра управления испытательной машиной используется полная амплитуда осевой деформации, контролируемая при комнатной температуре по динамическому датчику осевых деформаций. Перед испытаниями необходимо произвести настройку PID-параметров машины. Для этого проводятся пробные циклические нагружения с формой волныввиде треугольника, впроцессе которых подбирается коэффициент пропорциональности

для обеспечения соответствия величины заданной и реализуемой на испытательной машине амплитуды осевой деформации.

II. Создание метода испытания на малоцикловую усталость При проведении экспериментов на малоцикловую усталость используется компьютерная система сбора и анализа данных Low-Cycle Fatigue 3 (LCF 3). Программа позволяет в автоматическом режиме вычислять значения модуля Юнга на участках нагрузки и разгрузки, отслеживать петли гистерезиса зависимости осевого напряжения от полной осевой деформации и записывать их в соответствии с логарифмическим приростом

(т.е. с множителями 1, 2, 3…9, 10, 20, 30…90 и т.д.). На рис. 5.18

140