Материал: Курсовая работа

Внимание! Если размещение файла нарушает Ваши авторские права, то обязательно сообщите нам

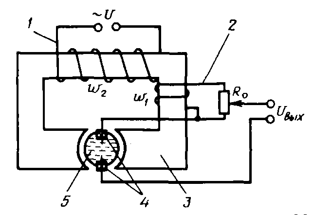
Рис. 3.2. Схема

индукционного расходомера:

1 − Обмотка электромагнита;

2 − Измерительная обмотка; 3 − магнитопровод; 4 − электроды; 5 − трубопровод

м3/(В∙ч).

При показании вольтметра U = 3 В расход будет равен

м3/ч.

3.2.3. Определение абсолютной погрешности измерения расхода по классу точности вольтметра

Абсолютная погрешность вольтметра класса точности 0,5 определяем по формуле

, (3.11)

где γ − приведенная погрешность вольтметра, %; ХN − нормирующее значение, В.

0,05 В

Абсолютная погрешность измерения расхода, с учетом цены деления вольтметра

= 10 м3/ч.

При расходе топлива Q = 225В относительная погрешность измерения составит

%.

3.2.4. Определение погрешности измерения расхода от сопротивления жидкости между электродами

Так как вольтметр подключается параллельно измерительной цепи расходомера, то

. (3.12)

Поэтому при показании вольтметра U = 1,6 В значение ЭДС в измерительной обмотке

В

Расход топлива, соответствующий E =3 В, определяем по эмпирической формуле:

, (3.13)

где В − магнитная индукция между полюсами магнита, Тл; S – площадь поперечного сечения трубопровода, м2.

Создаваемая цепью магнитная индукция величина постоянная ее можно определить при наибольших показаниях расходомера

; (3.14)

Тл. S=3.14*r^2 потом ответ умножить на 3600

Подставив полученное значение магнитной индукции в формулу (3.13), определим реальный расход топлива с учетом сопротивления жидкости между электродами

м3/ч. Ответ умножить 3600

Абсолютная погрешность измерения расхода составит

; (3.15)

м3/ч.

Результат измерения с учетом сопротивления жидкости между электродами и погрешность вольтметра запишем так:

Q = (233,4 ± 8,4) м3

4. Методы и средства измерения влажности вещества

Влажность воздуха, газовой среды и большинства веществ органического происхождения − важный параметр технологических процессов обработки.

Для измерения влажности воздуха в производственных и складских помещениях применяют психометрические и конденсационные влагомеры.

Конденсационный метод основан на определении относительной влажности по известным температурам воздуха и точки росы. Эти точка контролируется визуально или с помощью фотоэлектрических элементов.

Психрометрический метод наиболее распространен. Он основан на использовании зависимости относительной влажности воздуха от разности температур сухого и влажного термометров. Приборы, основанные на психрометрическом методе, оснащены двумя одинаковыми термометрам, один из которых постоянно влажный.

Рассмотрим методику решения задач на примере. Для определения влажности воздуха используется мостовая схема с термосопротивлениями, измеряющими температуру сухого и влажного воздуха. При температуре сухого термометра Тс равновесие моста происходит при добавлении переменного сопротивления Rx.

Требуется:

1. Изобразить схему мостового психрометра.

2. Определить относительную влажность воздуха.

3. Определить погрешность измерения влажности при наличии погрешности измерения термосопротивления в пределах заданного класса.

Исходные данные сводим в таблице 4.1.

Таблица 4.1

Исходные данные

Параметр

Обозначение

Значение

1. Температура сухого термометра Тс,

Тс

28 °С

2. Класс допуска ТС

С

3. Величина переменного сопротивления Rx,

Rx

2,1 Ом

4. Тип термосопротивления

ТСП 100

4.1. Схема мостового психрометра

Схема мостового психрометра приведена на рис. 4.1.

4.2. Определяем относительную влажность воздуха

Величина переменного сопротивления определятся по формуле:

, (4.1)

где Rс, Rм – сопротивление сухого и мокрого термосопротивлений.

И

Рис. 4.1. Схема мостового

психрометра

з формулы (4.1) получим

Rм = Rс – 2Rx. (4.2)

При температуре Тс = 10 °С термометр ТСП 100 будет иметь сопротивление

Rс = 110,9 Ом, тогда

Rм =110,9– 22,1 = 106,7Ом,

что соответствует температуре

Тм = 17,18 °С.

Пользуясь психрометрической таблицей (приложение, табл. П11), получим значение относительной влажности  = 34 %.

4.3. Определяем погрешность измерения влажности при наличии погрешности измерения термосопротивления в пределах заданного класса

Для класса допуска «С» ТСП имеет величину погрешности

= ± (0,6 + 0,001·Т), % (4.3)

В нашем случае

с =  (0,6 + 0,00128) = 0,88 %,

м =  (0,6 + 0,00117,18) = 0,77%.

Подставим величины сопротивлений в зависимость (4.1) для получения наибольшей разности

= 3 Ом.

Rм =110,9-2×3=104,9 Ом.

Следовательно, температура с учетом погрешности термосопротивления составит Тм =12,56 °С. Таким образом абсолютная погрешность измерения температуры мокрым термометром составит

м = 17,18 – 12,56 = 4,62°С.

Полученное значение свидетельствует о том, что в данном случае, погрешность, обусловленная классом точности применяемых термосопротивлений, не будет влиять на точность определения относительной влажности вещества.

Заключение

Проделав данную работу, мы делаем выводы об использовании средств измерений на практике. С их помощью можно легко определять состояние окружающей среды, продукта, что немало важно в промышленности. Полученные знания можно применять на практике, рассчитывать параметры приборов, модернизировать технологию производства.

Список литературы

1. ГОСТ Р 8.625–2006.  Государственная система обеспечения единства измерений. Термометры сопротивления из платины, меди и никеля. Общие технические требования и методы испытаний. – М.: Издательство стандартов, 2007.

2. ГОСТ Р 8.624–2006.  Государственная система обеспечения единства измерений. Термометры сопротивления из платины, меди и никеля. Методика поверки. – М.: Издательство стандартов, 2007.

3. ГОСТ Р 8.585–2001. Государственная система обеспечения единства измерений. Термопары. Номинальные статические характеристики преобразования. – М.: Издательство стандартов, 2002.

4. ГОСТ 8.338–2002. Государственная система обеспечения единства измерений. Преобразователи термоэлектрические. Методика поверки. – М.: Издательство стандартов, 2003.

5. Епанчинцева О.М., Ковальчук П.Б. Метрология и технические измерения: Лабораторный практикум. Часть первая. – Кемеровский технологический институт пищевой промышленности – Кемерово, 1999. – 100 с.

6. Земельман М.А. Метеорологические основы технических измерений. М.: Изд-во стандартов, 1991. – 248 с.

7. Кузнецов В.А., Ялунна Г.В. Общая метрология. – М.: ИПК Изд-во стандартов, 2001. – 272 с.

8. Новицкий П.В., Зограф И.А. Оценка погрешностей результатов измерений. – Л.: Энергоатомиздат, 1991. – 304 с.

9. Сергеев А.Г., Латышев М.В., Терегея В.В. Метрология, стандартизация, сертификация: Учебное пособие. – М.: Логос, 2001. – 536 с.

10. Шкаруба Н.Ж. Метрология: Учебное пособие. – М: МГАУ, 2007. – 132 с.