Материал: Комплекс технических эксплуатационных и наладочных мероприятий для устранения неисправности в токарном обрабатывающем центре

Внимание! Если размещение файла нарушает Ваши авторские права, то обязательно сообщите нам

2. РАЗДЕЛ ИССЛЕДОВАНИЕ СХЕМОТЕХНИКИ ЭСПУ

2.1 Разработать структурную схему ЭСПУ

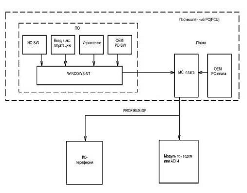
На рисунке 2.1 представлена структурная схема ЭСПУ Sinumerik 840D

Рисунок 2.1 - Структурная схема ЭСПУ Sinumerik 840D

Структурная схема схема ЭСПУ Sinumerik 840D состоит из аппаратурной и программной базы.

) Аппаратная база

Аппаратной базой для SINUMRIK 840D является промышленный ПК SIEMENS вместе с одной из разработанных Siemens плат PCI, то есть MCI (MotionControlInterface). В зависимости от варианта используемого промышленного ПК как опция может быть установлена различное количество плат OEM-PC(PCI или ISA).

Плата MCI вместе с PCU образуют аппаратную систему для SINUMERIK 840D. В плату интегрированы следующие важные компоненты:

) PLC: SIMATIKS7 CPU 315 DP;

)память SRAM для остаточных данных NC и PLC;

) MPI-интерфейс ;

) PROFIBUS-DP- интерфейс;

) интерфейс MCI-Board-Extension.

Функциональность PLC реализована на аппаратном уровне через интегрированную в плату MCI SIMATIC S7 CPU 315-2 DP. Благодаря этому достигается совместимость c субмодулем PLC SINUMERIK 840D.

Через PROFIBUS-DP с функциональностью Motion-Control (тактсинхронная или эквидистантная) модули привода и периферия I/O могут подключаться к SINUMERIK 840D как централизованно, так и децентрализованно.

В качестве приводной системы для цифровых приводов имеется модульная линейка приводов SIMODRIVE 611D

В качестве периферии I/O имеется спектр модулей SIMATIK DP ET 200(соединитель для подключения к сети PROFIBUS-DP).

Интерфейс MPI платы MCI служит для оптимального подключения дополнительных компонентов управления к примеру станочного пульта, ручного программатора или внешнего программатора(PG) для программирования или диагностики PLC.

MCI-Board-Extensionс помощью этого модуля расширения к плате MCI через кабельный распределитель могут подключаться измерительные щупы, маховички и быстрые цифровые I/O.

) Программная база

Программной базой является стандартная операционная система WINDOWS NT. Разработанный SIEMENS программный метод позволяет параллельно с WINDOWS NT использовать ПО ЭСПУ в режиме реального времени. В системное ПО интегрировано ПО NC и PLC, а также ввод в эксплуатацию и управление.

Открытая концепция системы позволяет осуществить специфические расширения посредством OEM-PC-ПО.

2.2 Разработать функциональную схему заданного субблока(модуля) с описанием назначения каждого узла

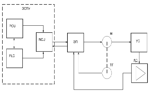
) NC -это процессор системы ЭСПУ. Главная задача NC - вычисления траектории перемещения узлов станка и выдача задания приводам (положение, скорость, момент) в соответствии с технологической программой, обработка сигналов от измерительных систем (положения узлов станка, измерительных щупов, электронных маховиков ). На рисунке 2.2 представлена функциональная схема субблока

) PLC- программируемый логический контроллер, контроллер электроавтоматики. Отдельная специализированная часть ЭСПУ управляющая различными сигналами и устройствами по заданной программе.

Рисунок 2.2 - Функциональная схема субблока

К этим сигналам и устройствам относятся различные вспомогательные устройства на станке (двигатели, муфты, реле, кнопки, датчики и т.д.), обменные сигналы между разными частями системы ЭСПУ(например, сигналы включения приводов, сигналы состояния ЭСПУ, приводов и т.д

) PCU - это промышленный компьютер. Главная задача - интерфейс человек-станок, ввод и хранение программ пользователя.

) Приводная часть - привода различаются по способу задания перемещения/скорости/момента - аналоговое, цифровое, импульсное; по способу управления аналоговое или цифровое; питанию (переменного или постоянного тока) ; по компоновке и т.д. Функции приводов могут быть тоже реализованы аппаратно по-разному. Часть функций (управление током,скоростью), как правило, реализуется в самом приводе. Функции связанные с позиционированием, как правило, реализуются в NCU. На картинке связь от датчиков обратной связи проведена и к приводам Сигналы обратной связи могут поступать от одного датчика( например, всем известный энкодер в серводвигателе), либо от двух разных. В случае двух датчиков, один из них является "прямым", т.е. устанавливается непосредственно на перемещаемом узле и используется для позиционирования(например, линейка или круговой датчик на поворотном устройстве). Другой датчик находится в моторе, и используется в контуре управления скоростью и током.

Работа заданной функциональной схемы заключается в следующем:

К примеру нужно переместить суппорт оси Z3 на 200 мм.

Параметр вводится с пульта ЭСПУ. Модуль PCU передает данные на NCU и PLC. Модуль NCU высчитывает траекторию(ось Z3) перемещения узла станка(суппорта) и выдает задание электроприводу(ЭП). Электропривод начинает управлять двигателем(Д) и тем самым обеспечивает требуемое перемещение узла станка(УС) по заданной траектории. На двигателе установлен вращательный датчик(ВД), а на суппорте установлен линейный датчик(ЛД). Оба датчика связаны с электроприводом для отслеживания скорости двигателя и траектории перемещения суппорта.

2.3 Исследовать интерфейс связи (схемный анализ)

Обмен данными между всеми элементами системы управления приводом подачи происходит через интерфейс PROFIBUS-DP. Сеть PROFIBUS может быть использована для организации обмена данными между интеллектуальными сетевыми устройствами. Сеансы связи могут устанавливаться между двумя системами автоматизации, системой автоматизации и компьютером и т.д. PROFIBUS - это мощная открытая сетевая система с коротким часом цикла, который отвечает требованиям международных стандартов.DP применяет уровни 1 и 2, а также пользовательский интерфейс.

Уровни с 3 по 7 не используются. Благодаря такой архитектуре достигается быстрая передача данных. Direct Data Link Mapper (DDLM) организует доступ к уровню 2. В основу пользовательского интерфейса положены необходимые пользовательские функции, а также системные и аппаратно-зависимые функции различных типов PROFIBUS-DP-приборов. Этот профиль протокола PROFIBUS оптимизирован для быстрого обмена данными специально для коммуникаций между системами автоматизации и децентрализованной периферией на полевом уровне.Уровни PROFIBUS Физический уровень (Layer 1) для DP/FMS (RS485).В основной версии для экранированной витой пары уровеню 1 PROFIBUS соответствует симметричная передача данных по стандарту EIA RS485 (также обозначается H2). Проводники шинных сегментов замкнуты с обеих сторон, скручены и экранированы.

Способ передачи

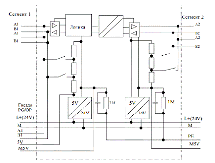
Для PROFIBUS назначен способ передачи RS485, базирующийся на полудуплексной, асинхронной синхронизации. Данные передаются внутри 11-разрядного кадра (рис. 1.4) в NRZ-коде (Non Return to Zero). Значения сигнала (биты) не изменяются во время передачи сигнала. В то время, как передача бинарного значения “1” соответствует положительному значению на проводнике RxD/TxD-P (Receive/Transmit-Data-P), напротив, на проводнике RxD/TxD-N (Receive/Transmit-Data-N) присутствует “0”. Состоянию покоя между отдельными телеграммами соответствует двоичный сигнал 1. На рисунке 2.3 представлена структура шинного сегмента RS485

Рисунок 2.3 - Структура шинного сегмента RS485

Шинные провода данных с обеих сторон замкнуты на согласованные нагрузки (рис.2.3). Благодаря этим сопротивлениям устанавливается безопасный потенциал покоя на проводах шины, когда участники не обмениваются сообщениями (потенциал покоя между телеграммами). Шинные нагрузки имеются почти во всех стандартных разъемах PROFIBUS и могут быть активизированы с помощью переключателей. Если используется шина со скоростью передачи более 1500 kBit/s, то нужно на основании потребляемой мощности подключенных участников и отраженной мощности использовать шинный штекер с дополнительной индуктивностью.

На рисунке 2.4 представлена схема шинного штекера для скорости передачи. Технологически система PROFIBUS состоит из нагруженной с двух сторон активной линии ñ шинной структуры, которая обозначается также, каксегмент шины RS-485. К шинному сегменту можно по стандарту RS-485 подключить до 32 RS-485 участников. Каждый подключенный к шине участник, Master или Slave, представляет собой токовую нагрузку. Если Вы должны подключить к системе PROFIBUS больше, чем 32 участника, то нужно использовать несколько шинных сегментов. Эти отдельные шинные сегменты, каждый максимум с 32-я участниками, должны быть соединены друг с другом через повторитель (усилитель мощности).

Рисунок 2.4 - Схема шинного штекера для скорости передачи более 1500 кБит/c

Повторитель усиливает уровень передаваемого сигнала. Согласно EN 50170 не предусмотрена временная регенерация фазы бита во время передачи сигнала через повторитель. Из-за временных задержек и искажений двоичный сигнал может согласно EN 50170 проходить максимум три повторителя, которые работают как усилители мощности и включены последовательно. На практике, однако, повторитель-соединитель реализуется как восстановитель сигнала. Число повторителей, которые можно включить последовательно, таким образом зависит от его конструкции и изготовителя. Так, например, можно последовательно включить до 9 повторителей типа 6ES7 972-0AA00-0XA0 фирмы Siemens. Принципиальная схема, изображенная на рис.2.4, поясняет свойства RS485-повторителя.

)        Шинный сегмент 1, гнездо PG/PC и шинный сегмент 2 разделены друг от друга по потенциалам.

)        Сигнал между шинным сегментом 1, гнездом PG/PC и шинным сегментом 2 усиливается.

)        Повторитель имеет для шинных сегментов 1 и 2 подключаемое сопротивление. Благодаря разделителю мосту M/PE повторитель может работать без заземления.

На рисунке 2.5 представлена принципиальная        схема         RS485

Рисунок 2.5 - Принципиальная схема RS485-репитера типа 6ES7 972-0AA00-0XA0

Только благодаря применению повторителя может быть достигнуто максимально возможное число участников в конфигурации PROFIBUS. Повторитель также представляет нагрузку для соединения RS485. Подключенный-повторитель уменьшает максимальное число участников на сегменте на 1.

Это значит, что если на шинном сегменте находится повторитель, то можно на этот сегмент подключить максимум 31 участника. Число повторителей в общей шинной конфигурации не влияет на максимальное число участников (повторитель не занимает логического шинного адреса).

В сети Profibus для доступа ведущих устройств к сети используется метод передачи маркера . В этом методе сеть имеет логическую топологию кольца (т. е. кольца на уровне адресов устройств) и каждое ведущее устройство получает доступ к сети только при получении маркера. Маркер выполняет роль арбитра, который предоставляет устройству право доступа. По истечении определенного времени это устройство должно передать маркер следующему ведущему устройству, которое получает доступ также на время, пока маркер находится у него. Таким образом, каждому ведущему устройству выделяется точно заданный интервал времени. Этот интервал может быть установлен при конфигурировании системы. На рисунке 2.6 представлен принцип работы многомастерной сети.

Рисунок 2.6 - Принцип работы многомастерной сети

Каждому мастеру в сети назначаются свои ведомые устройства. В методе "ведущий/ведомый" процедуру коммуникации с ведомыми устройствами выполняет мастер, который обладает маркером. На время обладания маркером мастер становится ведущим также по отношению к другим мастерам, т.е. может выполнять с ними коммуникацию типа "мастер-мастер".имеет также широковещательный режим работы, когда ведущее устройство посылает сообщение "всем", не ожидая уведомления о получении, и многоабонентский режим, когда ведущее устройство посылает одно и то же сообщение сразу нескольким участникам сети.

В задачи объекта MAC активного устройства (получившего маркер) входит обнаружение наличия или отсутствия маркера сразу после начала работы сети, передача маркера следующему устройству в порядке возрастания адресов, удаление адресов вышедших из строя или выключенных устройств и добавление новых, восстановление потерянного маркера, устранение дубликатов маркеров, устранение дублирования сетевых адресов и обеспечение заданного периода обращения маркера по сети.

Коммуникация между SINUMERIK 840D (ЭСПУ и PLC) в качестве Master (мастер)и компонентами Slave( ведомый) через PROFIBUS-DPcс расширением Motion Control

Расширение Motion Control характеризуется:

)        Проектируемыми эквидистантными циклами DP;

)        Синхронизацией DP-Slave через DP-Master через телеграмму Global Control в каждом такте DP;

)        Автоматическим поддержанием внутреннего такта через DP-Slave.

При кратко временном обрыве коммуникации.

Описание цикла DP

)        Фактические значения - на момент времени Т1 считываются актуальные фактические значения положения со всех эквидистантных приводов(DP-Slave). В следующем цикле DP во время Tdx фактические значения передаются на DP-Master

)        Регулятор положения - на момент времени Tmпри Tm>Tdx запускается регулятор положения ЭСПУ и вычисляет с помощью переданных фактических значений положения новые заданные значения числа оборотов.

)        Заданные значения - в начале следующего цикла DP во время Tdx заданные значения числа оборотов передаются с DP-Master на DP-Slave(приводы).

На момент времени T0 заданные значения числа оборотов для всех управлений приводов принимаются как новые заданные значения. На рисунке 2.7 представлен оптимизированный цикл DP

Рисунок 2.7 - Оптимизированный цикл DP

Пояснение к рисунку 2.7:

Tmarc - Master-Application-Cycle: такт регулятора положения ЭСПУ у SINUMERIK 840D всегда Tmarc=Tdp.

Tdp -DP-Cycle-Time:время цикла DP.- Data Exchange-Time: сумма времен передачи всехDP-Slave. Tm -

Tm - Master-Time: смещение момента старта управления положения ЭСПУ.

Ti -Input-Time: момент регистрации фактического значения. Фактические значения при следующем цикле DPпередаются на DP-Master.

To-Output-Time: момент приема заданного значения. Заданные значения были созданы приложением DP-Master в предыдущем цикле DP.

GC -ТелеграммаGlobal-Control(телеграммаBroadcast) для циклической синхронизации эквидистанты между DP-Masterи DP-Slave.

R - Время вычисления регулятора числа оборотов или положения.

Dx - Обмен полезными данными между DP-Master и DP-Slave.

DPV1 -После циклической коммуникации отправляется ациклическая служба если время удерживания маркера Tth вычисляется системой проектирования.

GAP - При GAPпредпринимается попытка записи новых активных участников.

TOKEN - Дальнейшая передача маркера осуществляется себе самому или на другие Master.

RES - Этот резерв используется как активная пауза для отправки маркера себе самому до истечения эквидистантного цикла.

- Фактические значения для актуального цикла DP/ такта регулятора положения передаются с приводов DP-Slaveна регулятор положения ЭСПУ.

- Вычисления регулятором положения ЭСПУ заданные значения передаются на приводы DP-Slave.

2.4 Разработать принципиальную схему субблока (модуля) ( или схему подключения)

Модуль представляет собой двигатель с датчиком вращения, суппорт , линейный датчик, который установлен на суппорте и отслеживает его перемещение. Принцип работы заключается в следующем силовой модуль и плата управления представляют собой приводной модуль электропривода. Через силовой модуль подается трехфазный переменный ток с напряжением 380 В через 3 фазных провода U,V,W. PE, GNYE - это защитные проводники, которые служат для обеспечения защиты от удара электрическим током. Двигатель начинает вращать вал и перемещать суппорт станка по заданной оси. За перемещением суппорта следит датчик линейного перемещения, который непосредственно установлен на суппорте.