Материал: fizika (1)

Внимание! Если размещение файла нарушает Ваши авторские права, то обязательно сообщите нам

2. Тепловое излучение. Понятие абсолютно черного тела, серого тела. Закон Стефана-Больцмана, закон излучения Кирхгоффа. Закон смещения Вина. Формула Планка для излучения абсолютно черного тела.

Тепловое излучение — передача энергии от одних тел к другим в виде электромагнитных волн, излучаемых телами за счет их внутренней энергии.

Имеет сплошной спектр, расположение и интенсивность максимума которых зависит от температуры тела.

Энергетическая светимость Rэ — поток энергии, испускаемый единицей поверхности излучающего тела в единицу времени во всех направлениях.

Абсолютно черное тело — тело, способное поглощать все излучение, попадающее на него, поглощательная способность которого = 1. Серое тело < 1. (поглощенная энергия на всю).

Закон излучения Кирхгофа

Отношение лучеиспускательной к поглощательной способности не зависит от природы тела, оно является для всех тел одной и той же (универсальной) функцией частоты и температуры. , где f(ω,T) — универсальная функция Кирхгофа.

Для абсолютно черного тела функция Кирхгофа есть лучеиспускательная способность абсолютно черного тела.

Следствие: испускательная способность любого тела меньше испускательной способности абсолютно черного тела при той же температуре. Если тело не поглощает каких-либо волн, то они и не испускает их.

Спектр излучения абсолютно черного тела имеет сплошной характер.

Излучательная способность более резко уменьшается в сторону коротких волн, чем в сторону длинных.

С повышением температуры максимум излучательной способности смещается в сторону более коротких волн.

З акон Стефана-Больцмана.

— постоянная Больцмана, T — абсолютная температура.

Соотношение между энергетической светимостью абсолютно черного тела и его абсолютной температурой.

Закон Стефана-Больцмана утверждает, что излучательность абсолютно черного тела прямо пропорциональна четвертой степени его термодинамической температуры.

Закон смещения Вина.

Длина волны лямбдаmax, при которой излучательная способность rлямбда,T черного тела максимальна, обратна пропорциональна его термодинамической температуре.

, где b=2,9·10-3 м·К — постоянная закона смещения Вина.

Закон смещения Вина показывает, что при повышении температуры длина волны лямбдаmax, на которую приходится максимум спектральной плотности излучательности тела, смещается в область коротких длин волн.

С ростом температуры максимум лучеиспускательной способности абсолютно черного тела смещается в область коротких длин волн.

Планк предположил: испускание света происходит в виде отдельных порций энергии (квантов), пропорциональных частоте света: , где E — энергия кванта света, h = 6,63·10-34Дж·с — постоянная Планка, ню и лямбда — частота и длина волны излучения, c = 3·108 м/с — скорость света в вакууме.

Формула Планка:

выражение для универсальной функции

, где k — постоянная Больцмана, T — термодинамическая температура, c — скорость света

Формула Планка объяснила законы излучения абсолютно черного тела. Из формулы Планка, зная универсальные постоянные h, k и c, можно вычислить постоянную Стефана-Больцмана σ и Вина b. С другой стороны, зная экспериментальные значения σ и b, можно вычислить h и k (так было найдено числовое значение постоянной Планка).

Формула Планка является полным решением задачи теплового излучения.

7. 1. Момент импульса в квантовой механике, оператор момента импульса, проекция момента импульса. Опыт Штерна-Герлаха, спин электрона.

Момент импульса в квантовой механике

Оператор момента импульса

Проекция момента импульса

Спин электрона

При изучении спектра атома водорода обнаружили, что они имеют дуплетную структуру (каждая спектральная линия расщеплена на две полосы). Для объяснения расщепления уровней Гаудсмит и Уленбек выдвинули в 1925 г. Гипотезу о том, что электрон обладает собственным моментом импульса Ms, не связанным с движением электрона в пространстве. Этот собственный момент был назван спином.

О пыт Штерна-Герлаха

Наличие у атомов магнитных моментов и их квантование было доказано экспериментально Штерном и Герлахом в 1921. Целью их опытов было измерение магнитных моментов Pm атомов различных элементов. Для элементов, образующих первую группу периодической таблицы и имеющих один валентный электрон, магнитный момент атома равен магнитному моменту валентного электрона, т.е. одного электрона.

Момент импульса электрона, связанный с механическим движением электрона, неизбежно приводит к наличию у атомов магнитного момента. Поэтому, если квантуется момент импульса, то также квантуется и магнитный момент.

В опытах Ш-Г пучок атомов пропускался через сильно неоднородное магнитное поле полюсных наконечников электромагнита специальной формы. В этом случае на пучок атомов должна действовать отклоняющая сила, пропорциональная магнитному моменту и, значит, механическому моменту импульса.

При хаотическом распределении магнитных моментов в пучке атомов предполагалось, что узкий пучок атомов после прохождения между полюсами магнитов образует на экране сплошной растянутый след. НО вместо сплошного растянутого следа получались резкие отдельные линии, расположенные симметрично относительно следа пучка, полученного в отсутствие поля. Это можно было объяснить только квантованием момента импульса.

Для объяснения этого результата Гаудсмит и Уленбек выдвинули предположение, что электрон имеет собственный механический и связанный с ним магнитный момент. Этот собственный момент импульса назвали спином электрона.

Спин — существенно квантовая величина, не имеющая классического аналога. Спин характеризует внутреннее свойство электрона (как масса и заряд). Спин определяется по общим законам квантовой теории. Является кватновым и релятивистским свойством.

Величина собственного момента импульса электрона определяется спиновым квантовым числом.

s=1/2 (протон, нейтрон, электрон).

2. Ускорители элементарных частиц (линейные, циклические), цели их использования. Особенности циклотронных, фазотронных, синхротронных ускорителей. Коллайдеры, принцип действия, способы удержания частиц внутри ускорителя. Большой Адронный коллайдер, цели его построения и использования.

Ускори́тель заря́женных части́ц — класс устройств для получения заряженных частиц (элементарныхчастиц, ионов) высоких энергий. Современные ускорители, подчас, являются огромными дорогостоящимикомплексами, которые не может позволить себе даже крупное государство. К примеру, Большой адронныйколлайдер в ЦЕРНе, представляет собой кольцо периметром 27 километров.

В основе работы ускорителя заложено взаимодействие заряженных частиц с электрическим и магнитнымполями. Электрическое поле способно напрямую совершать работу над частицей, то есть увеличивать еёэнергию. Магнитное же поле, создавая силу Лоренца, лишь отклоняет частицу, не изменяя её энергии, изадаёт орбиту, по которой движутся частицы.

Ускорители можно принципиально разделить на две большие группы. Это линейные ускорители, где пучокчастиц однократно проходит ускоряющие промежутки, и циклические ускорители, в которых пучки движутсяпо замкнутым кривым типа окружностей, проходя ускоряющие промежутки по многу раз. Можно такжеклассифицировать ускорители по назначению: коллайдеры, источники нейтронов, бустеры, источникисинхротронного излучения, установки для терапии рака, промышленные ускорители.

Линейный ускоритель

Также часто называется ли́нак (сокращение от LINear ACcelerator). Ускоритель, в котором частицы пролетаютоднократно. Линейные ускорители чаще всего используются для первичного ускорения частиц, полученных сэлектронной пушки или источника ионов. Однако, идея линейного коллайдера на полную энергию также ненова. Основным преимуществом линаков является возможность получения ультрамалых эмиттансов иотсутствие потерь энергии на излучение, которые растут пропорционально четвёртой степени (!) энергиичастиц.

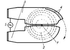
Ц иклотрон

Устройство циклотрона. 1— место поступлениячастиц, 2 — траектория ихдвижения, 3 — электроды, 4 — источник переменногонапряжения. Магнитноеполе направленоперпендикулярноплоскости рисунка.

Идея циклотрона проста. Между двумя полукруглыми полыми электродами, т. н. дуантами, приложенопеременное электрическое напряжение. Дуанты помещены между полюсами электромагнита, создающегопостоянное магнитное поле. Частица, вращаясь по окружности в магнитном поле, ускоряется на каждомобороте электрическим полем в щели между дуантами. Для этого необходимо, чтобы частота измененияполярности напряжения на дуантах была равна частоте обращения частицы. Иными словами, циклотронявляется резонансным ускорителем. Понятно, что с увеличением энергии, на каждом обороте, радиустраектории частицы будет увеличиваться, пока она не выйдет за пределы дуантов.

Циклотрон — первый из циклических ускорителей. Впервые был разработан и построен в 1931 годуЛоуренсом, за что ему была присуждена Нобелевская премия в 1939 году. До сих пор циклотроныприменяются для ускорения тяжёлых частиц до относительно небольших энергий, до 50МэВ/нуклон.

Циклотрон – циклический резонансный ускоритель тяжелых частиц (протонов, ионов). Принципиальная схема циклотрона приведена на рисунке

Между полюсами сильного электромагнита помещается вакуумная камера, в которой находятся два электрода в виде полых металлических полуцилиндров, или дуантов (3). К дуантам приложено переменное электрическое поле (5). Магнитное поле, создаваемое электромагнитом, однородно и перпендикулярно плоскости дуантов.

Если заряженную частицу ввести в центр зазора (1) между дуантами, то она, ускоряемая электрическим и отклоняемая магнитным полями, войдет в дуант и опишет полуокружность, радиус которой пропорционален скорости частицы. К моменту ее выхода из первого дуанта полярность напряжения изменяется (при соответствующем подборе изменения напряжения между дуантами), поэтому частица вновь ускоряется и, переходя во второй дуант, описывает там полуокружность уже большего радиуса (2) и т.д.

Для непрерывного ускорения частицы в циклотроне необходимо выполнять условие синхронизма (условие «резонанса») – периоды вращения частицы в магнитном поле и колебаний электрического поля должны быть равны. При выполнении этого условия частица будет двигаться по раскручивающейся спирали, получая при каждом прохождении через зазор дополнительную энергию. На последнем витке, когда энергия частиц и радиус орбиты доведены до максимально допустимых значений, пучок частиц посредством отклоняющего электрического поля выводится из циклотрона (4).

В циклотронах заряженная частица с зарядом q и массой m ускоряется до скоростей, при которых релятивистский эффект увеличения массы частицы практически не проявляется. Период обращения частицы

.

Радиус траектории частицы

Циклотроны позволяют ускорять протоны до энергий примерно 20 МэВ. Дальнейшее их ускорение в циклотроне ограничивается релятивистским возрастанием массы со скоростью, что приводит к увеличению периода обращения (он пропорционален массе) и синхронизм нарушается. Поэтому циклотрон совершенно неприменим для ускорения электронов (при Е = 0,5 МэВ, m = 2m0, при Е = 10 МэВ m = 28m0).

Ускорение релятивистских частиц в циклических ускорителях можно, однако, осуществить, если применять предложенный в 1944 г. советским физиком В. И. Векслером (1907–1966) и в 1945 г. американским физиком Э. Мак–Милланом (1907–1991) принцип автофазировки. Его идея заключается в том, что для компенсации увеличения периода вращения частиц, ве­дущего к нарушению синхронизма, изменяют либо частоту ускоряющего электрического, либо индукцию магнитного полей, либо то и другое. Принцип автофазировки используется в фазотроне, синхротроне и синхрофазотроне.

Фазотрон, синхроциклотрон — циклический ускоритель тяжёлых заряженных частиц (протонов, дейтронов, ионов и др.), в котором магнитное поле однородно и постоянно во времени, а частота ускоряющегоэлектрического поля меняется.

В физике высоких энергий этот тип ускорителей считается устаревшим, однако он все ещё используется, например, в медицине[1].

Принцип действия

В своих основных чертах принцип действия и устройство синхроциклотрона те же, что и у циклотрона. Отличием является компенсация эффекта релятивистского запаздывания[2] путём соответствующегоснижения частоты ускоряющего поля.

Синхроциклотрон функционирует в режиме повторяющихся с определённой частотой интервалов ускорения. Частота ускоряющего электрического поля в рабочей части каждого интервала падает в соответствии сэнергией частиц, а в конце интервала возвращается к своему начальному значению.

Данный принцип отражён в названии ускорителя — синхроциклотрон.

Фазотрон (синхроциклотрон) – циклический резонансный ускоритель тяжелых заряженных частиц (например, про­тонов, ионов, α-частиц), в котором управляющее магнитное поле постоянно, а частота ускоряющего электрического поля медленно изменяется с периодом. Движение частиц в фазотроне, как и в циклотроне, происходит по раскручивающейся спирали. Частицы в фазотроне ускоряются до энергий примерно равных 1 ГэВ (ограничения здесь определяются размерами фазотрона, так как с ростом скорости частиц растет радиус их орбиты).

Синхротро́н (от др.-греч. σύγχρονος — одновременный) — один из типов резонансных циклическихускорителей. Характеризуется тем, что в процессе ускорения частиц, орбита пучка остаётся постоянногорадиуса, а ведущее магнитное поле поворотных магнитов, определяющее этот радиус, возрастает. Крометого, остаётся постоянной частота ускоряющего электрического поля (в отличие от синхрофазотрона). Понятно, что для пучков ультрарелятивистских частиц период обращения определяется только длинойорбиты, и коль скоро она не изменяется, то нет необходимости изменять частоту электрического поля. Поэтому все резонансные циклические ускорители лёгких частиц (электронов и позитронов), а такжевысокоэнергетические протонные и ионные машины, такие как LHC и Тэватрон — это синхротроны. Всинхротроне достигнуты энергии около 3.5 ТэВ для протонов (LHC) и более 100 ГэВ для электронов (LEP). Дальнейшее повышение энергии в электронных синхротронах, фактически, нереально вследствие огромныхпотерь энергии на излучение W~E4/R.

Принципиальное устройство синхротрона

Синхротрон представляет собой электровакуумную установку с приблизительно кольцевой вакуумнойкамерой, в которой частицы ускоряются до скорости, близкой к скорости света, а стоящие на их пути мощныеэлектромагниты задают их движения. В вакуумной камере постоянно поддерживается высокий вакуум(порядка Торр и выше), чтобы избежать рассеяния частиц пучка на атомах остаточного газа. Синхротрон действует по резонансному принципу ускорения, то есть циркулирующий сгусток частиц попадаетв ускоряющее поле ВЧ-резонатора всегда в одной и той же фазе, и частицы получают небольшую порциюэнергии, много меньшую, чем уже имеющаяся у них кинетическая энергия. Ускорение частиц происходит засчёт многократного пролёта (~106 раз в секунду) через ускоряющую секцию.

С инхротрон – циклический резонансный ускоритель ультрарелятивистских электронов, в котором управляющее магнитное поле изменяется во времени, а частота ускоряющего электрического поля постоянна. На рисунке 4.3 схематически изображен синхротрон: 1 – инжектор электронов; 2 – поворотный магнит; 3 – пучек электронов; 4 – управляющий электромагнит; 5 – вакуумная тороидальная камера; 6 – ускоряющий промежуток.

Внешний вид Томского синхротрона на 1,5 ГэВ представлен на рисунке 4.4. Электроны в разных синхротронах ускоряются до энергий 5 – 10 ГэВ.

Б ольшой адронный коллайдер на сегодняшний день самый мощный и самый дорогой ускоритель в мире. Он представляет собой кольцо длиной почти в 27 километров. Он же ускоритель на встречных пучках. Экспериментальная установка, задача которого — изучение процессов столкновения частиц высоких энергий. Цель, с которой строятся ускорители, изучение внутреннего строения протонов и нейтронов из которых состоят ядра всех атомов, и выяснение глубинных физических законов материального мира, как в микро, так и макромасштабах. От внутреннего строения протона и нейтрона и строения частиц, из которых они состоят, до законов развития всей вселенной, от её зарождения до настоящего времени и в будущее на столько на сколько корректно интерполировать современные знания.