Материал: Эффект фотонной лавины в кристаллах и наноструктурах. Монография (Перлин), 2007, c.120

Внимание! Если размещение файла нарушает Ваши авторские права, то обязательно сообщите нам

Рис. 2.4. Зависимости квазиравновесных концентраций носителей в подзонах

от интенсивности накачки (пояснения в тексте)

На рис. 2.4 приведены зависимости квазиравновесных заселенностей подзон 1, 2 и 3 от интенсивности накачки. Использованы те же значения параметров, что и для кривых на рис. 2.3. Видно, что имеется пороговое значение интенсивности j = jth, вблизи которого происходит резкое возрастание n2 и n3 и, соответственно, резкое уменьшение n1. В данном случае jth 0.45 МВт/см2. Величина jth не зависит от сечения поглощения на переходах между подзонами 1 и 2, так же, как и значения ni(j) при j > jth. Это иллюстрируется рис. 2.5, где приведены зависимости n2(j) при четырех

различных значениях σ12 от 3 107 до 3 101 см2/(пс МВт). При этом крутизна изменения величин ni (j) вблизи jth резко увеличивается, а значения

этих величин в области ниже порога j < jth быстро падают с уменьшением

σ12.

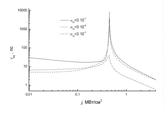
На рис. 2.6 изображены зависимости времени установления квазиравновесного распределения электронов τeq от интенсивности накачки j при различных значениях σ12. Видно, что вблизи j = jth величины τeq резко

возрастают, причем и этот эффект сильнее выражен при малых σ12, когда τeq вблизи пороговой интенсивности увеличиваются почти на три порядка.

Из представленных выше результатов следует, что благодаря эффекту фотонной лавины в легированных квантовых ямах можно за времена ~

28

1÷100 пс переключить материал из состояния I в состояние II. В состоянии I практически все электроны находятся в нижней подзоне, длинноволновый свет поглощается слабо. В состоянии II электроны заселяют вторую и третью подзоны, а в нижней подзоне их концентрация мала, так что возникает инверсия заселенностей между подзонами 2 и 1, а также 3 и 1. Поглощение света в состоянии II резко возрастает. Если симметрия квантовой ямы такова, что переходы между подзонами 3 и 1 разрешены, то на этих переходах возможна фотолюминесценция с длиной волны, меньшей, чем у возбуждающего света.

Рис. 2.5. Зависимости концентрации носителей в подзоне 2 от интенсивности

накачки при различных значениях сечения поглощения света σ12 на переходах между 1-й и 2-й подзонами; значения σ12 на рис. даются в единицах

см2/(МВт пс) (пояснения в тексте)

Плотность энергии Esw, которую нужно затратить для переключения, оказывается очень малой Esw~10÷100 фДж/мкм2, что на 67 порядков ниже аналогичной величины для систем с примесными редкоземельными ионами (см. гл. 1).

Особый интерес представляет эффект фотонной лавины в системах с глубокими квантовыми ямами, где переходы идут в ближнем инфракрасном диапазоне. В качестве примера можно привести систему SrS/CdSe с зонной структурой типа I, где глубина ямы для электронов составляет

Ec=1.56 эВ [56]. При ширине ямы 2a = 3 нм E30 - E20 0.67 эВ, а E20

29

E10 0.41 эВ. Другим примером является система InGaAs/AlAsSb с зонной структурой типа II [57, 58], где глубина ямы для электронов Ec=1.74 эВ. В работе [57] наблюдались межподзонные переходы с энергией кванта 0.52 эВ. В [59] сообщается о наблюдении межподзонных переходов с длиной волны 1.26 мкм (0.98 эВ) в системе In0.3Ga0.7As/AlAs. Ширины ям, легированных кремнием до 1.4 1019 см-3, составляли 5 монослоев. Повидимому, в таких ямах за счет увеличения времен межподзонной релаксации электронов, можно получить значения пороговых интенсивностей jth, по крайней мере, на порядок меньшие, чем получаются в приведенных выше расчетах.

Рис. 2.6. Зависимости времен τeq установления квазиравновесного распреде-

ления электронов по подзонам от интенсивности накачки j при различных зна-

чениях σ12

Рассмотренная в работе схема фотонной лавины в квантовой яме может быть расширена за счет включения фотопереходов между подзоной 3 и надбарьерными состояниями непрерывного спектра, а также одноили многофотонных переходов между валентной зоной и нижней подзоной размерного квантования в яме для электронов. В этом случае требуется также учесть захват квантовыми ямами электронов из состояний непрерывного спектра. Кроме того, в такой схеме не обязательно легирование квантовой ямы, т.к. «затравочные» электроны для формирования фотонной лавины поступают в квантовую яму из валентной зоны. Анализ такой расширенной схемы фотонной лавины, в рамках которой возможно возникновение фотопроводимости в направлении оси роста наноструктуры, будет дан в следующей главе.

30

ГЛАВА 3. КАСКАДНО-ЛАВИННАЯ АПКОНВЕРСИЯ И ГЕНЕРАЦИЯ НЕРАВНОВЕСНЫХ ЭЛЕКТРОН-ДЫРОЧНЫХ ПАР В ГЕТЕРОСТРУКТУРАХ ТИПОВ II И I С КВАНТОВЫМИ ЯМАМИ

§ 3.1. Схема каскадно-лавинной апконверсии в квантовых ямах типа II

Предлагаемые в этой главе схемы фотонной лавины в системах с квантовыми ямами типов II и I существенно отличаются от рассмотренной в главе 2 и позволяют при умеренных интенсивностях накачки получить люминесценцию с длиной волны в 3-5 раз большей, чем у возбуждающего света. При этом энергия переключения Esw ~ 1÷10 пДж/мкм2, т.е. на 4-5 поряд-

ков ниже, чем в системе примесных редкоземельных ионов. Заметим, что строгое рассмотрение предложенной схемы сопряжено с весьма значительными трудностями. Тем не менее, есть основания рассчитывать на то, что в рамках принятого в нашем рассмотрении упрощенного подхода удается получить качественную картину процесса, основные особенности которой сохранятся и при более детальном анализе.

Процессы генерации сильным низкочастотным светом неравновесных электрон-дырочных пар в полупроводниках и диэлектриках изучены достаточно подробно (см., например, [60]). К числу этих процессов относятся межзонное туннелирование в сильном электромагнитном поле, многофотонные межзонные переходы, каскадные переходы через локальные уровни в запрещенной зоне и лавинная генерация пар. В случае лавинного механизма свободные носители (электроны или дырки) должны обладать кинетической энергией, достаточной для рождения новой электрондырочной пары. Приобрести такую энергию они могут в поле лишь очень сильной электромагнитной волны за счет каскада непрямых внутризонных переходов, вероятности которых быстро убывают с ростом частоты света ω. Промежуточное положение между «обычной» многофотонной и лавинной генерацией электрон-дырочной пары занимают многофотонные процессы оже-типа [21, 22, 25], о которых говорилось в § 1.3. В этом случае основная часть энергии, необходимой для рождения электрон-дырочной пары, поступает за счет поглощения нескольких фотонов, и лишь остаток – за счет малой по сравнению с шириной запрещенной зоны Eg кинетической энергии разогретого светом свободного электрона или дырки. Для всех перечисленных выше процессов генерация сколько-нибудь значительного

количества электрон-дырочных пар с энергией, большей 3hω, оказывается возможной лишь при интенсивностях света j t 109 Вт/см2. Сказанное относится и к многофотонной генерации электрон-дырочных пар в системах с квантовыми ямами, хотя в таких системах скорость генерации убывает с ростом числа фотонов, участвующих в элементарном акте перехода, медленнее, чем в объемных материалах [61]. Мы здесь исключаем из рассмотрения излучение дальнего инфракрасного диапазона, для которого в ряде

31

случаев достаточно большими оказываются вероятности переходов с участием большого числа фотонов [62-67], и считаем, что частота света ω велика по сравнению энергиями колебательных возбуждений кристалла.

В данной главе фактически предлагается принципиально новый и исключительно эффективный механизм, позволяющий генерировать большое число неравновесных электрон-дырочных пар с энергией возбуждения ~35 hω при умеренных интенсивностях длинноволнового света j ~ 104 ÷106 Вт/см2.

Рис. 3.1. Схема переходов в квантовой яме типа II при каскадно-лавинной апконверсии. Вертикальные волнистые линии со стрелками обозначают оптические переходы, сплошные линии со стрелками – оже-переходы 3v →11, а пунктирные линии со стрелками – оже-переходы 31 →22

Рассмотрим гетероструктуру с зонной схемой типа II, состоящую из компонент A и B (cм. рис. 3.1). Область с шириной 2a, занимаемая компонентой А гетероструктуры (область A), является прямоугольной ямой для электронов с глубиной Uс и прямоугольным барьером для дырок высотой Uv. Считаем, что глубина ямы Uс достаточно велика (~1,52 эВ). Вне указанной области находится компонента B (область B). Как и в главе 2, считаем, что в яме для электронов имеются три подзоны размерного кванто-

вания и что энергетические зазоры между подзонами hωij велики по сравнению с T. Предполагается также, что ω32 > ω21, а частота падающего света

32