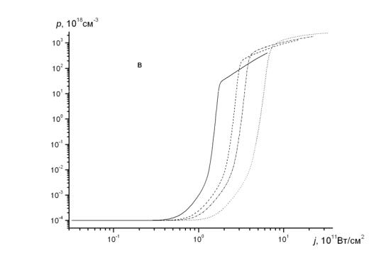
Рис. 5.7. Зависимости концентраций электронов в зонах c (а), c1 (б) и дырок в зоне (в), возникших в результате действия импульсов с продолжительностями 1 пс (сплошная линия), 5 пс (штриховая линия), 10 пс (штрих-пунктирная линия) и 50 пс (пунктирная линия), от интенсивности света j
Для случая l = 3 эффект многофотонной лавины отчетливо проявляется лишь при достаточно продолжительных импульсах лазерного излучения (τp t 100 пс). На рис. 5.8 (а, б, в) сплошными линиями даются зависимости квазиравновесных концентраций электронов и дырок от интенсивности света. На этих же рисунках штриховыми линиями показаны те же зависимости без учета двухфотонных процессов оже-типа. На рис.5.8 (г) дается зависимость времени установления квазиравновесных населенностей τeq от интенсивностей. Видно, что увеличение концентрации неравновесных носителей за счет эффекта многофотонной лавины в этом случае более слабое, чем при l = 2.
88
89
Рис. 5.8. Сплошные линии – зависимости квазиравновесных концентраций электронов в зонах c (a), c1 (б), дырок в зоне v (в) и времени установления квазиравновесных концентраций (г) от интенсивности света для случая l = 3; штриховые линии (а, б, в) – те же зависимости, рассчитанные без учета процесса c1 + 2hω → ccv ; в расчетах использовались следующие значения параметров:
Eg′ = 3.45 эВ, Wc1c = 0.01 пc-1, dc = 1.0 10-3 (значения остальных параметров см. в подписи к рис. 5.6)
90
§ 5.6. Обсуждение результатов по эффекту многофотонной лавины
Исключительная сложность задачи о многофотонной лавине потребовала весьма упрощенного подхода к ее решению. Отметим некоторые из факторов, которые могут в большей или меньшей степени повлиять на результаты проведенного анализа.
1.Хотя почти во всех материалах с широкой запрещенной зоной имеются зоны проводимости (или валентные зоны), зазоры между которыми и нижней зоной проводимости (верхней валентной зоной) малы по сравнению с
Eg, рассматриваемая в работе трехзонная модель энергетического спектра является явно идеализированной. При рассмотрении реальных зонных структур тех или иных конкретных материалов, вероятно, потребуется включение в модель дополнительных фотопереходов, в частности, междолинных внутризонных переходов и непрямых многофотонных межзонных переходов.
2.Несмотря на то, что свет с hω ~ 1 эВ испытывает относительно слабое внутризонное поглощение, а времена внутризонной релаксации носителей малы (см. § 5.1), требуется, вообще говоря, одновременное рассмотрение внутри- и межзонной динамики носителей в поле интенсивного излучения. В этом случае, строго говоря, система уравнений баланса для концентраций носителей в зонах не является вполне адекватной. В то же время представляется мало обозримым строгое рассмотрение динамики носителей с учетом всех переходов, существенных для задачи о многофотонной лавине.
3.В принципе, важную роль для проблемы пробоя может играть перестройка энергетического зонного спектра кристалла в поле сильной световой волны при наличии многофотонных резонансов в различных точках k- пространства (см., например, [69, 70, 104-110]). Здесь могут быть эффекты двух типов. Во-первых, зонный спектр может измениться таким образом, что там, где в случае слабых полей были возможны, скажем, четырехфотонные межзонные переходы, в сильном поле могут пойти трехфотонные переходы, вероятности которых обычно существенно выше. Во-вторых, как показано в [107-110], в поле сильной электромагнитной волны могут появиться новые критические точки (сингулярности Ван-Хова) в плотности электронных состояний. Поскольку положения этих дополнительных критических точек зависят от интенсивности света j, при определенных условиях могут появиться области интенсивностей, где скорость генерации электрон-дырочных пар резко возрастает при небольшом увеличении j, что может привести к скачкообразному росту концентрации свободных носителей и пробою материала. Однако, несмотря на несомненную важность эффектов перестройки зонного спектра, рассмотрение их одновременно с процессами многофотонной лавины представляется пока преждевременным в силу сложности соответствующих расчетов и недостаточной прозрачности результатов. Пока мы ограничились рассмотрением много-
91
фотонной лавины в предположении, что эффекты перестройки спектра несущественны.
4.При интенсивностях света j ~ 1010-1012 Вт/см2 на вероятности переходов могут заметно влиять процессы переизлучения фотонов. Эффекты переизлучения могут быть сравнительно просто учтены в вероятностях прямых многофотонных межзонных переходов (см. [62-67]), однако при вычислении сечений многофотонных процессов оже-типа учесть их скольконибудь обоснованным образом и получить при этом обозримый результат не представляется возможным. Тем не менее, нет оснований считать, что процессы переизлучения могут критическим образом повлиять на эффект многофотонной лавины.
5.Следует иметь в виду, что проведенный в работе анализ относится к случаю импульсов с длительностями, превышающими характерные времена релаксации импульса неравновесных носителей. Для описания генерации неравновесных электрон-дырочных пар импульсами света с длитель-
ностями τp d 100 фс требуется принципиально иной подход (см., например, [70]), который не может быть основан на уравнениях баланса типа (5.26).
С учетом сказанного выше картина предпробойной генерации неравновесных электрон-дырочных пар может быть уточнена и дополнена. Тем не менее, полученные в работе результаты показывают, что при высоких интенсивностях света механизм многофотонной лавины может оказаться значительно эффективнее «обычного» межзонного многофотонного поглощения. Можно заключить, что в настоящей главе предложен новый механизм предпробойной генерации неравновесных электрон-дырочных пар в широкозонных диэлектриках и полупроводниках мощным светом диапазона 1 мкм. Этот механизм основан на эффекте многофотонной лавины. В рамках трехзонной модели электронного энергетического спектра кристалла были вычислены вероятности прямых межзонных многофотонных переходов и многофотонных межзонных переходов с участием свободных носителей. Была составлена система нелинейных уравнения баланса населенностей носителей в зонах. Проведенное численное решение данной системы показало, что зависимости населенностей от интенсивности света носят пороговый характер. Для различных материалов и длительностей импульсов накачки пороговые интенсивности могут принимать значения в
диапазоне 1010 −1012 Вт
см2 . Времена установления квазиравновесных за-
селённостей зон резко увеличиваются при интенсивностях накачки, близких к пороговым. При интенсивностях, превышающих пороговые значения, предложенный механизм позволяет получать большее количество электрон-дырочных пар, чем «обычное» многофотонное поглощение. При воздействии на материал мощных пикосекундных световых импульсов механизм фотонной лавины может обеспечить концентрацию неравновесных электронов и дырок, достаточную для пробоя материала.
92